Theo Công báo Sở hữu Công nghiệp của tháng 1/2021, nhà sản xuất ôtô Nhật Bản đã đăng ký thành công bằng độc quyền kiểu dáng công nghiệp cho một mẫu xe mới tại Việt Nam. Trong công báo, Toyota đã nộp đơn đăng ký kiểu dáng công nghiệp cho mẫu xe này vào ngày 13/3/2019 và đến ngày 25/1/2021, bằng sở hữu độc quyền được công bố.
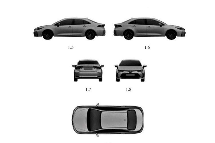
Qua hình dáng bên ngoài, có thể thấy đây là mẫu Toyota Corolla Altis thế hệ mới, ngoại thất giống hệt phiên bản được giới thiệu vào tháng 9/2019 tại Thái Lan, cũng như mẫu Corolla ra mắt toàn cầu cách đó khoảng 1 năm.
 |
| Toyota đã nộp đơn đăng ký kiểu dáng công nghiệp cho mẫu xe Corolla Altis vào ngày 13/3/2019 và đến ngày 25/1/2021. |
Thông qua hình ảnh phác hoạ, thiết kế phần đầu xe Toyota Corolla Altis 2021 mới thay đổi khá nhiều so với thế hệ hiện tại đáng bán trên thị trường. Trong đó, chi tiết cụm đèn pha được vuốt lại trở nên sắc nét và sắc sảo hơn. Một dải crôm nhỏ nối giữa hai cụm đèn và logo Toyota ở giữa.
Lưới tản nhiệt tách biệt khỏi cụm đèn pha có kiểu dáng đa giác kết hợp là các thanh nan mạ crôm xếp thành từng bậc. Hai đèn sương mù cũng được đặt ở mép đầu xe, trong phần hốc nổi bật.
 |
| Thông qua hình ảnh phác hoạ, thiết kế phần đầu xe thay đổi khá nhiều so với thế hệ hiện tại đáng bán trên thị trường. |
Thân xe không có nhiều thay đổi so với thế hệ cũ. Đáng chú ý phần đuôi xe được nhà sản xuất thiết kế với một cụm đèn hậu ôm gọn vào hông xe, được nối liền bằng một thanh nan crôm chạy liền mạch.
Nhìn rộng hơn có thể thấy Toyota Corolla Altis mới sắp ra mắt Việt Nam có thiết kế khá giống với Corolla Altis 2021 (phiên bản LE và SE) đang bán tại thị trường Mỹ.
Chưa có thông tin cụ thể về sức mạnh và trang bị trên thế hệ mới của Toyota Corolla Altis tại Việt Nam, nhưng nhiều khả năng mẫu xe này sẽ sử dụng động cơ 2ZR-FBE có dung tích 1,8 lít (138 mã lực/177 Nm) và hộp số biến thiên vô cấp CVT, tương tự trước đây.
 |
| Toyota Corolla Altis mới sắp ra mắt Việt Nam có thiết kế khá giống với Corolla Altis 2021 (phiên bản LE và SE). |
Tuy nhiên, không loại trừ khả năng Toyota sẽ giới thiệu phiên bản Hybrid dành cho Corolla Altis, sau thành công từ Corolla Cross vừa ra mắt năm ngoái. Đây có thể là một bất ngờ cho thị trường Việt Nam nhưng sẽ tạo được dấu ấn và sức hút trở lại cho mẫu xe phân khúc C sau nhiều năm đánh mất "ánh hào quang".
Tại Việt Nam, Toyota Corolla Altis hiện đang là mẫu xe "cũ" nhất phân khúc sedan hạng C. Các đối thủ như Kia Cerato, Mazda3 hay Honda Civic đều đã được nâng cấp facelift hoặc ra mắt thế hệ mới all-new.