VinFast đăng ký thiết kế ôtô mới, thêm 6 phác thảo đẹp “nhấc người”
Loạt ôtô mới vừa được VinFast đăng ký kiểu dáng công nghiệp, trong đó có cả phiên bản xe chạy xăng lẫn điện hoàn toàn. Nhiều khả năng đây là mẫu VF e34P đã được nói tới trước đó.
Thảo Nguyễn
Mới đây theo tài liệu được Cục Sở hữu Trí tuệ Việt Nam đăng tải, tiếp tục có 7 mẫu xe ôtô điện mới của VinFast được cấp phép sở hữu bản quyền kiểu dàng công nghiệp. Trong đó, có 6 mẫu vẫn còn nằm trong trạng thái phác thảo, được chắp bút bởi Filippo Perin và bộ 3 Cartia Guglielmo, Dimitri Vicedomini, Nazzareno Epifani thuộc công ty thiết kế Pininfarina đến từ Ý – đối tác quen thuộc của hãng xe Việt. Ngược lại, mẫu xe thứ 7 có thiết kế 3D trông khá hoàn thiện lại là tác phẩm của Jaehoon Lee, hiện đang là nhà thiết kế cao cấp của GM.
Đầu tiên, chúng ta sẽ cùng nói về mẫu xe ôtô điện VinFast đã được hoàn thiện bằng đồ họa 3D. Dựa vào hình ảnh có thể thấy, chiếc xe này không có lưới tản nhiệt, ám chỉ đây sẽ là xe điện hoàn toàn và rất có thể đây sẽ là một chiếc crossover 5 chỗ ngồi. Phần đầu xe có dải đèn LED chữ V đặc trưng của VinFast, trong khi đó khu vực đuôi sau được vuốt khá giống với Lexus RX 350, đầy tính thẩm mỹ và thể thao. Bên cạnh đó, la-zăng của mẫu xe này có kích thước khá lớn, rất có thể sẽ là 20 inch.
Mẫu xe điện được thiết kế 3D bởi Jaehoon Lee.
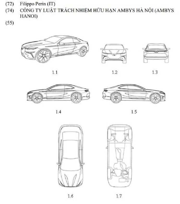
Tiếp đến, bản phác thảo đến từ Filippo Perin chính là mẫu VinFast Lux A2.0 2 cửa được hãng xe Việt xin cấp bản quyền kiểu dáng công nghiệp từ năm ngoái. Mẫu xe này từng nhận được khá nhiều sự quan tâm từ khách Việt do sở hữu thiết kế coupe đầy thể thao với mui xe dài và dốc, trần xe vuốt thẳng xuống đuôi sau. Thế nhưng cho đến nay vẫn chưa được hoàn thiện và ngoài ra, việc đăng ký bản quyền kiểu dáng chỉ là một trong những việc các hãng xe làm để bảo vệ quyền lợi của mình, phòng trường hợp muốn phát triển một mẫu xe phác thảo thành bản thương mại chính thức.
Chiếc VinFast Lux A2.0 2 cửa từng gây xôn xao vào năm ngoái đến nay vẫn chỉ là bản phác thảo.
Mẫu xe tiếp theo nhiều khả năng tiếp tục là một mẫu crossover với nhiều chi tiết tương đồng với VinFast VF e35 chạy điện như kính hông hay đèn hậu. Tuy nhiên phần đầu xe có khá nhiều điểm khác biệt như lưới tản nhiệt lớn ám chỉ đây là xe xăng, đèn chiếu sáng được đặt lên cao còn la-zăng chưa được ấn định thiết kế.
Mẫu crossover chạy xăng có nhiều điểm giống với VF e35, có khả năng thuộc cỡ D.
Kế đến là một mẫu xe có kiểu dáng khá giống một mẫu hatchback hạng B với thiết kế khá lạ lẫm nhưng mặt ca-lăng trước có những đường nét gây liên tưởng đến VF e34 cách điệu. Ngoài ra, phần đầu xe được bọc kín nên rất có khả năng đây sẽ lại là một mẫu ô tô điện.
Thiết kế của mẫu xe này khá giống một chiếc hatchback hạng B.
Với sự xuất hiện của mẫu xe trên, không mấy ngạc nhiên khi mẫu xe tiếp theo được hãng xe Việt đăng ký bản quyền kiểu dáng có phom tương đối giống một mẫu hatchback hạng A. Thiết kế của mẫu xe này cũng có nhiều điểm giống với sản phẩm bên trên.
Tiếp tục là một mẫu hatckback hạng A chạy điện.
Hai mẫu xe còn lại lần lượt mang dáng vẻ hatchback hạng C và sedan hạng B. Trong đó, mẫu sedan hạng B có thiết kế khá giống với VinFast Lux A2.0, từ phần lưới tản nhiệt cho đến cụm đèn trước và tất nhiên đây sẽ là một mẫu xe chạy xăng.
Thiết kế 2 mẫu xe cuối cùng trong đợt VinFast được cấp phép sở hữu bản quyền kiểu dáng công nghiệp này.
Hiện tại, hãng xe Việt mới chỉ giới thiệu 3 mẫu ôtô điện là VF e34, VF e35 và VF e36. Trong đó, VinFast VF e34 là sản phẩm dành riêng cho thị trường Việt Nam, đang nhận cọc và dự kiến giao xe vào tháng 11 tới đây. Hai mẫu xe VF e35 và VF e36 ngoài quê nhà cũng sẽ lên đường chinh phục “trời tây” vào năm sau, có cả bản chạy xăng lẫn chạy điện.
Thiếu chip bán dẫn khiến ngành ôtô sụt giảm 210 tỷ USD năm 2021
Cuộc khủng hoảng chip điện tử đang khiến các nhà sản xuất ôtô phải trả giá cao hơn nhiều lần so với dự kiến. Theo AlixPartners, tình trạng thiếu chip bán dẫn khiến ngành ôtô sụt giảm 210 tỷ USD năm 2021.
Theo công ty tư vấn AlixPartners, tình trạng thiếu chip bán dẫn hiện nay dự kiến sẽ khiến ngành công nghiệp ôtô toàn cầu mất 210 tỷ USD doanh thu vào năm 2021 và tình trạng này có thể sẽ kéo dài tới năm 2023.
Ra mắt Mercedes-Maybach S-Class và GLS siêu sang kỷ niệm 100 năm
Để kỷ niệm 100 năm ra mắt sản phẩm thương mại đầu tiên, thương hiệu Mercedes-Maybach đã trình làng phiên bản Edition 100 dành riêng cho hai dòng S-Class và GLS, với số lượng 200 chiếc chia đều cho mỗi mẫu.
Thương hiệu xe sang Mercedes-Maybach chọn biến thể cao cấp nhất của S-Class (S 680) và GLS (GLS 600) để giới thiệu gói Edition 100. Điểm chung của các mẫu Mercedes-Maybach Edition 100 là ngoại thất tông kép độc quyền gồm bạc High-tech Silver và xanh dương Nautical Blue.
Đại diện VinFast: "Cực chẳng đã mới phải viện đến pháp luật"
Đại diện hãng xe VinFast lên tiếng về quyết định gửi đơn tố cáo ra cơ quan chức năng việc ông Trần Văn Hoàng, chủ kênh YouTube Gogo TV, đăng tải video về chất lượng xe Lux A2.0.
VinFast vừa đăng tải trên fanpage chính thức thông tin về việc gửi đơn đến cơ quan chức năng, yêu cầu làm rõ hành vi tung tin sai sự thật về thương hiệu của ông Trần Văn Hoàng, chủ kênh YouTube Gogo TV. Ông Hoàng Chí Trung, Quyền Phó TGĐ Kinh doanh VinFast, trao đổi với Zing về vấn đề này.
Ông Hoàng Chí Trung, Quyền Phó TGĐ Kinh doanh VinFast.
Toyota vừa nâng cấp dòng SUV biểu tượng Land Cruiser Prado, tâm điểm chú ý chính là biến thể Altitude - được sinh ra để chinh phục những cung đường khắc nghiệt.
Chiếc BMW 3 Series này của ông Đặng Lê Nguyên Vũ thuộc biến thể đầu tiên, sản xuất từ 6/1975 - 12/1983 và đã được độ lại khá đẹp mắt, thêm màu cam nổi bật.
Nếu chiếc Rolls-Royce Cullinan Series II này đăng ký biển 51 hay bất kỳ biển tỉnh nào Việt Nam, chi phí sẽ hơn 50 tỷ. Còn biển CV hay NG giá trị sẽ giảm 1 nữa.
Thương hiệu xe Jeep của Mỹ muốn chinh phục trái tim của những người lái xe Úc bằng các phiên bản đặc biệt mới, mạnh mẽ tôn vinh ADN ưa phiêu lưu mạo hiểm.
Nissan vừa công bố giá bán chi tiết cho mẫu xe bán tải Navara 2026 thế hệ thứ 5 tại thị trường Úc, đồng thời xác nhận thời điểm mở bán từ tháng 3 tới đây.
Thị trường ôtô Việt Nam đang đứng trước bước ngoặt lịch sử khi Cục Đăng kiểm công bố bảng giá trị tiêu thụ xăng trung bình (FCconv) cho xe động cơ đốt trong.
Nếu chiếc Rolls-Royce Cullinan Series II này đăng ký biển 51 hay bất kỳ biển tỉnh nào Việt Nam, chi phí sẽ hơn 50 tỷ. Còn biển CV hay NG giá trị sẽ giảm 1 nữa.
Chiếc BMW 3 Series này của ông Đặng Lê Nguyên Vũ thuộc biến thể đầu tiên, sản xuất từ 6/1975 - 12/1983 và đã được độ lại khá đẹp mắt, thêm màu cam nổi bật.
Thị trường ôtô Việt Nam đang đứng trước bước ngoặt lịch sử khi Cục Đăng kiểm công bố bảng giá trị tiêu thụ xăng trung bình (FCconv) cho xe động cơ đốt trong.
Thương hiệu xe Jeep của Mỹ muốn chinh phục trái tim của những người lái xe Úc bằng các phiên bản đặc biệt mới, mạnh mẽ tôn vinh ADN ưa phiêu lưu mạo hiểm.
Toyota vừa nâng cấp dòng SUV biểu tượng Land Cruiser Prado, tâm điểm chú ý chính là biến thể Altitude - được sinh ra để chinh phục những cung đường khắc nghiệt.
Nissan vừa công bố giá bán chi tiết cho mẫu xe bán tải Navara 2026 thế hệ thứ 5 tại thị trường Úc, đồng thời xác nhận thời điểm mở bán từ tháng 3 tới đây.
S&S Automotive, đơn vị phân phối chính hãng McLaren tại Việt Nam, chính thức công bố mức giá bán mới cho dòng xe Artura sau khi Nghị định 360/2025/NĐ-CP.
Honda chính thức ra mắt STEPWGN e:HEV SPADA tại thị Thái Lan với mức giá 1.780.000 baht (tương đương 1,45 tỷ đồng), xe được nhập khẩu nguyên chiếc từ Nhật Bản.
Sau năm 2025 bùng nổ doanh số, Subaru tiếp tục đẩy mạnh chiến lược điện hóa khi đưa mẫu Forester Hybrid vào sản xuất tại nhà máy Subaru of Indiana (SIA), Mỹ.
Volkswagen bổ sung 2 phiên bản trang bị mới cho dòng Van Transporter, đó là phiên bản cao cấp nhất Sportline và phiên bản Commerce Pro S giới hạn chỉ 75 xe.
Thương vụ đánh dấu một bước chuyển lớn tại trung tâm sản xuất ôtô ASEAN trong bối cảnh các hãng ôtô Nhật Bản dần mất lợi thế trước làn sóng xe điện Trung Quốc.
Omoda C5 HEV 2026 vừa xuất hiện tại Việt Nam, hứa hẹn sẽ làm mới phân khúc xe gầm cao đô thị bằng công nghệ tiết kiệm nhiên liệu vượt trội và diện mạo hiện đại.
Theo nhân viên tư vấn bán hàng tại đại lý, mẫu xe sang Lexus ES 2026 tại Việt Nam sẽ có 3 phiên bản, bao gồm 350h Premium Hybrid, 350h Luxury Hybrid và 500e.
Omoda & Jaecoo Việt Nam tiếp tục thể hiện cam kết mạnh mẽ, với những bước đi vững chắc trong công tác xây dựng tổ hợp nhà máy sản xuất ôtô tại Hưng Yên.
Mazda Việt Nam bắt đầu nhận đặt hàng MX-5 từ ngày 5/2/2026. Phiên bản phân phối trong nước là bản mui mềm (soft-top), đi kèm hai tùy chọn hộp số sàn và tự động.
Theo dữ liệu mới nhất, Kia Sorento tiếp tục giữ vững vị thế là mẫu SUV bán chạy nhất tại Hàn Quốc, trong khi Hyundai SantaFe ghi nhận sự sụt giảm rõ rệt,.
Honda Việt Nam (HVN) chính thức công bố giá bán Honda CR-V e:HEV lắp ráp trong nước. Theo đó bản e:HEV L có giá từ 1,17 tỷ và bản e:HEV RS có giá 1,25 tỷ đồng.
Trước sức nóng chưa từng có của mẫu SUV đầu bảng Telluride, tập đoàn Kia đã chính thức đưa ra quyết định nâng sản lượng mẫu xe này lần thứ tư kể từ khi ra mắt.
Mẫu xe SUV điện Toyota C-HR 2026 hoàn toàn mới có phạm vi lái xe điện ước tính lên đến 466 km (290 dặm), khả năng sạc nhanh DC từ 10-80% trong khoảng 30 phút.
Mazda CX-5 phiên bản thuần điện bất ngờ xuất hiện qua loạt ảnh phác họa kỹ thuật số, mở ra viễn cảnh về một thế hệ SUV điện hoàn toàn mới của hãng xe Nhật Bản.