![]() |
| Toyota phát triển hộp số sàn 14 cấp dành cho ôtô điện. |
![]() |
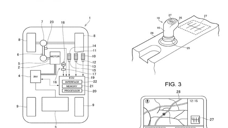
| Hộp số sàn cho xe điện Toyota có thể mô phỏng cảm giác lái của bất kỳ một dòng xe xăng nào khác trên thị trường. |
![]() |
| Toyota phát triển hộp số sàn 14 cấp dành cho ôtô điện. |
![]() |
| Hộp số sàn cho xe điện Toyota có thể mô phỏng cảm giác lái của bất kỳ một dòng xe xăng nào khác trên thị trường. |
![]() |
| Đến nay Toyota Crown huyền thoại vẫn là dòng sedan có tuổi đời cao nhất của hãng xe Nhật Bản Toyota với lô-gô hình vương miện gắn ở đầu xe. Hiện nay, mẫu xe này đã trải qua 15 thế hệ với nhiều sự thay đổi. Kiểu dáng của Toyota Crown trong những năm 1990 vẫn còn được rất nhiều khách hàng yêu thích dù nó không hề có một nét đẹp hiện đại nào. |
![]() |
| Thậm chí nhu cầu đối với dòng xe này tại Nhật Bản vẫn cao đến mức Toyota phải sản xuất ra những chiếc xe đời mới nhưng có kiểu dáng của xe đời cũ để phục vụ cho các đối tượng khách hàng trung thành với thiết kế cổ điển. Toyota Crown tại Việt Nam phổ biến từ những năm 90 và đầu 2000, đa số các mẫu Crown được nhập từ Mỹ và Nhật, gắn liền với hình ảnh của các chính khách. |
![]() |
| Tròn hai tuần kể từ khi ra mắt, website của Toyota Bắc Mỹ mới đây đã công bố chỉ số nhiên liệu ước tính của Toyota Land Cruiser Prado 2024 mới. Theo đó, phiên bản xe bán tại Mỹ và một số thị trường lân cận sử dụng động cơ 2.4L I-4 hybrid có mức tiêu thụ nhiên liệu khoảng 8,71 lít/100 km với điều kiện vận hành hỗn hợp. |
Video: Ferrari 812 của Michael B. Jordan đâm Kia Niro “nát đầu“.
Sau ba năm kể từ khi ra mắt toàn cầu vào năm 2022, Honda CR-V 2026 thế hệ thứ sáu cuối cùng cũng chính thức được giới thiệu tại thị trường quê nhà Nhật Bản.
Thương hiệu môtô cơ bắp thương hiệu Mỹ vừa chính thức ra mắt Harley-Davidson X440T 2026 tại thị trường Ấn Độ với giá bán vô cùng hấp dẫn với dân chơi hai bánh.
Mẫu SUV GLB 2026 thế hệ mới của Mercedes-Benz vừa chính thức ra mắt, đánh dấu bước chuyển mạnh mẽ sang xu hướng ôtô điện của hãng xe sang Đức.
Lãnh đạo Toyota xác nhận mẫu siêu sang Century Coupe sẽ không có bản chạy điện. Đối thủ mới của Rolls-Royce và Bentley quyết tâm giữ linh hồn động cơ đốt trong.
Để tăng cường năng lực, lực lượng ICE (Cơ quan Thực thi Di trú và Hải quan Mỹ) đã mua 20 xe bọc thép Roshel Senator với giá hơn 7,2 triệu USD (hơn 189 tỷ đồng).
Dù chưa được bàn giao, tuy nhiên mẫu MPV cỡ lớn Galaxy V900 của Geely đã gây sự chú ý khi đạt một kỷ lục Guinness không ai ngờ tới khi chở tới 42 người.
Bộ sưu tập Bentley Dutch Masters lấy cảm hứng từ 3 danh họa bất tử gồm Rembrandt, Vermeer và Van Gogh. Sự kiện ra mắt vừa tổ chức tại Bảo tàng Quốc gia Hà Lan.
Khách hàng mua xe Hyundai Tucson tháng 12/2025 này sẽ có hai lựa chọn ưu đãi, gồm giảm giá trực tiếp 58 triệu đồng hoặc gói quyền lợi sử dụng xe.
Biển số “HR 88 B 8888” được xem là đắt nhất Ấn Độ, từng gây sốt với mức 1,17 crore rupee (hơn 3,4 tỷ đồng). Tuy nhiên, người trả giá cao nhất đã không nộp tiền.
Honda Việt Nam vừa triển khai chương trình "Hỗ trợ siêu hời - Lên đời xế mới” đổi ôtô đã qua sử dụng để lên đời xe mới, với mức ưu đãi đến 30 triệu đồng.
Để tăng cường năng lực, lực lượng ICE (Cơ quan Thực thi Di trú và Hải quan Mỹ) đã mua 20 xe bọc thép Roshel Senator với giá hơn 7,2 triệu USD (hơn 189 tỷ đồng).
Dù chưa được bàn giao, tuy nhiên mẫu MPV cỡ lớn Galaxy V900 của Geely đã gây sự chú ý khi đạt một kỷ lục Guinness không ai ngờ tới khi chở tới 42 người.
Biển số “HR 88 B 8888” được xem là đắt nhất Ấn Độ, từng gây sốt với mức 1,17 crore rupee (hơn 3,4 tỷ đồng). Tuy nhiên, người trả giá cao nhất đã không nộp tiền.
Thương hiệu môtô cơ bắp thương hiệu Mỹ vừa chính thức ra mắt Harley-Davidson X440T 2026 tại thị trường Ấn Độ với giá bán vô cùng hấp dẫn với dân chơi hai bánh.
Mẫu SUV GLB 2026 thế hệ mới của Mercedes-Benz vừa chính thức ra mắt, đánh dấu bước chuyển mạnh mẽ sang xu hướng ôtô điện của hãng xe sang Đức.
Khách hàng mua xe Hyundai Tucson tháng 12/2025 này sẽ có hai lựa chọn ưu đãi, gồm giảm giá trực tiếp 58 triệu đồng hoặc gói quyền lợi sử dụng xe.
Sau ba năm kể từ khi ra mắt toàn cầu vào năm 2022, Honda CR-V 2026 thế hệ thứ sáu cuối cùng cũng chính thức được giới thiệu tại thị trường quê nhà Nhật Bản.
Honda Việt Nam vừa triển khai chương trình "Hỗ trợ siêu hời - Lên đời xế mới” đổi ôtô đã qua sử dụng để lên đời xe mới, với mức ưu đãi đến 30 triệu đồng.
Lãnh đạo Toyota xác nhận mẫu siêu sang Century Coupe sẽ không có bản chạy điện. Đối thủ mới của Rolls-Royce và Bentley quyết tâm giữ linh hồn động cơ đốt trong.
Bộ sưu tập Bentley Dutch Masters lấy cảm hứng từ 3 danh họa bất tử gồm Rembrandt, Vermeer và Van Gogh. Sự kiện ra mắt vừa tổ chức tại Bảo tàng Quốc gia Hà Lan.
Mẫu xe SUV cỡ D Nissan NX8 nhiều khả năng cũng sẽ được xem xét để xuất khẩu, dù thời gian ra mắt cụ thể và giá bán theo từng thị trường vẫn chưa được công bố.
Chiếc xe thể thao mui trần Mercedes-AMG SL43 bị bắt gặp tại quận 7, Tp.HCM, chỉ sau vài ngày về tay người chủ mới, 1 cặp vợ chồng kinh doanh làm đẹp.
Dù đến tháng 4/2026 mới bắt đầu sản xuất. Tuy nhiên, mẫu xe thể thao Lynk & Co 03+ TCR vẫn được khách hàng Trung Quốc đặt mua ngay trong ngày ra mắt.
Những chiếc Subaru Forester đời cũ vẫn còn tồn kho tại đại lý khiến hãng phải nối dài chương trình ưu đãi mạnh tay để "xả hàng", sau khi thế hệ mới ra mắt.
Đã 7 năm trôi qua, nhưng mẫu xe tay ga Honda Vario 125 thế hệ mới vẫn dựa trên nền tảng động cơ eSP cũ. Tuy nhiên thiết kế của xe đã được làm mới hoàn toàn.
Thị trường ôtô tháng 12/2025 chứng kiến cuộc đua giảm giá ở phân khúc gầm cao trên 1 tỷ đồng. Hyundai Palisade, SantaFe, Ford Ranger và Honda CR-V đều giảm giá.
Tin đồn mẫu xe ga Honda Click 160 Street Edition phiên bản mới mang đậm phong cách street, sinh ra để lướt phố, chuẩn bị ra mắt khiến dân chơi xe máy nhộn nhịp.
Khi đặt cạnh các đối thủ cùng phân khúc, Hyundai Tucson 2025 mới nổi bật hơn bởi sự kết hợp giữa trang bị an toàn toàn diện và công nghệ hỗ trợ lái hiện đại...
Sau thời gian thử nghiệm trên đường phố, mẫu xe VinFast EC Van chạy điện phiên bản thương mại đã sẵn sàng bàn giao cho những khách hàng đặt cọc sớm.
Mẫu xe máy điện Scoox Zero X7 2026 vừa ra mắt tại Trung Quốc mang phong cách thiết kế độc đáo với các trang bị cực ấn tượng và sức mạnh bất ngờ.