Kia và Hyundai muốn "biến" vô lăng ôtô thành tay chơi game PlayStation?
Kiểu vô lăng có thiết kế giống tay cầm máy chơi game PlayStation có thể được nhà sản xuất ôtô Hyundai và Kia áp dụng trên các mẫu xe của mình trong tương lai.
Thảo Nguyễn
Theo CarBuzz, một bằng sáng chế của Hyundai và Kia cùng SL Corporation (một nhà sản xuất linh kiện ôtô có trụ sở tại Hàn Quốc) đã được nộp cho Văn phòng Bằng sáng chế và Nhãn hiệu Hoa Kỳ. Tài liệu này mô tả về một thiết bị có ngoại hình và cách sử dụng khá giống máy chơi game cầm tay dùng điều khiển ôtô.
Kiểu vô lăng có thiết kế giống tay cầm máy chơi game PlayStation có thể được Hyundai và Kia áp dụng trên các mẫu xe của mình trong tương lai.
Như vậy, trong tương lai những mẫu xe đến từ Kia và Hyundai có thể bỏ vô lăng truyền thống và thay bằng tay cầm điều khiển tương tự như Xbox hay PlayStation. Loại “vô lăng” này nhiều khả năng sẽ được triển khai trên các mẫu xe tự hành như Hyundai Mobis M.Vision TO trong tương lai.
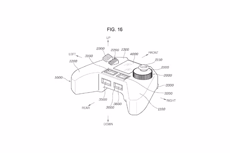
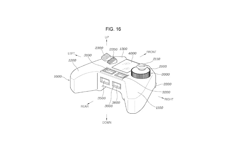
Theo bản thiết kế, sẽ có 2 loại tay cầm được chế tạo dành cho việc điều khiển một tay hoặc hai tay. Ở phiên bản một tay, loại thiết bị này có ngoại hình khá giống một một báng súng lục với các nút được bố trí xung quanh.
Theo bản thiết kế, sẽ có 2 loại tay cầm được chế tạo dành cho việc điều khiển một tay hoặc hai tay.
Trong khi đó phiên bản dùng hai tay được chế tạo dựa trên tay cầm Xbox với các nút trượt, công tắc điều khiển nằm phía trên. Hai loại “vô lăng” này có tính năng kết nối không dây với xe, do đó, người lái có thể điều khiển xe ngay cả khi ngồi ở hàng ghế sau.
Một tính năng nổi bật của bộ điều khiển này là “dead man switch”, được ví như nút nguồn của toàn bộ vô lăng. Nếu người điều khiển không kích hoạt nó, xe sẽ không di chuyển được.
Một tính năng nổi bật của bộ điều khiển này là “dead man switch”, được ví như nút nguồn của toàn bộ vô lăng.
Một số người cho rằng việc sử dụng tay cầm để điều khiển là một phát minh vô nghĩa bởi vô lăng truyền thống đã hoàn thành tốt nhiệm vụ của nó từ xưa đến nay. Tuy nhiên, đây có thể được xem là một phát minh tạo ra đột phá của Hyundai trong quá trình phát triển xe tự lái.
Tesla bị kiện vì nhân viên chia sẻ video nhạy cảm của khách hàng
Một chủ xe ở bang California, Mỹ mới đây đã đâm đơn kiện hãng ôtô điện Tesla với cáo buộc vi phạm quyền riêng tư của khách hàng.
Ông Henry Yeh cùng với nhiều chủ xe Tesla khác đã đưa nhà sản xuất ôtô điện hàng đầu nước Mỹ ra tòa trong một vụ kiện tập thể với cáo buộc hãng vi phạm quyền riêng tư của khách hàng. Vụ kiện được đưa ra sau khi các nhóm nhân viên Tesla chia sẻ hình ảnh khách hàng thông qua hệ thống nhắn tin nội bộ. Đây là những hình ảnh và video do camera trên ôtô của khách hàng ghi lại từ năm 2019 đến năm 2022.
Hãng taxi thuần điện đầu tiên tại Việt Nam chính thức hoạt động
Sáng nay 14/4, Công ty Cổ phần Di chuyển Xanh và Thông minh GSM (Green - Smart - Mobility) chính thức đưa dịch vụ taxi thuần điện đầu tiên tại Việt Nam - Xanh SM vào hoạt động.
Sự kiện đã mở ra kỷ nguyên taxi điện thông minh tại Việt Nam, không khói xăng, không tiếng ồn động cơ và thân thiện với môi trường. Theo kế hoạch, taxi Xanh SM sẽ hiện diện trước tiên tại Hà Nội, sau đó mở rộng tới ít nhất 5 tỉnh, thành phố trên cả nước ngay trong năm nay.
Toyota, Hyundai và Kia khiến khách ngán ngẩm vì bán xe "bia kèm lạc"
Nghiên cứu mới của về chỉ số hài lòng của khách hàng khi mua xe ôtô Toyota, Hyundai và Kia tại Mỹ năm 2022 do công ty J.D. Power nghiên cứu đã cho thấy điều này.
Tương tự Việt Nam, ôtô tại các đại lý ở Mỹ trong thời gian qua cũng liên tục bị "bán bia kèm lạc". Chưa bao giờ xe tại thị trường Mỹ bị đội giá nhiều như hiện nay. Từ xe du lịch, SUV cho đến bán tải, tất cả đều bị bán đắt hơn nhiều so với mức giá bán lẻ đề xuất của hãng. Hiện tượng bán xe bia kèm lạc này khiến chỉ số hài lòng của khách hàng Mỹ giảm sút. Nghiên cứu mới của về chỉ số hài lòng khi mua xe của khách hàng Mỹ năm 2022 của công ty J.D. Power đã cho thấy điều này.
Đáng tiếc là Ford Maverick sẽ không bao giờ được bán chính hãng tại Việt Nam, nên khách hàng trong nước sẽ không thể trải nghiệm được xe bán tải cỡ nhỏ này.
Mới đây, hình ảnh phác họa mẫu SUV Mercedes-Benz G-Class mới đã được nhà thiết kế Rowan Tuttle chia sẻ đã thu hút sự quan tâm lớn từ người yêu xe toàn cầu.
Tại Triển lãm Ô tô Brussels 2026, Bỉ, Toyota chính thức trình làng Hilux BEV. Đây là bản chạy điện đầu tiên của mẫu bán tải Hilux dành cho thị trường châu Âu.
Tại triển lãm Tokyo Auto Salon 2026, Lexus đã trưng bày mẫu sedan hạng sang ES thế hệ hoàn toàn mới, dự kiến sẽ cập bến thị trường Đông Nam Á vào năm 2026.
Lexus đã ra mắt bản facelift của mẫu sedan IS tại Nhật. Tuy nhiên khác với phần còn lại của thế giới, xe sẽ có một bản đặc biệt mang tên F Sport Mode Black V.
KTM đã mở rộng dòng sportbike tại Ấn Độ với việc ra mắt mẫu RC 160, xe được định vị dưới RC 200 và RC 390, RC 160 chia sẻ động cơ và các bộ phận với 160 Duke.
Dù chưa có thông tin chính thức, nhưng một số showroom Peugeot đã treo logo Jeep và xe Ram. Cho thấy khả năng cao hai thương hiệu xe Mỹ sẽ sớm về tay Thaco.
Về cơ bản, Fiat Qubo L 2026 là mẫu xe MPV "chị em" với Citroen Berlingo và Peugeot Rifter (cả hai đều được sản xuất dưới cùng một thương hiệu Stellantis).
Toyota Alphard tại Việt Nam bị triệu hồi 6 xe do lỗi hệ thống sấy kính sau ảnh hưởng đến tầm nhìn và an toàn, việc kiểm tra và sửa chữa được thực hiện miễn phí.
Mới đây, hình ảnh phác họa mẫu SUV Mercedes-Benz G-Class mới đã được nhà thiết kế Rowan Tuttle chia sẻ đã thu hút sự quan tâm lớn từ người yêu xe toàn cầu.
Theo đánh giá của giới phân tích, kết quả mà thương hiệu Omoda & Jaecoo đạt được trong năm 2025 phản ánh xu hướng dịch chuyển chung của ngành ôtô toàn cầu.
Đáng tiếc là Ford Maverick sẽ không bao giờ được bán chính hãng tại Việt Nam, nên khách hàng trong nước sẽ không thể trải nghiệm được xe bán tải cỡ nhỏ này.
Lexus đã ra mắt bản facelift của mẫu sedan IS tại Nhật. Tuy nhiên khác với phần còn lại của thế giới, xe sẽ có một bản đặc biệt mang tên F Sport Mode Black V.
Toyota Alphard tại Việt Nam bị triệu hồi 6 xe do lỗi hệ thống sấy kính sau ảnh hưởng đến tầm nhìn và an toàn, việc kiểm tra và sửa chữa được thực hiện miễn phí.
KTM đã mở rộng dòng sportbike tại Ấn Độ với việc ra mắt mẫu RC 160, xe được định vị dưới RC 200 và RC 390, RC 160 chia sẻ động cơ và các bộ phận với 160 Duke.
Về cơ bản, Fiat Qubo L 2026 là mẫu xe MPV "chị em" với Citroen Berlingo và Peugeot Rifter (cả hai đều được sản xuất dưới cùng một thương hiệu Stellantis).
Dù chưa có thông tin chính thức, nhưng một số showroom Peugeot đã treo logo Jeep và xe Ram. Cho thấy khả năng cao hai thương hiệu xe Mỹ sẽ sớm về tay Thaco.
Tại triển lãm Tokyo Auto Salon 2026, Lexus đã trưng bày mẫu sedan hạng sang ES thế hệ hoàn toàn mới, dự kiến sẽ cập bến thị trường Đông Nam Á vào năm 2026.
Tại Triển lãm Ô tô Brussels 2026, Bỉ, Toyota chính thức trình làng Hilux BEV. Đây là bản chạy điện đầu tiên của mẫu bán tải Hilux dành cho thị trường châu Âu.
Honda Việt Nam vừa ra mắt mẫu Honda EV Outlier Concept với thiết kế đậm chất tương lai, thể hiện định hướng phát triển xe hai bánh chạy điện trong dài hạn.
Tại Việt Nam, chiến lược di chuyển 2026 của Omoda & Jaecoo được cụ thể hóa thông qua định hướng phát triển xe năng lượng mới (NEV), đặc biệt là hybrid.
Mẫu SUV điện cỡ lớn Volkswagen Era 9X EREV 2027 mới đã chính thức được vén màn tại thị trường Trung Quốc nhưng khó có cơ hội đến với phần còn lại của thế giới.
Ram 1500 TRX Final Edition không chỉ là xe bán tải hạng nặng, mà còn sở hữu khối động cơ vô cùng mạnh mẽ có thể đàn áp các siêu xe nghĩa đen lẫn cả nghĩa bóng.
Mitsubishi Delica có thể không có nhiều ý nghĩa đối với người mua ở Mỹ và châu Âu, nhưng nó là dòng xe biểu tượng và có lịch sử sản xuất lâu đời nhất của hãng.
Thông tin VinFast EC Van sắp có phiên bản mới với cửa lùa bên hông đang thu hút sự chú ý, đây là trang bị được nhiều người dùng mong đợi nhằm tối ưu công năng.
Mẫu xe điện EV2 2026 nhỏ nhất của Kia có hai tùy chọn pin, phạm vi hoạt động tối đa khoảng 317 km và giá dự kiến khoảng 26.000 bảng Anh (915 triệu đồng).