Ferrari Purosangue - SUV đắt nhất thế giới đăng ký kiểu dáng tại Việt Nam

Ferrari Purosangue - SUV đắt nhất thế giới đăng ký kiểu dáng tại Việt Nam

Trước đó, đại diện của Supreme Auto cũng đã chia sẻ với giới truyền thông về việc chiếc siêu SUV Ferrari Purosangue sẽ về Việt Nam ngay trong năm nay, đây là tin cực vui đối với những "fan ngựa chồm".

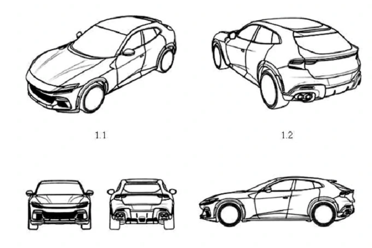
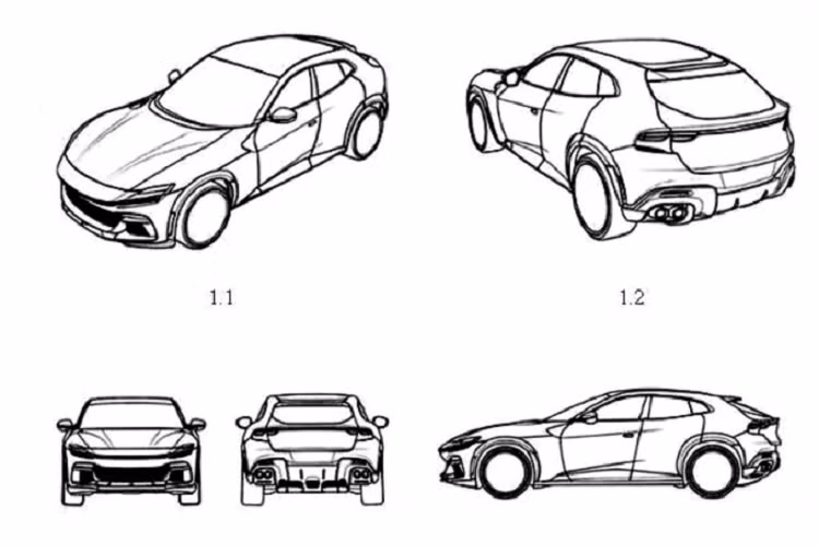
Mới đây, trong thông báo về đăng ký bảo hộ kiểu dáng công nghiệp tại Việt Nam đã xuất hiện hình ảnh 1 chiếc siêu SUV Ferrari Purosangue, điều này cũng rất dễ hiểu vì đây là 1 trong những bước đi quan trọng để đại lý chính hãng chuẩn bị mang chiếc siêu SUV đắt nhất thế giới về nước, giới thiệu với các đại gia Việt.
Mới đây, trong thông báo về đăng ký bảo hộ kiểu dáng công nghiệp tại Việt Nam đã xuất hiện hình ảnh 1 chiếc siêu SUV Ferrari Purosangue, điều này cũng rất dễ hiểu vì đây là 1 trong những bước đi quan trọng để đại lý chính hãng chuẩn bị mang chiếc siêu SUV đắt nhất thế giới về nước, giới thiệu với các đại gia Việt.
Trước đó, đại diện của Supreme Auto, đơn vị đang nắm quyền phân phối chính hãng các dòng xe Ferrari tại Việt Nam, cũng đã chia sẻ với giới truyền thông về việc chiếc siêu SUV Ferrari Purosangue sẽ về Việt Nam ngay trong năm nay, đây là tin cực vui đối với những "fan ngựa chồm".
Trước đó, đại diện của Supreme Auto, đơn vị đang nắm quyền phân phối chính hãng các dòng xe Ferrari tại Việt Nam, cũng đã chia sẻ với giới truyền thông về việc chiếc siêu SUV Ferrari Purosangue sẽ về Việt Nam ngay trong năm nay, đây là tin cực vui đối với những "fan ngựa chồm".
Trước đó, chiếc SUV đầu tiên của hãng xe Ý, Ferrari Purosangue, đã có 1 chuyến hành trình vòng quanh thế giới, trong đó, khu vực châu Á cũng đã đón nhận mẫu xe này với điểm dừng chân ở Thái Lan hay Trung Quốc và sắp tới là Việt Nam, nhưng chưa rõ là khi nào.
Trước đó, chiếc SUV đầu tiên của hãng xe Ý, Ferrari Purosangue, đã có 1 chuyến hành trình vòng quanh thế giới, trong đó, khu vực châu Á cũng đã đón nhận mẫu xe này với điểm dừng chân ở Thái Lan hay Trung Quốc và sắp tới là Việt Nam, nhưng chưa rõ là khi nào.
Sức mạnh của xe được kết hợp với hộp số ly hợp kép 8 cấp và hệ dẫn động bốn bánh, nhờ đó, siêu xe gầm cao Ferrari Purosangue chỉ mất thời gian 3,3 giây để tăng tốc từ vị trí xuất phát lên 100 km/h trước khi đạt tốc độ tối đa hơn 310 km/h.
Sức mạnh của xe được kết hợp với hộp số ly hợp kép 8 cấp và hệ dẫn động bốn bánh, nhờ đó, siêu xe gầm cao Ferrari Purosangue chỉ mất thời gian 3,3 giây để tăng tốc từ vị trí xuất phát lên 100 km/h trước khi đạt tốc độ tối đa hơn 310 km/h.
Siêu xe gầm cao Ferrari Purosangue đến từ khối động cơ V12, dung tích 6.5 lít, hút khí tự nhiên, trái tim rất quen thuộc với các đại gia Việt từng sở hữu F12 hay 812, 1 trong những cổ máy V12 ấn tượng nhất thế giới, sẽ tạo ra công suất tối đa lên đến 715 mã lực và mô-men xoắn cực đại 715 Nm.
Siêu xe gầm cao Ferrari Purosangue đến từ khối động cơ V12, dung tích 6.5 lít, hút khí tự nhiên, trái tim rất quen thuộc với các đại gia Việt từng sở hữu F12 hay 812, 1 trong những cổ máy V12 ấn tượng nhất thế giới, sẽ tạo ra công suất tối đa lên đến 715 mã lực và mô-men xoắn cực đại 715 Nm.
Video: Giới thiệu Ferrari Purosangue - chiếc SUV đắt nhất thế giới.

GALLERY MỚI NHẤT