Xe ôtô điện của Ford có thể được trang bị hộp số sàn

Đơn xin cấp bằng sáng chế vừa công bố cho thấy Ford đang lên kế hoạch đưa hộp số sàn giả lập lên các mẫu ô tô điện trong tương lai.  

Video: Xem trước SUV điện Ford Explorer EV thế hệ mới.
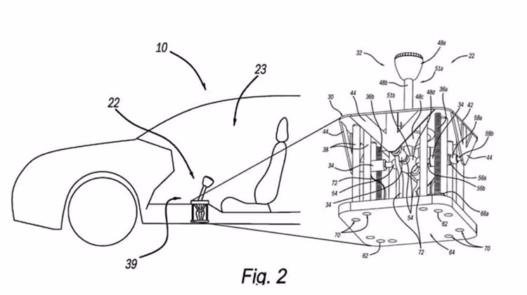
Theo một tài liệu đính kèm bằng sáng chế ôtô điện của Ford được đăng ký từ năm 2023, thương hiệu ô tô Mỹ đang phát triển công nghệ giả lập số sàn dành cho xe điện, dù thực tế loại phương tiện này không cần dùng đến hộp số.
Tài liệu này mang tên “Cơ cấu chuyển số cho xe điện” mô tả phần cần số và các bộ phận mà người lái sẽ sử dụng, giống như trên xe số sàn bình thường.
Xe oto dien cua Ford co the duoc trang bi hop so san
Xe ôtô điện của Ford có thể được trang bị hộp số sàn. 
Bản vẽ cho thấy loại hộp số sàn xe điện Ford này có hai kiểu bố trí chuyển số, gồm chuyển số theo dạng chữ H như trên hộp số 6 cấp truyền thống và chuyển số theo dạng tuần tự lên/xuống. Đặc biệt, Ford còn thêm ý tưởng “đường dẫn ảo”, nghĩa là hộp số không cố định mà có thể tùy chỉnh thành 4 cấp, 6 cấp hay thậm chí 7 cấp, tùy theo ý thích của người dùng hoặc hãng xe.
Tài liệu cũng nói đến khả năng sử dụng công nghệ phản hồi xúc giác (tương tự như phản hồi rung trên iPhone), nhằm mô phỏng cảm giác khi cầm một cần số dạng thanh truyền. Như vậy, hộp số sàn giả lập trên ôtô điện của Ford có thể sẽ cho phép người lái tùy chọn số lượng cấp số, vị trí số lùi, độ nặng khi đẩy cần và cả độ “rung” khi vào số.
Xe oto dien cua Ford co the duoc trang bi hop so san-Hinh-2
Hộp số sàn giả lập trên ôtô điện của Ford có thể sẽ cho phép người lái tùy chọn cấp số, vị trí số lùi, độ nặng khi đẩy cần và cả độ “rung” khi vào số. 
Trên thực tế, Ford không phải hãng duy nhất muốn mang hộp số sàn lên xe điện. Trước đó, trên mẫu xe điện thể thao Ioniq 5 N ra mắt vào năm ngoái, Hyundai đã trang bị hệ thống N e-shift và N Active Sound+, giả lập hộp số ly hợp kép 8 cấp của các xe động cơ đốt trong bằng cách kiểm soát mô-men xoắn của mô-tơ điện, dùng hệ thống âm thanh mô phỏng tiếng động cơ và bổ sung tính năng rung tạo cảm giác hơi giật giống như khi xe sang số. Ngoài ra, Toyota cũng đã công bố ý tưởng tương tự từ năm 2022. Hệ thống của Toyota còn có cả bàn đạp ly hợp giả, giúp người lái cảm nhận đầy đủ việc “đạp côn, sang số” như xe xăng.

Cận cảnh Ford Everest Sport 2024 “bằng xương, bằng thịt”, chờ về Việt Nam

Sẽ không ngạc nhiên nếu mẫu xe SUV Ford Everest Sport 2024 mới cũng được bán ở thị trường Việt Nam trong tương lai, nhằm phục vụ nhu cầu của những "tay chơi" địa hình.

Can canh Ford Everest Sport 2024 “bang xuong, bang thit”, cho ve Viet Nam

Cách đây vài ngày, hãng Ford đã chính thức ra mắt phiên bản mới của mẫu xe Everest Sport ở thị trường Thái Lan. Đến nay, tại sự kiện Big Motor Sale 2024, Ford Everest Sport 2024 mới đã chính thức xuất hiện “bằng xương, bằng thịt” để trưng bày và giới thiệu với khách hàng.

Người dùng đánh giá Ford Ranger, lý do bản XLS luôn đắt khách?

Từ trước tới nay, Ford Ranger XLS được xem là con gà đẻ trứng vàng' của thương hiệu ôtô Mỹ. Vậy lý do nào khiến phiên bản này được nhiều khách hàng tin dùng đến như vậy?

Video: Phỏng vấn chủ xe Ford Ranger XLS qua góc nhìn chân thực nhất.
Mẫu xe bán tải Ford Ranger từ lâu đã khẳng định vị thế là mẫu bán tải bán chạy nhất tại thị trường Việt Nam, và trong đó, phiên bản XLS chính là lựa chọn chủ lực của hãng.
Hôm nay, báo Tri thức & Cuộc sống sẽ mang đến một câu chuyện thú vị: Bạn Nguyễn Bá Thành, một khách hàng đã quyết định bán đi chiếc SUV gầm cao 5 chỗ chỉ sau chưa đầy 5 tháng sử dụng, để chuyển sang sở hữu chiếc Ford Ranger XLS thế hệ mới.
Nguoi dung danh gia Ford Ranger, ly do ban XLS luon dat khach?
Mẫu xe bán tải Ford Ranger XLS được xem là con gà đẻ trứng vàng' của thương hiệu ôtô Mỹ tại thị trường Việt Nam. 
Vậy điều gì đã khiến anh đưa ra quyết định táo bạo này? Ford Ranger XLS có những điểm gì đặc biệt để thuyết phục một người dùng vốn đã quen thuộc với một chiếc xe gầm cao du lịch? Hãy cùng chúng tôi khám phá trong bài phỏng vấn ngay sau đây!
PV: Thành đã có cơ hội trải nghiệm ít nhất 2 mẫu xe khác nhau và Ranger là chiếc xe thứ 3, gần đây nhất là chiếc Mitsubishi Xforce một mẫu CUV gầm cao 5 chỗ. Vậy khi chuyển sang Ford Ranger, bạn cảm nhận thế nào?
Chủ xe: Khi chuyển sang sử dụng Ford Ranger XLS, mình đánh giá chiếc bán tải này mang đến trải nghiệm khác biệt hoàn toàn so với mẫu xe trước đó là Mitsubishi Xforce, đặc biệt là khi di chuyển đường dài. So với các mẫu xe nhỏ gọn tiện lợi trong phố, Ranger có không gian rộng hơn, vận hành ổn định trên cao tốc và phù hợp vì có thùng sau để chở hàng hoá mỗi khi đi tỉnh.
Việc lựa chọn Ranger của mình không chỉ phục vụ công việc mà còn đáp ứng nhu cầu di chuyển cá nhân. Dù từng phân vân giữa SUV và bán tải, nhưng cuối cùng, yếu tố tiện lợi khi đi xa và khả năng chở hàng đã khiến mình quyết định đổi sang chiếc Ford Ranger.
Nguoi dung danh gia Ford Ranger, ly do ban XLS luon dat khach?-Hinh-2
Ford Ranger XLS được đánh giá chiếc bán tải này mang đến trải nghiệm khác biệt hoàn toàn so với những mẫu xe cùng phân khúc.
Thực tế, những mẫu xe 5 chỗ gầm cao Xforce trước đây mình sở hữu, nhỏ gọn, linh hoạt, và tìm chỗ đỗ xe trong phố dễ hơn. Tuy nhiên, với một người thường xuyên đi tỉnh, phải di chuyển từ 3 đến 5 ngày mỗi tuần và đôi khi cần chở thêm hàng hoá, thì một chiếc bán tải chắc chắn sẽ phù hợp hơn.
Chủ xe: Về nội thất, mình thấy mọi thứ ở mức đủ dùng, không quá cao cấp nhưng cũng không có gì để chê trong tầm giá. Chất liệu và bố cục khoang lái hợp lý, đủ tiện nghi cho nhu cầu sử dụng hàng ngày.
PV: Còn về không gian và tầm nhìn khi lái xe thì sao?
Chủ xe: Sau khi đã từng lái qua xe hạng A và B, mình thực sự thấy sự khác biệt rõ rệt khi chuyển sang Ranger. Vị trí ngồi cao giúp tầm quan sát thoáng hơn rất nhiều, cảm giác lái cũng nhàn hơn. Ngồi trong xe rất thoải mái, không gian rộng rãi và không bị gò bó như những dòng xe nhỏ trước đây.
PV: Nếu so sánh với Toyota Hilux hay các đối thủ khác như Triton cùng tầm tiền, Thành thấy điểm nào nổi bật nhất của Ranger?
Nguoi dung danh gia Ford Ranger, ly do ban XLS luon dat khach?-Hinh-3
Với một người thường xuyên đi tỉnh, phải di chuyển từ 3 đến 5 ngày mỗi tuần và đôi khi cần chở thêm hàng hoá, thì một chiếc bán tải như Ford Ranger chắc chắn sẽ phù hợp 
Chủ xe: Một điểm mình rất thích trên Ranger là hệ thống trợ lực lái điện. Điều này giúp việc điều khiển xe trong phố nhẹ nhàng hơn hẳn so với các đối thủ dùng trợ lực thủy lực như Hilux hay Triton cùng tầm tiền. Mình không phải gồng tay khi đánh lái, giúp di chuyển trong đô thị thoải mái hơn rất nhiều.
PV: Còn về mức tiêu hao nhiên liệu của Ford Ranger XLS thì sao?
Chủ xe: Khi đi trong phố, Ranger tiêu hao khoảng 10-11 lít/100 km, còn khi đi đường trường, cao tốc thì chỉ khoảng 7-8 lít/100 km. Với một chiếc xe hơn 2 tấn, mức tiêu hao này mình cho rằng khá ấn tượng. Hơn nữa, vì chạy động cơ dầu nên chi phí nhiên liệu cũng tiết kiệm hơn rất nhiều so với xe xăng.
PV: Khi di chuyển trong phố, Thành có gặp khó khăn gì với kích thước của Ford Ranger không? Vì dù sao đây cũng là một chiếc bán tải với chiều dài hơn 5,3 mét, lớn hơn khá nhiều so với những mẫu xe Hatch back, SUV cỡ nhỏ mà trước đây Thành đã sở hữu.
Nguoi dung danh gia Ford Ranger, ly do ban XLS luon dat khach?-Hinh-4
Khi đi trong phố, Ranger tiêu hao khoảng 10-11 lít nhiên liệu/100 km, còn khi đi đường trường, cao tốc thì chỉ khoảng 7-8 lít/100 km.  
Bên cạnh đó, với tính chất công việc của Thành, thường xuyên di chuyển, ghé qua các khu chợ, cửa hàng để tiếp thị và chở hàng mẫu, thì một chiếc bán tải có làm mọi thứ trở nên thuận tiện hơn hay đôi khi cũng gây ra những bất tiện nhất định trong đô thị? Ví dụ như khi cần dừng xe nhanh ở những khu vực chật hẹp, hoặc phải ra vào những bãi đỗ xe có không gian hạn chế chẳng hạn?
Chủ xe: Nói chung, quan trọng nhất vẫn là sự thích nghi. Trước đây, khi đi một chiếc xe nhỏ, việc di chuyển trong phố, luồn lách hay tìm chỗ đỗ xe đối với mình cảm thấy dễ dàng hơn nhiều. Nhưng khi chuyển sang một chiếc bán tải lớn như Ford Ranger XLS, rõ ràng là mình cũng phải làm quen và thích ứng với điều kiện mới. Thực tế, cái gì cũng có thể trở thành thói quen, lái lâu dần rồi cũng thấy bình thường.
Minh chứng là bạn có thể thấy đấy, tại sao có những bác tài lái cả xe 45-50 chỗ vào phố đón khách du lịch mà vẫn xoay sở được? Đó là do họ đã quen với chiếc xe của mình, bởi khi làm chủ được chiếc xe, mọi thứ trở nên dễ dàng hơn rất nhiều.
Nguoi dung danh gia Ford Ranger, ly do ban XLS luon dat khach?-Hinh-5
Ranger XLS bản dầu chi phí nhiên liệu cũng tiết kiệm hơn so với xe xăng. 
Nhiều người mua Ranger XLS trang bị thêm cả camera trước, camera 360 độ để hỗ trợ khi đi vào phố hoặc vào những con ngõ nhỏ, vì họ lo lắng không quen xe, sợ khó canh đường. Nhưng thực tế, khi đã quen rồi thì việc canh đường, lùi chuồng hay xoay sở trong không gian hẹp cũng chỉ là chuyện đơn giản thôi, chẳng có gì quá khó khăn cả.
Thậm chí, khi đã quen với một chiếc xe có kích thước lớn như thế này, nếu sau này quay lại lái một chiếc xe hạng A, có khi còn cảm thấy như kiểu đang lái xe đồ chơi vậy! Khi đã có trải nghiệm với bán tải, nếu muốn đổi xe, chắc mình phải nâng đời một chiếc SUV 7 chỗ cao ráo, chứ quay lại xe nhỏ thì đúng là hơi khó chịu.
Quan trọng nhất vẫn là cảm giác lái. Đi trong phố có thể vất vả đôi chút, nhưng khi chạy đường dài mới thấy rõ giá trị của một chiếc xe gầm cao. Tầm nhìn thoáng, không gian rộng rãi, chạy cả trăm cây số mà vẫn thấy thoải mái, không bị mệt mỏi.
PV: Nhiều người khen Ford Ranger lái rất "sướng", nhưng cũng có ý kiến cho rằng xe dễ gặp lỗi vặt. Trong quá trình sử dụng, Thành đã từng gặp sự cố hay lỗi kỹ thuật nào chưa? Nếu có, đó là lỗi gì, và cách xử lý của hãng có khiến em hài lòng không?
Chủ xe: Chiếc xe này mình mua là phiên bản 2025, cũng còn rất mới, đi được hơn 3.000 km thôi. Không biết có phải do quãng đường còn ít hay không?, nhưng cho đến thời điểm hiện tại, xe của mình chưa gặp phải lỗi gì cả.
Nguoi dung danh gia Ford Ranger, ly do ban XLS luon dat khach?-Hinh-6
Về tổng thể, Ranger mang lại trải nghiệm tốt, từ giá thành, cảm giác lái đến nền tảng khung gầm. Khi chạy cao tốc, xe cho cảm giác rất đầm chắc... 
Mọi thứ hoạt động rất ổn định, trơn tru và mình cảm thấy rất hài lòng. Xe chạy mượt, không có dấu hiệu bất thường nào khiến mình phải bận tâm. Ngay cả chuyện bảo dưỡng, mình cũng chưa cần phải vào hãng để thay dầu, vì loại dầu động cơ của xe này có chu kỳ thay lên đến 10.000 km. Vậy nên, về cơ bản thì xe vẫn đang trong tình trạng tốt, chưa có gì cần phải lo lắng cả.
PV: Người ta thường nói: "Đã chạy Ford thì khó chuyển sang hãng khác, trừ khi là xe Đức!" Là một người đã từng trải qua hai đời xe Nhật, Thành có thấy điều này đúng không?
Chủ xe: Khi đã mua xe Ford rồi, thực sự rất khó để chọn sang hãng khác như xe Nhật hay xe Hàn, nhất là khi xét trong cùng phân khúc và tầm giá. Trước khi mua xe này, mình cũng đã tìm hiểu rất kỹ, thử lái nhiều mẫu khác nhau như Mitsubishi Triton GLX, Toyota Hilux 4x2... nhưng cuối cùng vẫn chọn Ford vì cảm giác lái của nó phù hợp với mình nhất.
Về tổng thể, xe mang lại trải nghiệm rất ổn, từ giá thành, cảm giác lái cho đến nền tảng khung gầm. Khi chạy cao tốc, xe cho cảm giác rất đầm chắc, không bị bồng bềnh hay có cảm giác 'bay xe' như một số mẫu khác. Đi qua các ổ gà hay đoạn đường xấu, hệ thống treo của xe hoạt động rất tốt, giúp xe êm hơn đáng kể so với một số mẫu bán tải khác. Ví dụ, khi lái chiếc Xforce trước đó của mình, xe có tiếng lục cục khi vào chỗ sóc, nhưng với Ford thì cảm giác rất khác, rất chắc chắn.
Nguoi dung danh gia Ford Ranger, ly do ban XLS luon dat khach?-Hinh-7
Thiết kế của mẫu xe bán tải Ford Ranger không chỉ nhắm đến công năng chở hàng mà còn hướng đến sự tiện dụng trong di chuyển hàng ngày. 
Mặc dù là một chiếc bán tải sử dụng hệ thống treo nhíp lá phía sau, nhưng khi không chở hàng, xe vẫn không quá xóc. Đương nhiên, cảm giác nhún nhảy là có, nhưng không đến mức gây khó chịu – vẫn rất ổn để sử dụng hàng ngày như một chiếc xe du lịch.
Rõ ràng là Ford Ranger đã có sự thay đổi trong hệ thống treo, không chỉ đơn thuần là một chiếc xe bán tải phục vụ mục đích chở hàng mà còn hướng đến người dùng đô thị. Trong khi các mẫu bán tải khác cùng phân khúc vẫn tập trung vào sự thực dụng, khoảng sáng gầm cao và hệ thống treo cứng để phục vụ những cung đường khó khăn, thì Ranger lại cân bằng tốt hơn giữa sự linh hoạt trong phố, cảm giác lái êm ái và khả năng vận hành ổn định.
Vợ mình ban đầu cũng không thích bán tải, nghĩ rằng hàng ghế sau sẽ rất chật vì phần lớn không gian dành cho thùng hàng. Nhưng khi lên xe rồi thì lại thấy thoải mái, rộng rãi hơn so với tưởng tượng. Điều này chứng tỏ rằng thiết kế của Ranger không chỉ nhắm đến công năng chở hàng mà còn hướng đến sự tiện dụng trong di chuyển hàng ngày.
PV: Cảm ơn bạn đã nhận lời phỏng vấn của báo Tri thức & Cuộc sống, chúc anh luôn mạnh khoẻ, bình an, vững vàng tay lái!

BYD Sealion 05 2025 khởi điểm chỉ 380 triệu đồng tại Trung Quốc

BYD Sealion 05 EV 2025 đã chính thức được ra mắt tại Trung Quốc với mức giá khởi điểm là 117.800 nhân dân tệ (16.240 USD - khoảng 380 triệu đồng).

BYD Sealion 05 2025 khoi diem chi 380 trieu dong tai Trung Quoc

Mới đây, mẫu xe crossover BYD Sealion 05 EV 2025 mới đã được ra mắt tại Trung Quốc với mức giá khởi điểm là 117.800 nhân dân tệ (16.240 USD - khoảng 380 triệu đồng). Đây là mẫu SUV dành cho thị trường đại chúng với cốp trước dung tích 110 lít, tủ lạnh, hệ thống hỗ trợ lái xe “God's Eye” C và phạm vi hoạt động lên tới 520 km.


BYD Sealion 05 2025 khoi diem chi 380 trieu dong tai Trung Quoc-Hinh-2

Mẫu xe SUV BYD Sealion 05 EV là một phần của dòng xe Sealion. Dòng xe này bao gồm các biến thể hệ truyền động hoàn toàn bằng điện và plug-in hybrid. Điều đáng nói là dòng xe Sealion hướng đến các thị trường nước ngoài. Trước đó, mẫu xe crossover BYD Sealion 07 EV đã có mặt tại một số quốc gia. 


Đọc nhiều nhất

Sai lầm khi dùng tai nghe nhét tai

Sai lầm khi dùng tai nghe nhét tai

Tai nghe nhét tai tiện lợi nhưng dễ tích tụ bụi bẩn, vi khuẩn. Vệ sinh sai cách hoặc bỏ qua thói quen này có thể ảnh hưởng đến sức khỏe tai.

Tin mới

Sai lầm khi dùng tai nghe nhét tai

Sai lầm khi dùng tai nghe nhét tai

Tai nghe nhét tai tiện lợi nhưng dễ tích tụ bụi bẩn, vi khuẩn. Vệ sinh sai cách hoặc bỏ qua thói quen này có thể ảnh hưởng đến sức khỏe tai.

OpenAI bất ngờ khai tử Sora

OpenAI bất ngờ khai tử Sora

OpenAI đột ngột đóng cửa công cụ tạo video Sora chỉ sau 4 tháng ra mắt, khiến thỏa thuận 1 tỷ USD với Disney tan vỡ và cộng đồng AI ngỡ ngàng.