![]() |
![]() |
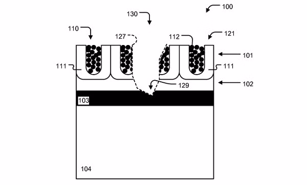
| Mô tả khó hiểu về công nghệ tự làm lành vết xước của Apple |
![]() |
![]() |
| Mô tả khó hiểu về công nghệ tự làm lành vết xước của Apple |
![]() |
ZTE đang chuẩn bị đưa một smartphone mới ra thị trường với tên gọi S2014, thiết bị vừa được chứng nhận từ TENAA Trung Quốc. Thông số kỹ thuật cũng như kiểu dáng của máy cũng được tiết lộ.
![]() |
| Phiên bản chế tác mạ vàng của siêu phẩm đang “nổi đình nổi đám” iPhone 6 vừa mới xuất hiện ở thị trường Việt Nam khiến nhiều tín đồ công nghệ mê mẩn. |
![]() |
| Chiếc iPhone 6 mạ vàng này được sản xuất giới hạn trong lô hàng 199 chiếc. Siêu phẩm sẽ có 2 phiên bản chế tác độc đáo là Glossy Gold II (vàng bóng) và Matte Gold (vàng mờ). |
![]() |
| Tương tự cách mạ vàng như nhiều siêu phẩm trước đây, chiếc iPhone 6 này được mạ lớp vàng 24K cổ điển. |
![]() |
| Logo quả táo bằng kim loại lỏng (liquid metal) được thay bằng vàng nguyên khối 18K. |
![]() |
| Được biết, đội ngũ thợ kỹ thuật và thợ kim hoàn phải dành gần 6 giờ đồng hồ cho việc hoàn tất các công đoạn đánh bóng thủ công cho bề mặt sản phẩm, 15 giờ làm việc liên tục cho việc hoàn chỉnh bề mặt của thiết bị trước khi xử lý các công đoạn tráng phủ, mạ vàng. |
![]() |
| Đặc biệt, siêu phẩm cũng mạ vàng thêm viền quanh nút Home của điện thoại. |
![]() |
| Để cho sản phẩm thêm phần độc, lạ, nhà chế tác còn sử dụng 27 viên kim cương tự nhiên tiêu chuẩn VS1 (15v 1.5, 8v 1.2, 4v 1.0) với tổng khối lượng kim cương tự nhiên lên đến 0.36 carat để “độ” cho các phím chức năng cùng khay sim Nano nguyên bản của chiếc iPhone mới. |
![]() |
| Khung hình đẹp lung linh của siêu phẩm iPhone 6, phiên bản chế tác Matte Gold (vàng mờ). |
![]() |
| Cận cảnh phiên bản Glossy Gold II (vàng bóng) và phụ kiện đựng trong hộp riêng kèm bao da cá sấu. |
![]() |
| Giá chế tác sản phẩm được phân biệt theo từng tiêu chuẩn nội địa hoặc xuất khẩu. Theo đó, mức giá thấp nhất cho iPhone 6 mạ vàng sẽ rơi vào từ 45 triệu đồng lên đến khoảng 72 triệu đồng. |
Theo truyền thông Thái Lan, Toyota nhiều khả năng sẽ tung ra phiên bản nâng cấp giữa vòng đời của Yaris Cross vào năm 2027, trước khi ra mắt tại Đông Nam Á.
MacBook Neo mới của Apple không chỉ là mẫu MacBook có giá phải chăng nhất mà còn là chiếc laptop dễ sửa chữa nhất của hãng trong “khoảng mười bốn năm” qua.
Lexus vừa ra mắt mẫu sedan hybrid IS300h 2026 tại Thái Lan, với hàng loạt thay đổi về thiết kế, công nghệ và trang bị... mức giá bán của xe hiện chưa cong bố.
Toyota Motor Philippines vừa công bố giá bán cho mẫu xe điện Urban Cruiser 2026, đánh dấu bước tiến mới của hãng trong phân khúc xe điện tại thị trường này.
Honda Việt Nam (HVN) vừa ra mắt các phiên bản động cơ xăng nâng cấp của CR-V thế hệ thứ 6, tiếp tục hoàn thiện danh mục sản phẩm bên cạnh các bản hybrid e:HEV
Tháng 2/2026, thị trường ôtô động cơ đốt trong tại Việt Nam sụt giảm mạnh. Đáng chú ý, "vua doanh số" Mitsubishi Xpander vắng mặt trong danh sách này.
Người Nhật hiếm khi gọi điện trên tàu điện ngầm, thói quen giữ yên lặng phản ánh văn hóa tôn trọng riêng tư, kỷ luật cộng đồng và quy tắc ứng xử đặc trưng.
OPPO Find X9 được kỳ vọng là mẫu flagship nổi bật của OPPO khi sở hữu chip Dimensity 9500, màn hình AMOLED 120Hz cùng viên pin dung lượng lớn.
Chiếc siêu xe Aston Martin Vanquish Volante Wave Edition được đấu giá tại Naples Winter Wine Festival 2026 với số tiền hơn 1,1 triệu USD (khoảng 28,8 tỷ đồng.)
Mẫu xe SUV hạng sang cỡ lớn Volvo XC90 2026 sẽ ra mắt Việt Nam vào cuối tháng 3 này. Mức giá dự kiến 3,579 tỷ đồng cùng sự thay đổi động cơ là điểm đáng chú ý.
Hướng dẫn cách diệt virus trên điện thoại OPPO đơn giản, an toàn giúp bảo vệ dữ liệu, tăng hiệu năng và tránh nguy cơ bị đánh cắp thông tin cá nhân.
BMW chưa chính thức công bố 3-Series 2027 thuần điện, tuy nhiên những hình ảnh rò rỉ mới đây đã mang đến cái nhìn rõ nét hơn về mẫu sedan này trước thềm ra mắt.
Phòng thí nghiệm bảo mật ShadowBlade của Xiaomi phát hiện lỗ hổng có thể bẻ khóa bootloader trên bất cứ smartphone nào chạy chip Snapdragon 8 Elite Gen 5.
Cơ quan An ninh mạng và Hạ tầng Mỹ (CISA) đánh giá 2 lỗ hổng cực nghiêm trọng đang bị tin tặc khai thác, kêu gọi tất cả các tổ chức cập nhật càng sớm càng tốt.
Honda Việt Nam (HVN) vừa ra mắt các phiên bản động cơ xăng nâng cấp của CR-V thế hệ thứ 6, tiếp tục hoàn thiện danh mục sản phẩm bên cạnh các bản hybrid e:HEV
Lexus vừa ra mắt mẫu sedan hybrid IS300h 2026 tại Thái Lan, với hàng loạt thay đổi về thiết kế, công nghệ và trang bị... mức giá bán của xe hiện chưa cong bố.
Người Nhật hiếm khi gọi điện trên tàu điện ngầm, thói quen giữ yên lặng phản ánh văn hóa tôn trọng riêng tư, kỷ luật cộng đồng và quy tắc ứng xử đặc trưng.
MacBook Neo mới của Apple không chỉ là mẫu MacBook có giá phải chăng nhất mà còn là chiếc laptop dễ sửa chữa nhất của hãng trong “khoảng mười bốn năm” qua.
Toyota Motor Philippines vừa công bố giá bán cho mẫu xe điện Urban Cruiser 2026, đánh dấu bước tiến mới của hãng trong phân khúc xe điện tại thị trường này.
OPPO Find X9 được kỳ vọng là mẫu flagship nổi bật của OPPO khi sở hữu chip Dimensity 9500, màn hình AMOLED 120Hz cùng viên pin dung lượng lớn.
Tháng 2/2026, thị trường ôtô động cơ đốt trong tại Việt Nam sụt giảm mạnh. Đáng chú ý, "vua doanh số" Mitsubishi Xpander vắng mặt trong danh sách này.
Chiếc siêu xe Aston Martin Vanquish Volante Wave Edition được đấu giá tại Naples Winter Wine Festival 2026 với số tiền hơn 1,1 triệu USD (khoảng 28,8 tỷ đồng.)
Mẫu xe SUV hạng sang cỡ lớn Volvo XC90 2026 sẽ ra mắt Việt Nam vào cuối tháng 3 này. Mức giá dự kiến 3,579 tỷ đồng cùng sự thay đổi động cơ là điểm đáng chú ý.
Mã độc KadNap đã lây nhiễm hơn 14.000 thiết bị mạng, chủ yếu là router của ASUS, biến chúng thành botnet để thực hiện các cuộc tấn công mạng quy mô lớn.
Việc dừng bán Hyundai Palisade 2026 được đưa ra sau khi phát hiện lỗi hệ thống ghế chỉnh điện không nhận diện người, có thể dẫn đến tai nạn nghiêm trọng.
Theo truyền thông Thái Lan, Toyota nhiều khả năng sẽ tung ra phiên bản nâng cấp giữa vòng đời của Yaris Cross vào năm 2027, trước khi ra mắt tại Đông Nam Á.
Pickmon vừa ra mắt trailer với lối chơi giống Pokémon, khiến cộng đồng game thủ bàn tán và đặt câu hỏi liệu Nintendo có khởi kiện như với Palworld.
Volkswagen Việt Nam vừa triển khai chương trình ưu đãi “miễn phí xăng 1 năm” dành cho khách hàng mua các dòng ôtô chủ lực của hãng tại thị trường trong nước.
Chỉ với vài tính năng ẩn như Street View, lớp giao thông hay bản đồ ngoại tuyến, người dùng có thể khai thác Google Maps hiệu quả hơn.
Omoda & Jaecoo Việt Nam chuẩn bị giới thiệu C5 SHS-H – mẫu SUV hybrid được định vị là một trong những mẫu HEV mạnh mẽ nhất trong phân khúc SUV C-Coupe.