Văn phòng Bản quyền thương hiệu Mỹ (USPTO) vừa chính thức thông qua bằng sáng chế của Microsoft trong đó cho thấy rõ ràng hình ảnh một mẫu tablet được hãng này trang bị thêm một màn hình ở mặt sau.
Qua những hình ảnh trong bằng sáng chế được Cơ quan này trưng ra, có thể nhận thấy sản phẩm ý tưởng của Microsoft cũng mang phong cách thiết kế đặc trưng cho dòng máy tính bảng 2-trong-1 Surface của hãng này. Tuy nhiên, ngay phía trên phần chân đế mặt sau của mẫu tablet ý tưởng này lại là một màn hình thứ 2 có diện tích tầm 1 nửa so với diện tích bề mặt lưng máy.
![]() |
| Hình ảnh mẫu tablet ý tưởng với thiết kế thêm màn hình ở mặt lưng của Microsoft. |
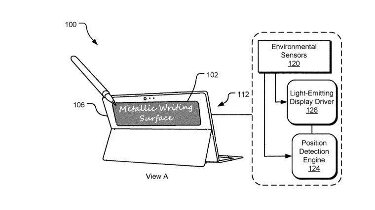
Qua những thông tin mà bằng sáng chế của Microsoft mô tả cho thấy phần màn hình thứ 2 ở mặt lưng chiếc tablet 2 màn hình này có thiết kế khá đặc biệt. Cụ thể hơn, màn hình thứ 2 này là một tập hợp những lớp giúp tạo ra hiệu ứng giúp toàn bộ phần màn hình này trông như bề mặt kim loại của thân máy. Tuy nhiên, những lớp phản chiếu “reflective display” như Microsoft mô tả trong bằng sáng chế của hãng vẫn được thiết kế để ánh sáng từ bề mặt màn hình xuyên qua, giúp người dùng có thể quan sát những nội dung trên đó.
Giới quan sát hiện tỏ ra khá hào hứng với kiểu màn hình mà Microsoft mô tả trong bằng sáng chế này. Tuy nhiên, fan Microsoft không nên quá kỳ vọng vào những gì mà Microsoft “vẽ” ra vì không phải mọi ý tưởng sáng tạo đều được hãng này hiện thực hóa thành những sản phẩm thương mại.


