Toyota Corolla Altis đang giảm hơn 70 triệu tại Việt Nam
Một số đại lý chính hãng đã mạnh tay giảm thẳng giá bán cho mẫu xe sedan Toyota Corolla Altis tới hơn 70 triệu đồng nhưng có nơi chỉ giảm ít, bù lại kèm thêm nhiều phần quà hấp dẫn cho người dùng.
Thảo Nguyễn
Tham khảo qua một số đại lý chính hãng, Toyota Corolla Altis tại Việt Nam đang được chào bán với ưu đãi khá sâu. Cụ thể, một showroom tại Nghệ An báo giá mẫu sedan hạng C này lần lượt là 660 triệu đồng cho bản 1.8E và 733 triệu đồng cho bản 1.8G, tương đương với mức giảm 73 triệu và 30 triệu đồng so với giá niêm yết.
Trong khi đó, một đại lý tại Tây Ninh chỉ có chương trình ưu đãi cho bản 1.8G của Toyota Corolla Altis giảm giá 30 triệu xuống còn 733 triệu đồng nhưng tặng kèm 2 năm bảo hiểm vật chất trị giá 20 triệu đồng và một số quà tặng phụ kiện chính hãng khác. Vậy nên, để nhận được khuyến mãi tốt nhất, người dùng vẫn cần phải tham khảo qua các bên đại lý.
Sau khi giảm, giá bán khởi điểm thực tế của Toyota Corolla Altis chỉ cao hơn bản cao nhất của Toyota Vios 2021 đúng 30 triệu đồng.
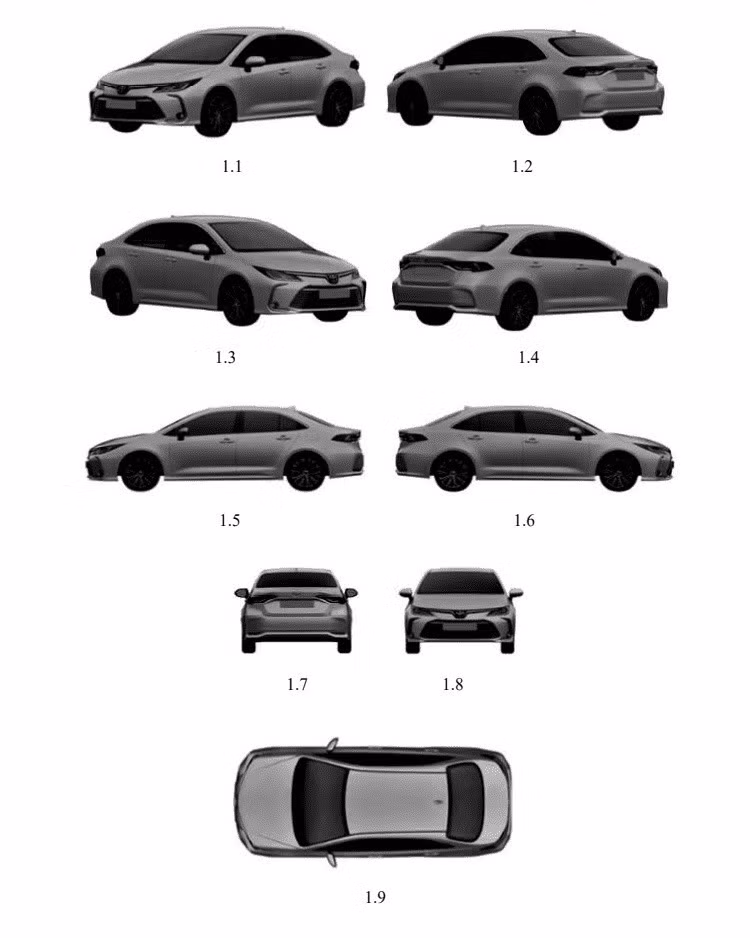
Hiện tượng giảm giá sâu Corolla Altis không khỏi khiến nhiều người dùng đặt nghi vấn về việc mẫu sedan hạng C này chuẩn bị đón bản mới. Nguyên nhân là do vào đầu tháng 2 vừa qua, hình ảnh đăng ký độc quyền kiểu dáng thiết kế của Toyota Corolla Altis thế hệ mới đã xuất hiện trên trang web của Cục Sở hữu Trí tuệ Việt Nam.
Được biết, Toyota Việt Nam nộp đơn xin bảo hộ thiết kế Corolla Altis mới vào ngày 13/3/2019 và được cấp phép vào ngày 10/12/2020.
Thực tế, kể từ giữa năm 2019 đã có tin đồn Toyota Corolla Altis thế hệ mới sẽ được bán ra tại Việt Nam. Thế nhưng đến tháng 8/2020, mẫu sedan hạng C này chỉ đón bản nâng cấp nhẹ, bổ sung thêm gói ngoại thất mới có phần thể thao hơn cùng một số trang bị tiện nghi nhưng giá niêm yết lại giảm nhẹ và đồng thời số phiên bản bán ra thị trường co lại chỉ còn 2 bản. Tại thời điểm đó, nhiều người đã cho rằng đây chỉ là động thái “tô điểm” của hãng nhằm bán nốt những chiếc xe được lắp ráp còn tồn trước khi “lên đời”.
Bản nâng cấp vào năm 2020 của Toyota Corolla Altis chỉ bổ sung gói ngoại thất và một số tiện nghi.
Thế hệ mới của Toyota Corolla Altis được phát triển dựa trên cơ sở gầm bệ Toyota New Global Architecture (TNGA) tương tự như Toyota Camry. Do đó, cột A của mẫu xe này cũng được làm mỏng lại hứa hẹn sẽ có tầm nhìn thoáng hơn đời cũ. Thiết kế nội/ngoại thất của xe cũng sẽ được thay đổi theo hướng hiện đại hơn, trong đó phần đầu của Corolla Altis mới có nhiều điểm giống với Toyota Camry.
Thế hệ mới của Toyota Corolla Altis có kích thước tổng thể là 4.640 mm x 1.780 x 1.435 mm (D x R x C), dài hơn 10 mm, rộng hơn 5 mm và thấp hơn 45 mm so với thế hệ cũ.
Hiện vẫn chưa rõ trong trường hợp ra mắt Việt Nam, thế hệ mới của Toyota Corolla Altis vẫn sẽ được lắp ráp trong nước hay chuyển sang nhập khẩu nguyên chiếc từ Thái Lan. Mẫu xe này cũng được kỳ vọng sẽ có nhiều công nghệ mới ví dụ như gói an toàn Toyota Safety Sense được trang bị trên nhiều sản phẩm mới của Toyota Việt Nam trong năm 2020.
Range Rover Evoque và Land Rover Discovery Sport sẽ được điện hóa
Range Rover Evoque và Land Rover Discovery Sport thế hệ tiếp theo sẽ được xây dựng trên Kiến trúc Mô-đun Điện tử (EMA) mới của JLR, đây là một nền tảng tập trung vào hệ thống truyền động điện.
Mang thiết kế đơn giản, hãng xe Land Rover - Anh quốc hy vọng nền tảng EMA sẽ giải quyết tốt các vấn đề về chất lượng của nhà sản xuất ôtô, điều có thể khiến Jaguar Land Rover mất 100.000 đơn hàng mỗi năm. Được biết, việc triển khai các mẫu xe dựa trên EMA sắp tới là một phần trong chương trình đầu tư 10 tỷ bảng Anh của hãng, kế hoạch dài hạn sẽ kết thúc vào năm 2026.
Loạt tính năng đặc biệt giúp VinFast VF e34 thành xe điện thông minh hàng đầu
(Kiến Thức) - Công nghệ thông minh trên VinFast VF e34 cho phép chiếc xe học hỏi từng ngày bằng trí tuệ nhân tạo để liên tục hoàn thiện và thích ứng với nhu cầu sử dụng của chủ nhân.
Công nghệ phát triển với tốc độ chóng mặt đã xóa bỏ ranh giới giữa định nghĩa ô tô thông thường và phương tiện di chuyển thông minh. Một chiếc ô tô của tương lai không chỉ đơn thuần phục vụ nhu cầu đi lại mà còn được tích hợp rất nhiều công nghệ để có thể tự động hiểu được ý đồ chủ nhân, đồng thời đưa ra giải pháp tối ưu nhất trong mọi tình huống.
Toyota Corolla Altis "xả hàng", giảm gần 200 triệu tại Việt Nam
(Kiến Thức) - Sau khi Toyota Việt Nam giới thiệu Corolla Altis 2020 bản nâng cấp mới. Một số đại lý đã giảm giá mạnh để “xả hàng” cho phiên bản cũ chỉ còn hơn 760 triệu so với mức giá niêm yết 932 triệu đồng.
Một đại lý xe Toyota Việt Nam ở TP HCM mới đây đã đăng tin rao bán Corolla Altis 2.0V CVT Sport phiên bản cũ với giá khoảng 760 triệu đồng. Với mức bán ra này, Toyota Corolla Altis giảm giá gần 170 triệu đồng so trên mức giá niêm yết 932 triệu đồng trước đó.
Chiếc xe SUV Mercedes-AMG GLS 63 này có màu đen, nội thất nâu và còn mới 100%, chưa đăng ký do nằm lưu kho tại cảng Hải Phòng từ 2018 đến nay mới xong thủ tục.
Mẫu môtô hoàn toàn mới Yamaha R9 2026 đã chính thức được mở bán tại Việt Nam với giá 339 triệu đồng, cạnh tranh trong phân khúc supersport vốn kén người chơi.
Mitsubishi chuẩn bị giới thiệu mẫu xe điện hoàn toàn mới vào cuối năm nay. Đây sẽ là sản phẩm hợp tác với đối tác Đài Loan và có sức mạnh tới hơn 400 mã lực.
Sau nhiều năm duy trì thiết kế an toàn, Toyota Corolla – dòng xe sedan bán chạy nhất toàn cầu đang đứng trước kỳ vọng thay đổi mạnh mẽ để chinh phục khách hàng.
Sau khi những hình ảnh Hyundai SantaFe 2027 bị rò rỉ, mới đây các tay săn ảnh tiếp tục ghi lại được loạt ảnh nội thất của mẫu SUV này khi đang chạy thử tại Mỹ.
Tài liệu nội bộ từ đại lý cho thấy, hai mẫu xe lâu đời nhất của Mazda là CX-3 và Mazda2 sẽ ngừng sản xuất vào 2026 sau khi có mặt trên thị trường hơn 10 năm.
VinFast VF MPV 7 được xem là phiên bản gia đình của dòng xe dịch vụ Limo Green hiện đang được các đại lý chào mời đặc cọc với mức giá dự kiến từ 819 triệu đồng.
Kia Morning có tỷ lệ tăng trưởng cao nhất phân khúc xe hạng A tháng 12/2025 dù doanh số thực tế lại khá chậm. Đáng chú ý, đối thủ Toyota Wigo lại lao dốc.
VinFast VF MPV 7 được xem là phiên bản gia đình của dòng xe dịch vụ Limo Green hiện đang được các đại lý chào mời đặc cọc với mức giá dự kiến từ 819 triệu đồng.
Sau khi những hình ảnh Hyundai SantaFe 2027 bị rò rỉ, mới đây các tay săn ảnh tiếp tục ghi lại được loạt ảnh nội thất của mẫu SUV này khi đang chạy thử tại Mỹ.
Sau nhiều năm duy trì thiết kế an toàn, Toyota Corolla – dòng xe sedan bán chạy nhất toàn cầu đang đứng trước kỳ vọng thay đổi mạnh mẽ để chinh phục khách hàng.
Mẫu môtô hoàn toàn mới Yamaha R9 2026 đã chính thức được mở bán tại Việt Nam với giá 339 triệu đồng, cạnh tranh trong phân khúc supersport vốn kén người chơi.
Mitsubishi chuẩn bị giới thiệu mẫu xe điện hoàn toàn mới vào cuối năm nay. Đây sẽ là sản phẩm hợp tác với đối tác Đài Loan và có sức mạnh tới hơn 400 mã lực.
Chiếc xe SUV Mercedes-AMG GLS 63 này có màu đen, nội thất nâu và còn mới 100%, chưa đăng ký do nằm lưu kho tại cảng Hải Phòng từ 2018 đến nay mới xong thủ tục.
Tài liệu nội bộ từ đại lý cho thấy, hai mẫu xe lâu đời nhất của Mazda là CX-3 và Mazda2 sẽ ngừng sản xuất vào 2026 sau khi có mặt trên thị trường hơn 10 năm.
Tại Tokyo Auto Salon 2026, Honda Civic Type R ARTA GT đã chính thức được ra mắt, đánh dấu sự hợp tác giữa Honda và đội đua Autobacs Racing Team Aguri (ARTA).
Dù phân khúc sedan hạng trung đang dần thu hẹp tại nhiều thị trường, một bản dựng kỹ thuật số mới đây của Mazda6 thế hệ mới đã thu hút sự chú ý của người dùng.
Renault Filante 2026 là mẫu SUV dựa trên nền tảng CMA, được kỳ vọng sẽ trở thành mẫu xe chủ lực của thương hiệu Pháp tại thị trường Hàn Quốc cũng như châu Âu.
Thay vì Nissan, đối tác liên minh Mitsubishi được giao nhiệm vụ sản xuất mẫu SUV Rogue Plug-In Hybrid và mẫu xe bán tải cỡ trung Navara 2026 được thiết kế lại.
Hãng Tesla đã ra mắt phiên bản 7 chỗ của Model Y 2026 tại Mỹ, nhưng đó không phải là cùng một chiếc xe với phiên bản trục cơ sở dài hơn được bán ở Trung Quốc.
Ford Bronco RTR 2027 mẫu xe giao thoa giữa trang bị tiện nghi Bronco Raptor và động cơ nhỏ, kèm giá hấp dẫn hơn để sẵn sành chinh phục mọi địa hình hiểm trở.
Jeep Wrangler là mẫu xe đầu tiên dự kiến sẽ lắp ráp trong nước với 3 phiên bản Sahara, Rubicon và Willy và giá bán rẻ hơn nhiều so với xe nhập khẩu từ Mỹ.
Sau khi Red Bull và Max Verstappen tiết lộ thông tin về mẫu xe thể thao mới, Ford cũng không chần chừ mà chính thức công bố Mustang Dark Horse SC 2026.
Mitsubishi Montero hay Pajero được kỳ vọng sẽ sớm ra mắt phiên bản hoàn toàn mới trong thời gian tới, với loạt thay đổi đáng chú ý từ thiết kế đến công nghệ.