![]() |
Báo cáo cho biết Apple đã thảo luận về nhiều kích thước khác nhau cho thiết bị màn hình gập của mình, bao gồm màn hình 6,7 inch tương tự như Motorola Razr hoặc Galaxy Z Flip - một chiếc điện thoại nhỏ có kích thước giống như iPhone 12 Pro Max. Đây sẽ là thiết kế khác hoàn toàn Galaxy Fold với phần vẻ ngoài trông giống máy tính bảng hơn, mặc dù chắc chắn Apple cũng đang nghiên cứu các loại kích thước lớn hơn.
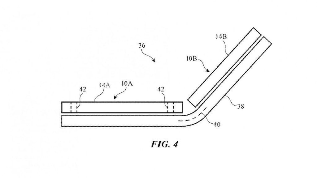
Khoảng một vài tháng trước, đã có báo cáo về các bằng sáng chế của Apple liên quan đến một chiếc iPhone gập với màn hình rời. Không rõ nguyên mẫu hiện tại đang sử dụng công nghệ nào, nhưng chắc chắn một điều rằng Apple sẽ không đi lại vết xe đổ của các hãng công nghệ trước đó với các thiết bị màn hình gập đầu tiên vẫn tổn tại các nếp nhăn giữa màn hình.
Đơn xin cấp bằng sáng chế của Apple trước đó có tên “Thiết bị điện tử có lớp che màn hình linh hoạt”, đề cập tới một chiếc iPhone gập với màn hình tự phục hồi vết xước, đề xuất các phương pháp giảm thiểu thiệt hại và cách khắc phục. Quá trình này có thể diễn ra nhờ vào các tác động từ môi trường bên ngoài như nhiệt, ánh sáng, dòng điện… Tuy nhiên, công ty vẫn chưa đề cập đến quá trình tự phục hồi này sẽ hoạt động như thế nào.
