Lộ diện thêm phiên bản Toyota Corolla Altis 2021 tại Việt Nam

Lộ diện thêm phiên bản Toyota Corolla Altis 2021 tại Việt Nam

(Kiến Thức) - Một phiên bản Toyota Corolla Altis 2021 thế hệ mới với thiết kế khác biệt bản tại Thái Lan đã được Toyota Việt Nam xin đăng kí bản quyền. Theo đó, đây chính là phiên bản Corolla XSE tại Mỹ.

Theo thông tin được biết, Toyota Việt Nam đã nộp đơn xin bảo hộ thiết kế của Toyota Corolla Altis mới vào ngày 13/3/2019 và ngày cấp bằng là 10/12/2020. Dựa vào hình ảnh xin đăng kí, đây là chiếc Toyota Corolla Altis thế hệ thứ 12 đã ra mắt thị trường Thái Lan hồi cuối năm 2019 và xuất hiện tại Việt Nam vào tháng 3/2020.
Theo thông tin được biết, Toyota Việt Nam đã nộp đơn xin bảo hộ thiết kế của Toyota Corolla Altis mới vào ngày 13/3/2019 và ngày cấp bằng là 10/12/2020. Dựa vào hình ảnh xin đăng kí, đây là chiếc Toyota Corolla Altis thế hệ thứ 12 đã ra mắt thị trường Thái Lan hồi cuối năm 2019 và xuất hiện tại Việt Nam vào tháng 3/2020.
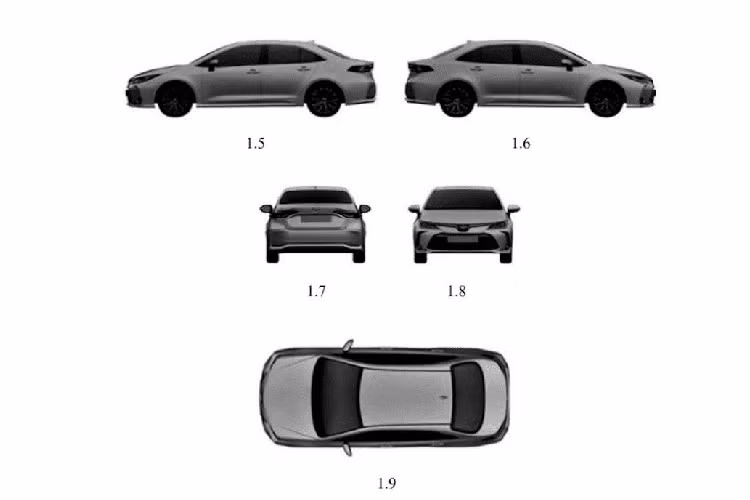
Tuy nhiên, bên cạnh Toyota Altis thế hệ mới, Toyota Việt Nam còn xin đăng kí bảo hộ thiết kế của chiếc sedan Toyota Corolla XSE phiên bản Mỹ. Theo đó, đơn bảo hộ kiểu dáng chiếc sedan Toyota Corolla XSE phiên bản Mỹ được nộp vào ngày 13/3/2019 và ngày được cấp bằng là 28/12/2020.
Tuy nhiên, bên cạnh Toyota Altis thế hệ mới, Toyota Việt Nam còn xin đăng kí bảo hộ thiết kế của chiếc sedan Toyota Corolla XSE phiên bản Mỹ. Theo đó, đơn bảo hộ kiểu dáng chiếc sedan Toyota Corolla XSE phiên bản Mỹ được nộp vào ngày 13/3/2019 và ngày được cấp bằng là 28/12/2020.
Phiên bản này hiện đang bán tại thị trường Mỹ và cũng được đăng kí xin bảo hộ trí tuệ tại một số thị trường khác như Brazil. Thiết kế của chiếc sedan Toyota Corolla khác biệt nhiều với chiếc Corolla tiêu chuẩn ra mắt tại thị trường Thái Lan trong năm 2020 và cũng khác biệt hẳn với phiên bản Altis đang bán tại Việt Nam.
Phiên bản này hiện đang bán tại thị trường Mỹ và cũng được đăng kí xin bảo hộ trí tuệ tại một số thị trường khác như Brazil. Thiết kế của chiếc sedan Toyota Corolla khác biệt nhiều với chiếc Corolla tiêu chuẩn ra mắt tại thị trường Thái Lan trong năm 2020 và cũng khác biệt hẳn với phiên bản Altis đang bán tại Việt Nam.
Điểm rõ ràng nhất là lưới tản nhiệt phía trước và hốc đèn sương mù. Ở phiên bản tiêu chuẩn, Toyota Corolla Altis hoàn toàn tách biệt giữa hốc gió bên và lưới tản nhiệt thì ở phiên bản Mỹ lưới tản nhiệt lại nối liền với hốc gió bên. Đèn sương mù ở bản Altis Thái Lan vuốt ngược lên phía trên trong khi bản Mỹ có một đường đâm ngược xuống phía dưới.
Điểm rõ ràng nhất là lưới tản nhiệt phía trước và hốc đèn sương mù. Ở phiên bản tiêu chuẩn, Toyota Corolla Altis hoàn toàn tách biệt giữa hốc gió bên và lưới tản nhiệt thì ở phiên bản Mỹ lưới tản nhiệt lại nối liền với hốc gió bên. Đèn sương mù ở bản Altis Thái Lan vuốt ngược lên phía trên trong khi bản Mỹ có một đường đâm ngược xuống phía dưới.
Về nội thất, ghế và các chi nội thất trên phiên bản Corolla Altis tại thị trường Mỹ sẽ được bọc vải cao cấp. Trong khi đó, phiên bản Edition sẽ được bọc vải màu đen SofTex. Phiên bản này cũng đi kèm với ghế trước có sưởi, bao gồm ghế lái điều chỉnh điện 8 hướng với hỗ trợ thắt lưng điện. Hệ thống giải trí trên xe đều hỗ trợ Android Auto, Apple CarPlay và Amazon Alexa.
Về nội thất, ghế và các chi nội thất trên phiên bản Corolla Altis tại thị trường Mỹ sẽ được bọc vải cao cấp. Trong khi đó, phiên bản Edition sẽ được bọc vải màu đen SofTex. Phiên bản này cũng đi kèm với ghế trước có sưởi, bao gồm ghế lái điều chỉnh điện 8 hướng với hỗ trợ thắt lưng điện. Hệ thống giải trí trên xe đều hỗ trợ Android Auto, Apple CarPlay và Amazon Alexa.
Giá xe Toyota Corolla Altis mới tại Mỹ vào khoảng hơn 20.000 USD. Xe sử dụng động cơ I4 2.0L cho công suất 169 mã lực và mô men xoắn 151 Nm. Khối động cơ này giúp xe tăng tốc từ 0-100 km/h chỉ trong 8,2 giây.
Giá xe Toyota Corolla Altis mới tại Mỹ vào khoảng hơn 20.000 USD. Xe sử dụng động cơ I4 2.0L cho công suất 169 mã lực và mô men xoắn 151 Nm. Khối động cơ này giúp xe tăng tốc từ 0-100 km/h chỉ trong 8,2 giây.
Theo một số nguồn tin, Toyota Corolla Altis thế hệ mới đã ra mắt tại Thái Lan sẽ xuất hiện tại Việt Nam, trong khi đó phiên bản tại Mỹ vẫn còn là một ẩn số.
Theo một số nguồn tin, Toyota Corolla Altis thế hệ mới đã ra mắt tại Thái Lan sẽ xuất hiện tại Việt Nam, trong khi đó phiên bản tại Mỹ vẫn còn là một ẩn số.
Toyota Corolla Altis hiện đang phân phối tại Việt Nam có giá từ 733 đến 771 triệu đồng cho 4 phiên bản. Nằm trong phân khúc hạng C, Toyota Corolla Altis là cái tên ít có sự thay đổi nhất hiện nay so với các đối thủ. Nếu như Kia Cerato, Mazda 3 đều có sự đổi mới thì mẫu xe nhà Toyota vẫn khá bảo thủ, nhiều năm liền không có thay đổi lớn. Tuy nhiên, rất có thể trong năm 2021 này, mẫu sedan hạng C nhà Toyota sẽ có thay đổi lớn, cải thiện doanh số và tìm lại ánh hào quang năm nào.
Toyota Corolla Altis hiện đang phân phối tại Việt Nam có giá từ 733 đến 771 triệu đồng cho 4 phiên bản. Nằm trong phân khúc hạng C, Toyota Corolla Altis là cái tên ít có sự thay đổi nhất hiện nay so với các đối thủ. Nếu như Kia Cerato, Mazda 3 đều có sự đổi mới thì mẫu xe nhà Toyota vẫn khá bảo thủ, nhiều năm liền không có thay đổi lớn. Tuy nhiên, rất có thể trong năm 2021 này, mẫu sedan hạng C nhà Toyota sẽ có thay đổi lớn, cải thiện doanh số và tìm lại ánh hào quang năm nào.
Video: Toyota Corolla Altis 2021 thay đổi những gì?

GALLERY MỚI NHẤT