Toyota Corolla Altis 2021 sắp về Việt Nam được kỳ vọng những gì?

Toyota Corolla Altis 2021 sắp về Việt Nam được kỳ vọng những gì?

(Kiến Thức) - Toyota Corolla Altis 2021 mới tại Việt Nam sẽ mang thiết kế nội, ngoại thất tương đồng với bản Thái Lan. Đây là yếu tố có thể giúp Altis dành lại thị phần đã mất trước các đối thủ như Mazda3, Kia Cerato.

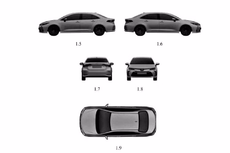
Theo thông tin đăng tải trên trang chủ của Cục Sở hữu Trí tuệ, Toyota Việt Nam đã đăng ký thành công bảo hộ thiết kế của mẫu xe Corolla Altis thế hệ mới vào ngày 10/12/2020. Thông qua hình ảnh này, không khó để nhận ra thiết kế ngoại thất của Toyota Corolla Altis 2021 mới tại thị trường Việt Nam gần như tương đồng so với bản đang bán ra tại Thái Lan.
Theo thông tin đăng tải trên trang chủ của Cục Sở hữu Trí tuệ, Toyota Việt Nam đã đăng ký thành công bảo hộ thiết kế của mẫu xe Corolla Altis thế hệ mới vào ngày 10/12/2020. Thông qua hình ảnh này, không khó để nhận ra thiết kế ngoại thất của Toyota Corolla Altis 2021 mới tại thị trường Việt Nam gần như tương đồng so với bản đang bán ra tại Thái Lan.
Theo hình ảnh từ Cục Sở hữu Trí tuệ, mẫu xe sedan Toyota Corolla Altis 2021 tại thị trường Việt Nam dự kiến sẽ có ít nhất 2 phiên bản. Điểm chú ý chính nằm ở thiết kế đèn pha phía trước với 2 kiểu khác nhau, có thể nhằm mục đích phân biệt bản cao cấp và bản tiêu chuẩn.
Theo hình ảnh từ Cục Sở hữu Trí tuệ, mẫu xe sedan Toyota Corolla Altis 2021 tại thị trường Việt Nam dự kiến sẽ có ít nhất 2 phiên bản. Điểm chú ý chính nằm ở thiết kế đèn pha phía trước với 2 kiểu khác nhau, có thể nhằm mục đích phân biệt bản cao cấp và bản tiêu chuẩn.
Về kiểu dáng, Toyota Corolla Altis thế hệ thứ 12 là một mẫu xe hoàn toàn mới khi được xây dựng trên nền tảng Toyota New Global Architecture (TNGA) GA-C, tương tự Prius và C-HR. Xe có kích thước dài x rộng x cao lần lượt là 4.640 x 1.780 x 1.435 mm. Như vậy, Altis mới dài hơn 10mm, rộng hơn 5mm và thấp hơn 45mm so với mẫu Altis tiền nhiệm.
Về kiểu dáng, Toyota Corolla Altis thế hệ thứ 12 là một mẫu xe hoàn toàn mới khi được xây dựng trên nền tảng Toyota New Global Architecture (TNGA) GA-C, tương tự Prius và C-HR. Xe có kích thước dài x rộng x cao lần lượt là 4.640 x 1.780 x 1.435 mm. Như vậy, Altis mới dài hơn 10mm, rộng hơn 5mm và thấp hơn 45mm so với mẫu Altis tiền nhiệm.
Bên cạnh phần ngoại hình mới bắt mắt và hiện đại, Toyota Corolla Altis 2021 cũng sở hữu không gian cabin gọn gàng, dễ nhìn hiện đại và mang đậm hơi hướng thiết kế chung của Toyota thời gian gần đây. Với phong cách tạo hình mới, giờ đây bảng điều khiển trung tâm trên Altis 2021 đã không còn làm kiểu phẳng lì như trước mà thay vào đó là thiết kế nổi khối với màn hình giải trí nhô cao khỏi mặt táp-lô. Thêm vào đó, trên phiên bản cao cấp nhất, Altis 2021 có thể còn được trang bị màn hình công-tơ-mét dạng LCD như "người anh em" Corolla Cross.
Bên cạnh phần ngoại hình mới bắt mắt và hiện đại, Toyota Corolla Altis 2021 cũng sở hữu không gian cabin gọn gàng, dễ nhìn hiện đại và mang đậm hơi hướng thiết kế chung của Toyota thời gian gần đây. Với phong cách tạo hình mới, giờ đây bảng điều khiển trung tâm trên Altis 2021 đã không còn làm kiểu phẳng lì như trước mà thay vào đó là thiết kế nổi khối với màn hình giải trí nhô cao khỏi mặt táp-lô. Thêm vào đó, trên phiên bản cao cấp nhất, Altis 2021 có thể còn được trang bị màn hình công-tơ-mét dạng LCD như "người anh em" Corolla Cross.

Về trang bị, bên cạnh những công nghệ an toàn sẵn có, Toyota Corolla Altis thế hệ mới tại thị trường Thái Lan còn được bổ sung gói Toyota Safety Sense (TSS). Chính vì vậy, đối với phiên bản sắp bán ra tại Việt Nam, Corolla Altis được kỳ vọng sẽ không bị cắt bỏ đi gói trang bị hữu ích này
Về trang bị, bên cạnh những công nghệ an toàn sẵn có, Toyota Corolla Altis thế hệ mới tại thị trường Thái Lan còn được bổ sung gói Toyota Safety Sense (TSS). Chính vì vậy, đối với phiên bản sắp bán ra tại Việt Nam, Corolla Altis được kỳ vọng sẽ không bị cắt bỏ đi gói trang bị hữu ích này


Về truyền động, Toyota Corolla Altis 2021 có thể sẽ được bán ra tới người dùng trong nước với trang bị động cơ xăng 1.8L, sản sinh công suất 138 mã lực và 178 Nm mô-men xoắn tương tự bản trước thay vì có tới 3 phiên bản động cơ tuỳ chọn như ở Thái Lan. Mức giá xe Toyota Corolla Altis 2021 chưa được công bố tại Việt Nam, nhưng dự đoán sẽ khá cạnh tranh so với các đối thủ.
Về truyền động, Toyota Corolla Altis 2021 có thể sẽ được bán ra tới người dùng trong nước với trang bị động cơ xăng 1.8L, sản sinh công suất 138 mã lực và 178 Nm mô-men xoắn tương tự bản trước thay vì có tới 3 phiên bản động cơ tuỳ chọn như ở Thái Lan. Mức giá xe Toyota Corolla Altis 2021 chưa được công bố tại Việt Nam, nhưng dự đoán sẽ khá cạnh tranh so với các đối thủ.
Video: Giới thiệu Toyota Corolla Altis 2021 thế hệ mới.



GALLERY MỚI NHẤT