iPhone màn hình gập đẹp xuất thần, ăn đứt công nghệ của Samsung

iPhone màn hình gập đẹp xuất thần, ăn đứt công nghệ của Samsung

Người dùng vẫn còn xa lạ và nghi ngờ độ bền bỉ của những chiếc smartphone màn hình gập. Tuy nhiên, trong một sáng chế mới, Apple có vẻ đã giải quyết được các hạn chế loại màn hình này hay mắc phải. 

Một trong những vấn đề lớn đối với điện thoại màn hình gập khiến người dùng lo lắng, hoang mang nhất là sự ảnh hưởng màn hình trong quá trình sử dụng. Việc đóng gập quá nhanh, đột ngột có thể khiến vùng màn hình nhanh hư hỏng so với cấu trúc điện thoại thông thường.
Một trong những vấn đề lớn đối với điện thoại màn hình gập khiến người dùng lo lắng, hoang mang nhất là sự ảnh hưởng màn hình trong quá trình sử dụng. Việc đóng gập quá nhanh, đột ngột có thể khiến vùng màn hình nhanh hư hỏng so với cấu trúc điện thoại thông thường.
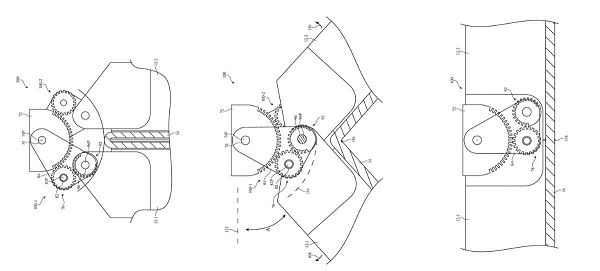
Trong một bằng sáng chế được Văn phòng Thương hiệu và Sáng chế Hoa Kỳ cấp cho Apple có tiêu đề “Thiết bị điện tử gập có bản lề giảm tốc” cho thấy hãng công nghệ này cố gắng giải quyết vấn đề nan giải trên bằng một cơ chế hỗ trợ.
Trong một bằng sáng chế được Văn phòng Thương hiệu và Sáng chế Hoa Kỳ cấp cho Apple có tiêu đề “Thiết bị điện tử gập có bản lề giảm tốc” cho thấy hãng công nghệ này cố gắng giải quyết vấn đề nan giải trên bằng một cơ chế hỗ trợ.
Apple đề xuất các hệ thống bánh răng khác nhau có thể được sử dụng trên cơ chế bản lề của iPhone màn hình gập. Các bánh răng này có khả năng xoay và lăn dọc theo các bộ phận giá đỡ khi thiết bị được gập và mở ra.
Apple đề xuất các hệ thống bánh răng khác nhau có thể được sử dụng trên cơ chế bản lề của iPhone màn hình gập. Các bánh răng này có khả năng xoay và lăn dọc theo các bộ phận giá đỡ khi thiết bị được gập và mở ra.
Điều này giúp dịch chuyển và cố định một cách an toàn khi màn hình thiết bị được mở ra hoặc gập lại trong suốt quá trình sử dụng.
Điều này giúp dịch chuyển và cố định một cách an toàn khi màn hình thiết bị được mở ra hoặc gập lại trong suốt quá trình sử dụng.
Ngoài ra, các tiết lộ cho thấy, bản lề có thể được làm bằng vật liệu gốm để tăng độ bền.
Ngoài ra, các tiết lộ cho thấy, bản lề có thể được làm bằng vật liệu gốm để tăng độ bền.
Đối với màn hình, ngoài việc được phủ một lớp hóa chất bảo vệ, còn có thêm một bộ phận đặc biệt được tích hợp để sưởi ấm màn hình khi nhiệt độ quá thấp. Vì như chúng ta đều biết nhiệt độ thấp có thể khiến cho màn hình gập dễ bị hư hại hơn.
Đối với màn hình, ngoài việc được phủ một lớp hóa chất bảo vệ, còn có thêm một bộ phận đặc biệt được tích hợp để sưởi ấm màn hình khi nhiệt độ quá thấp. Vì như chúng ta đều biết nhiệt độ thấp có thể khiến cho màn hình gập dễ bị hư hại hơn.
Đã có khá nhiều tin đồn về việc Apple sẽ ra mắt iPhone màn hình gập. Chuyên gia phân tích Ming-Chi Kuo dự đoán, sản phẩm này có thể ra mắt vào năm 2023, với kích thước màn hình 7,5 - 8 inch.
Đã có khá nhiều tin đồn về việc Apple sẽ ra mắt iPhone màn hình gập. Chuyên gia phân tích Ming-Chi Kuo dự đoán, sản phẩm này có thể ra mắt vào năm 2023, với kích thước màn hình 7,5 - 8 inch.
Thiết kế màn hình gập hiện tại vẫn chưa được thống nhất, có vẻ như Apple muốn chờ đợi thêm để tìm ra được một thiết kế hoàn thiện nhất.
Thiết kế màn hình gập hiện tại vẫn chưa được thống nhất, có vẻ như Apple muốn chờ đợi thêm để tìm ra được một thiết kế hoàn thiện nhất.
Trong một bằng sáng chế trước đó của Apple có tiêu đề “Thiết bị điện tử có màn hình linh hoạt” mô tả công nghệ có thể làm nóng phần bản lề của màn hình trước khi uốn cong, để màn hình không bị nhăn.
Trong một bằng sáng chế trước đó của Apple có tiêu đề “Thiết bị điện tử có màn hình linh hoạt” mô tả công nghệ có thể làm nóng phần bản lề của màn hình trước khi uốn cong, để màn hình không bị nhăn.
Hệ thống mà Apple trình bày sẽ sử dụng một cảm biến nhiệt độ trên bo mạch để phát hiện nhiệt độ của thiết bị và xác định xem việc làm nóng màn hình có an toàn hay không. Nếu việc uốn cong màn hình là an toàn, các cảm biến sẽ xác định khu vực nào cần được làm nóng.
Hệ thống mà Apple trình bày sẽ sử dụng một cảm biến nhiệt độ trên bo mạch để phát hiện nhiệt độ của thiết bị và xác định xem việc làm nóng màn hình có an toàn hay không. Nếu việc uốn cong màn hình là an toàn, các cảm biến sẽ xác định khu vực nào cần được làm nóng.
Sau đó, các điểm ảnh của những khu vực đó sẽ sáng lên đến mức tối đa tạo ra nhiệt. Ngoài ra còn có một đề xuất trong đó màn hình có thể gập lại sẽ sử dụng lớp bảo vệ màn hình để làm nóng màn hình.
Sau đó, các điểm ảnh của những khu vực đó sẽ sáng lên đến mức tối đa tạo ra nhiệt. Ngoài ra còn có một đề xuất trong đó màn hình có thể gập lại sẽ sử dụng lớp bảo vệ màn hình để làm nóng màn hình.
Mời các bạn xem video: Điểm nhấn từ sự kiện ra mắt iPhone mới của Apple. Nguồn: VTV24

GALLERY MỚI NHẤT

Cận cảnh công trình hồ điều hòa Cự Khối gần 1.000 tỷ ở Long Biên

Cận cảnh công trình hồ điều hòa Cự Khối gần 1.000 tỷ ở Long Biên

Dự án mương Việt Hưng - Cầu Bây và hồ điều hòa Cự Khối tại phường Long Biên đang được tăng tốc thi công với nhiều hạng mục đạt tiến độ tích cực. Khi hoàn thành, công trình sẽ góp phần giảm úng ngập, nâng cao năng lực tiêu thoát nước và cải thiện cảnh quan khu vực phía Đông Hà Nội.