Khó giải xác ướp mang thai đầu tiên trên thế giới

Khó giải xác ướp mang thai đầu tiên trên thế giới

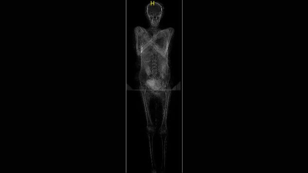
Các chuyên gia mới công bố phát hiện xác ướp mang thai đầu tiên trên thế giới. Thi hài này có niên đại vào thế kỷ thứ nhất tại Ai Cập. Người phụ nữ qua đời khi mang thai khoảng 6,5 - 7,5 tháng.

Các nhà khảo cổ học thuộc Học viện Khoa học Ba Lan làm việc trong Dự án Xác ướp Warsaw tiến hành quét tất cả các xác ướp được lưu giữ và bảo quản trong các bảo tàng. Trong quá trình đó, họ phát hiện ra xác ướp mang thai đầu tiên trên thế giới.
Các nhà khảo cổ học thuộc Học viện Khoa học Ba Lan làm việc trong Dự án Xác ướp Warsaw tiến hành quét tất cả các xác ướp được lưu giữ và bảo quản trong các bảo tàng. Trong quá trình đó, họ phát hiện ra xác ướp mang thai đầu tiên trên thế giới.
Theo các chuyên gia, xác ướp thuộc về một phụ nữ qua đời khi khoảng 20 - 30 tuổi. Tử cung của người này có một bào thai khoảng 6,5 - 7,5 tháng tuổi.
Theo các chuyên gia, xác ướp thuộc về một phụ nữ qua đời khi khoảng 20 - 30 tuổi. Tử cung của người này có một bào thai khoảng 6,5 - 7,5 tháng tuổi.
Đây là lần đầu tiên các chuyên gia tìm thấy xác ướp mang thai. Vì vậy, họ chưa thể lý giải được vì sao thai nghi được giữ trong tử cung của người phụ nữ thay vì ướp xác riêng. Bởi lẽ, thông thường, khi ướp xác, người Ai Cập thời cổ đại thường loại bỏ tim, phổi, gan và ruột cùng dạ dày trong cơ thể và đem ướp xác riêng. Thai nhi cũng như vậy.
Đây là lần đầu tiên các chuyên gia tìm thấy xác ướp mang thai. Vì vậy, họ chưa thể lý giải được vì sao thai nghi được giữ trong tử cung của người phụ nữ thay vì ướp xác riêng. Bởi lẽ, thông thường, khi ướp xác, người Ai Cập thời cổ đại thường loại bỏ tim, phổi, gan và ruột cùng dạ dày trong cơ thể và đem ướp xác riêng. Thai nhi cũng như vậy.
Các chuyên gia cũng chưa thể lý giải người phụ nữ này tử vong vì nguyên nhân nào. Kỳ bí hơn, xác ướp được đặt vào bên trong một cỗ quan tài của nam giới.
Các chuyên gia cũng chưa thể lý giải người phụ nữ này tử vong vì nguyên nhân nào. Kỳ bí hơn, xác ướp được đặt vào bên trong một cỗ quan tài của nam giới.
Trên quan tài có khắc dòng chữ Hor-Djehuty. Điều này khiến các chuyên gia ban đầu cho rằng xác ướp bên trong thuộc về một nam linh mục có tên như vậy.
Trên quan tài có khắc dòng chữ Hor-Djehuty. Điều này khiến các chuyên gia ban đầu cho rằng xác ướp bên trong thuộc về một nam linh mục có tên như vậy.
Thế nhưng, khi kiểm tra kỹ lưỡng, các chuyên gia phát hiện xác ướp thuộc về một phụ nữ mang thai. Điều này cho thấy xác ướp không trùng khớp với nội dung khắc trên quan tài.
Thế nhưng, khi kiểm tra kỹ lưỡng, các chuyên gia phát hiện xác ướp thuộc về một phụ nữ mang thai. Điều này cho thấy xác ướp không trùng khớp với nội dung khắc trên quan tài.
Thông qua một số kiểm tra, các chuyên gia xác định niên đại của xác ướp mang thai này khoảng 2.000 năm tuổi. Sau khi qua đời, người phụ nữ được ướp xác. Bên ngoài xác ướp được bọc bằng vải chất lượng cao cùng loạt bùa hộ mệnh tượng trưng cho "Bốn người con của Horus". Điều này cho thấy người phụ nữ đó có địa vị quan trọng ở Thebes hơn 2.000 năm trước.
Thông qua một số kiểm tra, các chuyên gia xác định niên đại của xác ướp mang thai này khoảng 2.000 năm tuổi. Sau khi qua đời, người phụ nữ được ướp xác. Bên ngoài xác ướp được bọc bằng vải chất lượng cao cùng loạt bùa hộ mệnh tượng trưng cho "Bốn người con của Horus". Điều này cho thấy người phụ nữ đó có địa vị quan trọng ở Thebes hơn 2.000 năm trước.
Thêm nữa, xác ướp mang thai đầu tiên trên thế giới được tìm thấy trong các ngôi mộ hoàng gia ở Thebes, vùng Thượng Ai Cập, thuộc tầng lớp thượng lưu của cộng đồng Theban.
Thêm nữa, xác ướp mang thai đầu tiên trên thế giới được tìm thấy trong các ngôi mộ hoàng gia ở Thebes, vùng Thượng Ai Cập, thuộc tầng lớp thượng lưu của cộng đồng Theban.
Được phát hiện vào những năm 1800, xác ướp phụ nữ mang thai trên được đưa đến Warsaw, Ba Lan năm 1826. Hiện thi hài người phụ nữ này đang được trưng bày tại Bảo tàng Quốc gia ở Warsaw.
Được phát hiện vào những năm 1800, xác ướp phụ nữ mang thai trên được đưa đến Warsaw, Ba Lan năm 1826. Hiện thi hài người phụ nữ này đang được trưng bày tại Bảo tàng Quốc gia ở Warsaw.
Các nhà khoa học, chuyên gia cho hay sẽ tiếp tục công trình nghiên cứu nhằm làm sáng tỏ những bí ẩn chưa được giải mã về xác ướp mang thai đầu tiên trên thế giới.
Các nhà khoa học, chuyên gia cho hay sẽ tiếp tục công trình nghiên cứu nhằm làm sáng tỏ những bí ẩn chưa được giải mã về xác ướp mang thai đầu tiên trên thế giới.
Mời độc giả xem video: Ai Cập phát hiện thêm kho báu cổ đại với hơn 100 quan tài chứa xác ướp 2.500 năm. Nguồn: VTV24.

GALLERY MỚI NHẤT

MacBook Air M2 16GB 2026, món hời khó tin

MacBook Air M2 16GB 2026, món hời khó tin

Trong kỷ nguyên AI bùng nổ, MacBook Air M2 RAM 16GB nổi lên như lựa chọn “đáng tiền” nhờ hiệu năng ổn định, thiết kế mỏng nhẹ và giá bán ngày càng dễ tiếp cận.