William LaCourse, Giáo sư tại Đại học Alfred, Mỹ, vừa tiết lộ iPhone màn hình gập có thể ra mắt vào năm 2021. LaCourse cũng cho biết Corning, hãng sản xuất kính bảo vệ Gorilla Glass cho smartphone, đang phát triển một sản phẩm để sử dụng trên các thiết bị màn hình gập và "sẽ ra mắt trong chưa đầy một năm tới".
Theo LaCourse, loại kính mới sẽ được bán ra trong khoảng 12-18 tháng nữa. Điều đó đồng nghĩa nhiều khả năng Samsung Galaxy Fold 2 và một số mẫu smartphone màn hình gập khác cũng sẽ sớm được trang bị công nghệ này.
![]() |
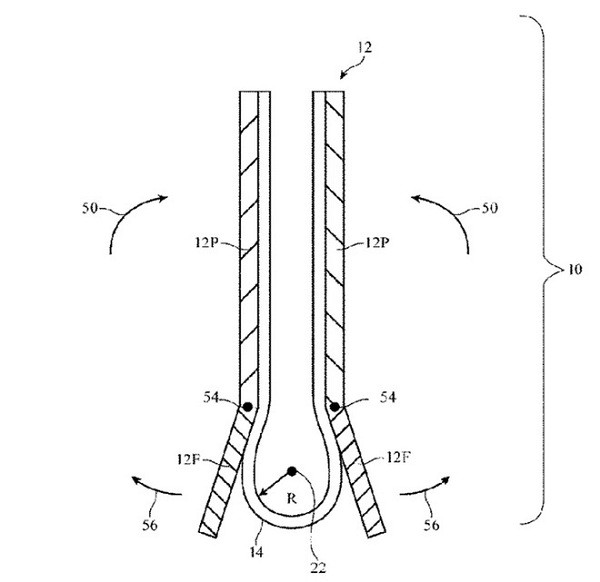
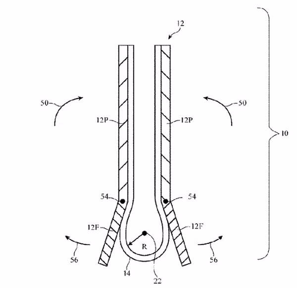
| Thiết kế bản lề phức tạp của thiết bị màn hình gập Apple. Ảnh: CNet. |
Hiện tại, đa số smartphone màn hình gập đang được bán ra trên thị trường đều chỉ được trang bị lớp bảo vệ bằng nhựa. Điều này khiến cho chúng gặp khá nhiều vấn đề về độ bền và tính ổn định trong quá trình sử dụng. Kính cường lực dẻo được kỳ vọng trở thành "cứu tinh" của những model này.
Đầu năm 2019, trang The Verge đưa tin Corning đang phát triển một loại kính Gorilla Glass mới có thể uốn cong để sử dụng với những chiếc smartphone màn hình gập.
Trong một cuộc phỏng vấn với Wired, John Bayne, Phó chủ tịch Corning cho biết thách thức lớn nhất là tạo ra một chiếc kính đủ mỏng để uốn cong nhưng vẫn không làm mất khả năng phục hồi cần thiết để bảo vệ màn hình.
Trên thực tế, Corning đã chế tạo thành công một loại kính có độ dày 0,1 mm và có thể uốn cong với bán kính vòng cung 5 mm. Tuy nhiên, chúng chưa thể sử dụng trên những chiếc smartphone màn hình gập do độ bền chưa cao.
Trong một hồ sơ có tiêu đề "Thiết bị điện tử có màn hình và bản lề linh hoạt", do Văn phòng Bằng sáng chế và Thương hiệu Mỹ công bố, Apple đã tiết lộ thiết kế của một smartphone có màn hình gập lại được.
Theo đó, Apple sẽ uốn cong màn hình theo cách khiến phần giữa hơi cong ra ngoài một chút trước khi gập màn hình lại. Điều này cho phép các phần chính và các cạnh của màn hình tương tác với nhau một cách linh hoạt mà không chịu ảnh hưởng của khu vực cong, đồng thời cho phép phần uốn cong có thể hoạt động ở bán kính mở rộng, giảm thiểu sức ép của các bộ phận.
