"Soi" 11 mẫu ôtô VinFast mới được đăng ký quyền sở hữu trí tuệ

"Soi" 11 mẫu ôtô VinFast mới được đăng ký quyền sở hữu trí tuệ

(Kiến Thức) - Cuối tháng 11 vừa qua, VinFast đã đăng ký bảo hộ kiểu dáng công nghiệp cho 11 mẫu ôtô mới, trải rộng ở nhiều phân khúc khác nhau từ xe đô thị đến xe van, xe bán tải và cả xe điện.

Như vậy, tính riêng năm 2020 hãng xe Việt đã đăng ký bảo hộ kiểu dáng công nghiệp cho tổng cộng 12 mẫu xe ôtô Vinfast mới. Tất cả các mẫu xe này đều do Ital Design, Torino Design và Pininfarina thiết kế. Cả ba đều là những công ty thiết kế nổi tiếng thế giới, từng "chắp bút" cho nhiều mẫu siêu xe như Lamborghini Veneno, Lamborghini Aventador hay Ferrari F12berlinetta.
Như vậy, tính riêng năm 2020 hãng xe Việt đã đăng ký bảo hộ kiểu dáng công nghiệp cho tổng cộng 12 mẫu xe ôtô Vinfast mới. Tất cả các mẫu xe này đều do Ital Design, Torino Design và Pininfarina thiết kế. Cả ba đều là những công ty thiết kế nổi tiếng thế giới, từng "chắp bút" cho nhiều mẫu siêu xe như Lamborghini Veneno, Lamborghini Aventador hay Ferrari F12berlinetta.
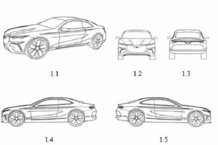
Mẫu xe thể thao hai cửa coupé Vinfast mới được công bố hồi cuối tháng 10 năm nay. Chiếc xe vẫn giữ lại hai đường gân nổi trên nắp khoang động cơ nhưng bố trí tập trung vào logo nhiều hơn so với dòng sedan Lux A2.0.
Mẫu xe thể thao hai cửa coupé Vinfast mới được công bố hồi cuối tháng 10 năm nay. Chiếc xe vẫn giữ lại hai đường gân nổi trên nắp khoang động cơ nhưng bố trí tập trung vào logo nhiều hơn so với dòng sedan Lux A2.0.
Bản vẽ mẫu xe crossover lai coupe rất thời trang của VinFast
Bản vẽ mẫu xe crossover lai coupe rất thời trang của VinFast
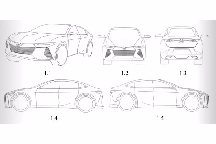
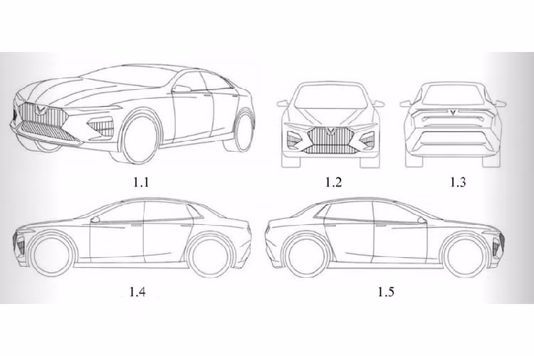
Bản vẽ một mẫu xe sedan khác của VinFast, dường như đó sẽ là một mẫu xe "đàn em" của Lux A 2.0
Bản vẽ một mẫu xe sedan khác của VinFast, dường như đó sẽ là một mẫu xe "đàn em" của Lux A 2.0
Bản vẽ mẫu xe van của VinFast, cũng có cửa mở như Kia Sedona.
Bản vẽ mẫu xe van của VinFast, cũng có cửa mở như Kia Sedona.
Bản vẽ mẫu xe wagon của VinFast
Bản vẽ mẫu xe wagon của VinFast
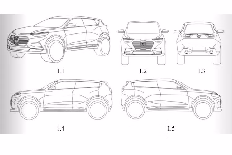
Bản vẽ mẫu xe đô thị SUV của VinFast
Bản vẽ mẫu xe đô thị SUV của VinFast
Bản vẽ mẫu bán tải của VinFast
Bản vẽ mẫu bán tải của VinFast
Bản vẽ mẫu MPV 5+2 của VinFast
Bản vẽ mẫu MPV 5+2 của VinFast
Thêm một mẫu sedan nữa của VinFast
Thêm một mẫu sedan nữa của VinFast
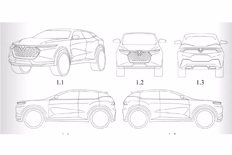
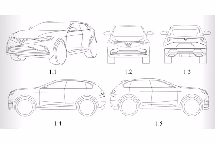
Bản vẽ crossover thể thao của VinFast
Bản vẽ crossover thể thao của VinFast
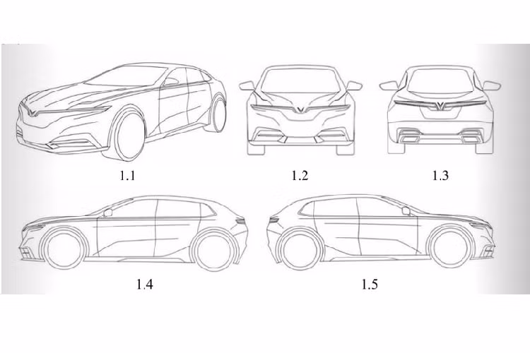
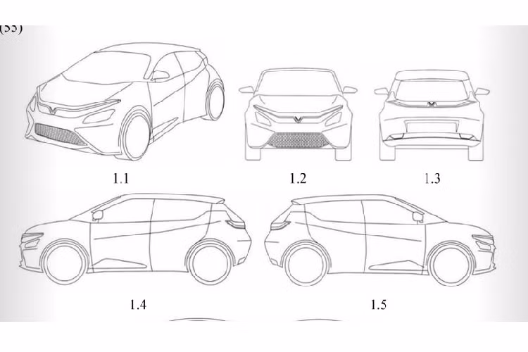
Bản vẽ hatchback của VinFast, khả năng cao sẽ là một mẫu xe điện
Bản vẽ hatchback của VinFast, khả năng cao sẽ là một mẫu xe điện
Video: Loạt siêu phẩm Vinfast sắp ra mắt vào 2021.

GALLERY MỚI NHẤT