Oppo lại “gây sốc” khi phát triển camera... tháo rời

Các nhà sản xuất điện thoại đã cố gắng loại bỏ các camera selfie bằng nhiều cách khác nhau, nhưng bây giờ Oppo đang phát triển giải pháp đặc biệt cho vấn đề này.

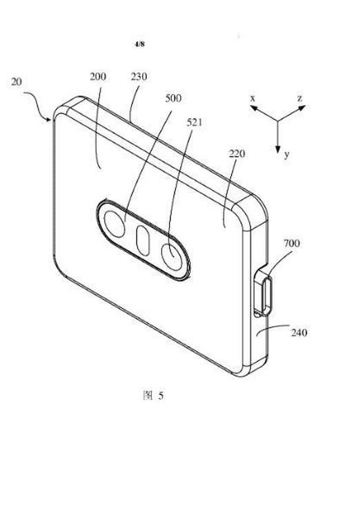
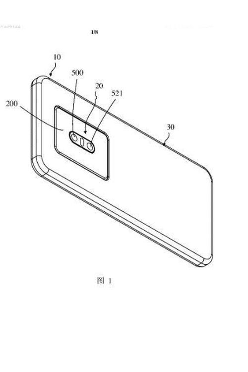
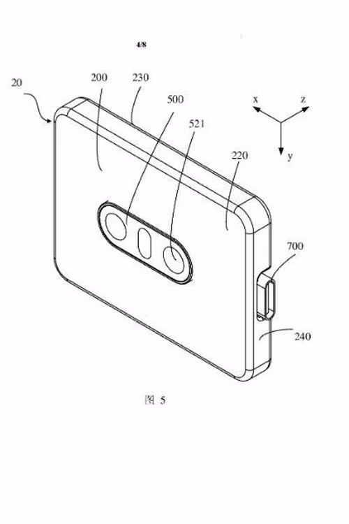
Theo nhiều rò rỉ, Oppo đang cấp bằng sáng chế cho mô-đun camera có thể tháo rời trên smartphone. Với ý tưởng mới này, việc bạn cần làm khi muốn chụp ảnh selfie là chỉ cần tháo mô-đun ở mặt phía sau và hướng camera vào đối tượng cần chụp.
Oppo lai “gay soc” khi phat trien camera... thao roi
 
Oppo lai “gay soc” khi phat trien camera... thao roi-Hinh-2
 
Oppo lai “gay soc” khi phat trien camera... thao roi-Hinh-3
 
Oppo lai “gay soc” khi phat trien camera... thao roi-Hinh-4
 
Oppo lai “gay soc” khi phat trien camera... thao roi-Hinh-5
 
Oppo lai “gay soc” khi phat trien camera... thao roi-Hinh-6
 
Thiết kế trong hình ảnh cho thấy mô-đun có hai camera cũng như các tùy chọn USB Type-C, NFC, WiFi và Bluetooth giúp kết nối với điện thoại khi tháo ra. Một viên pin lithium-ion sẽ cung cấp năng lượng cho mô-đun khi bạn tháo rời ra khỏi điện thoại. Chưa thể biết về khả năng kết hợp của các mô-đun máy ảnh nếu được sản xuất đa dạng. Nhưng điều này sẽ nâng cấp camera của điện thoại mà không cần thay thế toàn bộ thiết bị.
Đây là bằng sáng chế nên không có gì chắc chắn Oppo sẽ cho ra mắt một chiếc điện thoại như thế này. Trước đó, công ty đã loại bỏ camera trượt của Find X bằng thiết kế đục lỗ trên X2 Pro. Ngoài ra, Oppo cũng vừa giới thiệu khái niệm smartphone có thể cuộn lại. Chúng ta vẫn có thể mong đợi trong tương lai Oppo sẽ cho ra mắt một thiết bị có thể tháo rời camera.

Đọc nhiều nhất

Tin mới