Những phát minh kỳ quặc nhất lịch sử loài người: Số 9 cực sốc

Những phát minh kỳ quặc nhất lịch sử loài người: Số 9 cực sốc

Trong thời kỳ phát triển của mình, con người đã tạo ra không ít những phát minh vô kỳ lạ đến điên rồ khiến chúng ta không thể tin chúng từng tồn tại.

Lồng ngủ mái hiên được phát minh với mục đích giúp “treo” em bé lơ lửng bên ngoài (một căn phòng) để phơi nắng và… hóng gió, tận hưởng không khí trong lành ra đời vào năm 1930.
Lồng ngủ mái hiên được phát minh với mục đích giúp “treo” em bé lơ lửng bên ngoài (một căn phòng) để phơi nắng và… hóng gió, tận hưởng không khí trong lành ra đời vào năm 1930.
Mũ radio là một đài phát thanh di động được tích hợp trong một chiếc mũ bảo hiểm có chức năng truyền dẫn các đài phát thanh trong bán kính 20 dặm. Pin thường được mang trong túi của người dùng.
Mũ radio là một đài phát thanh di động được tích hợp trong một chiếc mũ bảo hiểm có chức năng truyền dẫn các đài phát thanh trong bán kính 20 dặm. Pin thường được mang trong túi của người dùng.
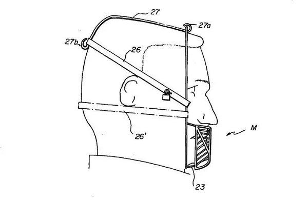
Mặt nạ chống ăn uống được phát minh để có thể kiểm soát cảm giác thèm ăn. Nó bao gồm một thành viên hình cốc được đặt xung quanh khu vực cằm của người dùng và dây đai có thể tháo rời. Khi bị mòn, nó ngăn không cho chúng ăn.
Mặt nạ chống ăn uống được phát minh để có thể kiểm soát cảm giác thèm ăn. Nó bao gồm một thành viên hình cốc được đặt xung quanh khu vực cằm của người dùng và dây đai có thể tháo rời. Khi bị mòn, nó ngăn không cho chúng ăn.
“Chiếc xe đạp ngốc nghếch” được Charles Steinlauf phát minh vào năm 1939 phù hợp với một gia đình có quy mô nhỏ cần đi ra ngoài. Thậm chí còn có một không gian cho các bà mẹ may vá, vì thời đó phụ nữ chủ yếu làm việc này như một công việc vặt.
“Chiếc xe đạp ngốc nghếch” được Charles Steinlauf phát minh vào năm 1939 phù hợp với một gia đình có quy mô nhỏ cần đi ra ngoài. Thậm chí còn có một không gian cho các bà mẹ may vá, vì thời đó phụ nữ chủ yếu làm việc này như một công việc vặt.
Được coi là tiền thân của Kindle, thiết bị “đọc sách” này được thiết kế vào khoảng những năm 1920 bởi nhà nghiên cứu Bradly Fiske. Ông đã nghĩ đến việc trong tương lai, sẽ có những quyển sách siêu nhỏ được xuất bản rồi gắn vào một thiết bị có kính lúp mới có thể đọc được.
Được coi là tiền thân của Kindle, thiết bị “đọc sách” này được thiết kế vào khoảng những năm 1920 bởi nhà nghiên cứu Bradly Fiske. Ông đã nghĩ đến việc trong tương lai, sẽ có những quyển sách siêu nhỏ được xuất bản rồi gắn vào một thiết bị có kính lúp mới có thể đọc được.
Vào khoảng những năm giữa thế kỷ 20, khi con người chưa có đủ kiến thức để hiểu biết về các tác hại của thuốc lá cũng như để việc kinh doanh mặt hàng này trở nên trôi chảy, thu hút hơn, các phát minh nhằm “nâng tầm” việc hút thuốc đã ra đời. Có lẽ đối với người xưa, một lần hút một điếu hẳn là chưa đủ nên phải hút hẳn… dăm ba điếu…
Vào khoảng những năm giữa thế kỷ 20, khi con người chưa có đủ kiến thức để hiểu biết về các tác hại của thuốc lá cũng như để việc kinh doanh mặt hàng này trở nên trôi chảy, thu hút hơn, các phát minh nhằm “nâng tầm” việc hút thuốc đã ra đời. Có lẽ đối với người xưa, một lần hút một điếu hẳn là chưa đủ nên phải hút hẳn… dăm ba điếu…
Máy cắt tỉa hông là một loại đai rung được sử dụng để giảm mỡ. Nó là một máy giảm béo đã trở nên phổ biến trong những năm 1950 và 1960. Trước đây, nhiều người sử dụng nó vì muốn có cặp đùi và vòng bụng săn chắc mà không cần phải gắng sức nhiều.
Máy cắt tỉa hông là một loại đai rung được sử dụng để giảm mỡ. Nó là một máy giảm béo đã trở nên phổ biến trong những năm 1950 và 1960. Trước đây, nhiều người sử dụng nó vì muốn có cặp đùi và vòng bụng săn chắc mà không cần phải gắng sức nhiều.
Một phát minh độc đáo của người Canada để bảo vệ gương mặt của phụ nữ khỏi những tác động của mưa, tuyết cũng như không làm trôi lớp trang điểm.
Một phát minh độc đáo của người Canada để bảo vệ gương mặt của phụ nữ khỏi những tác động của mưa, tuyết cũng như không làm trôi lớp trang điểm.
Hộp đựng thuốc lá được trang bị ô năm 1931 được cho là lấy cảm hứng từ một chú hề người Anh. Thay vì sử dụng phương pháp giác hơi bằng tay, những người hút thuốc có thể sử dụng phát minh kỳ quặc này để ngăn mưa tạt vào điếu thuốc đã đốt của họ.
Hộp đựng thuốc lá được trang bị ô năm 1931 được cho là lấy cảm hứng từ một chú hề người Anh. Thay vì sử dụng phương pháp giác hơi bằng tay, những người hút thuốc có thể sử dụng phát minh kỳ quặc này để ngăn mưa tạt vào điếu thuốc đã đốt của họ.
Năm 1876, tấm chắn ria mép được cấp bằng sáng chế bởi Virgil A. Gates. Nó có thiết kế đơn giản và hai dây để gắn vào tai giúp râu không bị lộ ra ngoài khi uống và ăn.
Năm 1876, tấm chắn ria mép được cấp bằng sáng chế bởi Virgil A. Gates. Nó có thiết kế đơn giản và hai dây để gắn vào tai giúp râu không bị lộ ra ngoài khi uống và ăn.
Pramobile được phát minh vào cuối những năm 1920 và đầu những năm 1930, với tốc độ tối đa là 15 dặm một giờ. Cha mẹ và em bé của họ có thể sử dụng nó trên đường phố bất cứ lúc nào.
Pramobile được phát minh vào cuối những năm 1920 và đầu những năm 1930, với tốc độ tối đa là 15 dặm một giờ. Cha mẹ và em bé của họ có thể sử dụng nó trên đường phố bất cứ lúc nào.
Gerdes, một kỹ sư người Thụy Sĩ đã phát minh ra chiếc xe một bánh độc đáo này năm 1931.
Gerdes, một kỹ sư người Thụy Sĩ đã phát minh ra chiếc xe một bánh độc đáo này năm 1931.
Mời các bạn xem video: Lại thêm một phát minh tuyệt vời của người Nhật Bản. Nguồn: Yan News.

GALLERY MỚI NHẤT

Hàng nghìn người hưởng ứng “Hành động Xanh - Chọn tương lai Xanh”

Hàng nghìn người hưởng ứng “Hành động Xanh - Chọn tương lai Xanh”

Sáng 4/4, hàng nghìn người dân và thanh niên trên khắp cả nước cùng tham gia hoạt động dọn dẹp vệ sinh khu phố và thu gom đồ dùng cũ, hưởng ứng lời kêu gọi “Hành động Xanh - Chọn tương lai Xanh” do Quỹ Vì Tương lai xanh do Tập đoàn Vingroup phát động. Đây là một trong những hoạt động tiêu biểu mở màn cho chuỗi chiến dịch “Thứ 4 Ngày Xanh” được Quỹ triển khai xuyên suốt năm 2026 với thông điệp “Hành động Xanh - Chọn tương lai Xanh”.