Chi tiết iPhone màn hình cuộn Apple ấp ủ “ra lò“

Chi tiết iPhone màn hình cuộn Apple ấp ủ “ra lò“

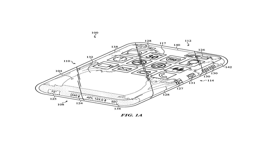
Apple đang thực hiện một dự án ẩn dưới dạng một chiếc iPhone màn hình cuộn tròn, được tiết lộ thông qua một sáng chế mới được công bố bởi Văn phòng Sáng chế và Nhãn hiệu Mỹ (USPTO).

Theo tài liệu mô tả sáng chế, chiếc iPhone màn hình cuộn này có khả năng thay đổi giữa trạng thái không cuộn - khi đó màn hình sẽ phẳng - và trạng thái cuộn với một phần cuộn lại để cất giữ.
Theo tài liệu mô tả sáng chế, chiếc iPhone màn hình cuộn này có khả năng thay đổi giữa trạng thái không cuộn - khi đó màn hình sẽ phẳng - và trạng thái cuộn với một phần cuộn lại để cất giữ.
Một trong những yếu tố đặc biệt của màn hình loại này là cấu trúc gồm hai lớp, gồm panel hiển thị và một tấm bảo vệ trong suốt đặt chồng lên nhau.
Một trong những yếu tố đặc biệt của màn hình loại này là cấu trúc gồm hai lớp, gồm panel hiển thị và một tấm bảo vệ trong suốt đặt chồng lên nhau.
Tấm bảo vệ này chứa "lớp kính được làm mỏng phần có thể cuộn được, giúp thuận lợi cho việc cuộn màn hình".
Tấm bảo vệ này chứa "lớp kính được làm mỏng phần có thể cuộn được, giúp thuận lợi cho việc cuộn màn hình".
Điều này giúp Apple giải quyết vấn đề màn hình hoạt động khi bị cuộn tròn, là một thách thức không nhỏ đối với các sản phẩm dạng cuộn tròn.
Điều này giúp Apple giải quyết vấn đề màn hình hoạt động khi bị cuộn tròn, là một thách thức không nhỏ đối với các sản phẩm dạng cuộn tròn.
Với việc công bố sáng chế mới, Apple chưa đề cập đến việc sản xuất iPhone gập hay cuộn, tuy nhiên, việc xin cấp bằng sáng chế cho thấy rõ ràng họ đang nghiên cứu và cân nhắc sản xuất iPhone màn hình cuộn.
Với việc công bố sáng chế mới, Apple chưa đề cập đến việc sản xuất iPhone gập hay cuộn, tuy nhiên, việc xin cấp bằng sáng chế cho thấy rõ ràng họ đang nghiên cứu và cân nhắc sản xuất iPhone màn hình cuộn.
Người dùng có thể sẽ phải đợi thêm một vài năm để chứng kiến "siêu phẩm" này trên thị trường.
Người dùng có thể sẽ phải đợi thêm một vài năm để chứng kiến "siêu phẩm" này trên thị trường.
Sản phẩm iPhone màn hình cuộn có thể mang lại nhiều lợi ích cho người dùng. Một trong số đó là khả năng tiết kiệm không gian.
Sản phẩm iPhone màn hình cuộn có thể mang lại nhiều lợi ích cho người dùng. Một trong số đó là khả năng tiết kiệm không gian.
Nhờ vào tính năng cuộn, người dùng có thể thoải mái sử dụng màn hình lớn khi cần thiết, nhưng lại có thể thu gọn lại khi không sử dụng, giúp giảm thiểu diện tích chiếm dụng trên thiết bị.
Nhờ vào tính năng cuộn, người dùng có thể thoải mái sử dụng màn hình lớn khi cần thiết, nhưng lại có thể thu gọn lại khi không sử dụng, giúp giảm thiểu diện tích chiếm dụng trên thiết bị.
Điều này sẽ đem đến trải nghiệm tuyệt vời cho người dùng điện thoại di động và làm tiền đề cho nhiều ứng dụng tiềm năng trong lĩnh vực công nghệ và giải trí.
Điều này sẽ đem đến trải nghiệm tuyệt vời cho người dùng điện thoại di động và làm tiền đề cho nhiều ứng dụng tiềm năng trong lĩnh vực công nghệ và giải trí.
Mời độc giả xem thêm video: “Rò rỉ” mẫu iPhone 15 Ultra cao cấp nhất của Apple năm 2023.

GALLERY MỚI NHẤT

Diễn viên Thương Tín qua đời ở tuổi 69

Diễn viên Thương Tín qua đời ở tuổi 69

Diễn viên Thương Tín qua đời vào ngày 8/12 tại nhà riêng ở Khánh Hòa. Ông ra đi ở tuổi 69. Ông để lại dấu ấn sâu đậm qua hàng trăm vai diễn trong lịch sử điện ảnh Việt Nam.