Hà Nội

KHDS VNDAILY DoiSong TamNhin
  • Trang chủ
  • Trending
  • Vusta - Tri thức KH&CN
  • Nhà khoa học
  • Kiến thức cần biết
  • Thời sự 24h
    Chính trị Xã hội Thế giới Kinh doanh Bất động sản Sống xanh Bạn đọc Doanh nghiệp
  • Khoa học & Công nghệ
    Nhà khoa học Kho tri thức Giải mã Quân sự Số hóa Xe Sống đạo
  • Đời sống & Giải trí
    Sống Khỏe Đời sống Giải trí Thể thao Du lịch Cộng đồng trẻ Sốt mạng
  • Spotlight
    Gallery Video Podcast e-Magazine
  • Xem thêm
Trending Vusta & Trí thức KH&CN Nhìn thẳng - Nói thật Kiến thức cần biết Cải chính Đọc Báo in KH&ĐS
Thời sự 24h Chính trị Xã hội Thế giới Kinh doanh Bất động sản Sống xanh Bạn đọc Doanh nghiệp
Khoa học & Công nghệ Nhà khoa học Kho tri thức Giải mã Quân sự Số hóa Xe Sống đạo
Đời sống & Giải trí Sống Khỏe Đời sống Giải trí Thể thao Du lịch Cộng đồng trẻ Sốt mạng
Spotlight Gallery Video Podcast e-Magazine

Từ khóa: bằng sáng chế

Sony gây sốt với bằng sáng chế AI chơi game thay người

Sony gây sốt với bằng sáng chế AI chơi game thay người

Bằng sáng chế mới hé lộ “bóng mờ” AI của Sony có thể hướng dẫn, minh họa thao tác, thậm chí chơi game thay người dùng khi gặp khó.

Trung Quốc vượt Mỹ, Nhật, thống trị cuộc đua robot hình người

Trung Quốc vượt Mỹ, Nhật, thống trị cuộc đua robot hình người

Sở hữu gần 8.000 bằng sáng chế robot hình người, Trung Quốc đang bỏ xa Mỹ và Nhật, khẳng định vị thế cường quốc robot toàn cầu.

Top phát minh cách mạng công nghiệp vĩ đại, thay đổi cả thế giới

Top phát minh cách mạng công nghiệp vĩ đại, thay đổi cả thế giới

Diễn ra trong khoảng thời gian từ năm 1750 đến năm 1914, Cách mạng Công nghiệp đã thay đổi nhân loại mãi mãi. Nhưng trong hàng triệu phát minh của thời kỳ này, phát minh nào là quan trọng nhất?
Tiết lộ động trời về nhà khoa học lập dị Nikola Tesla

Tiết lộ động trời về nhà khoa học lập dị Nikola Tesla

Nikola Tesla, một trong những nhà khoa học vĩ đại nhất, và cũng lập dị nhất trong lịch sử, nổi tiếng với những đóng góp vượt thời gian trong lĩnh vực điện học và công nghệ.
Những sự thật động trời về nhà khoa học lập dị Nikola Tesla

Những sự thật động trời về nhà khoa học lập dị Nikola Tesla

Nikola Tesla, một trong những nhà khoa học vĩ đại nhất, và cũng lập dị nhất trong lịch sử, nổi tiếng với những đóng góp vượt thời gian trong lĩnh vực điện học và công nghệ.
iMac mới được trang bị chip M2 và M2 Pro sẽ sớm được trình làng?

iMac mới được trang bị chip M2 và M2 Pro sẽ sớm được trình làng?

Theo báo cáo mới đến từ Mac Otakara của Nhật Bản, iMac 24 inch thế hệ tiếp theo có thể sẽ sử dụng chip M2/M2 Pro, cổng Thunderbolt 4, hỗ trợ Wi-Fi 6E và hỗ trợ Bluetooth 5.3.
iPhone và MacBook màu đen nhám mới sắp được Apple trình làng?

iPhone và MacBook màu đen nhám mới sắp được Apple trình làng?

Nhà sản xuất Apple sắp tới có thể sẽ công bố màu đen nhám mới cho những chiếc MacBook và iPhone, khác với màu "Space Gray" truyền thống.
Apple Ring: Nhẫn thông minh của nhà "táo" sắp được trình làng?

Apple Ring: Nhẫn thông minh của nhà "táo" sắp được trình làng?

Một bằng sáng chế liên quan đến Apple Smart Ring đã được công bố và tiết lộ Apple vẫn đang xem xét thiết bị đeo để điều khiển bằng cử chỉ.
iMac và MacBook sắp có tính năng xác thực sinh trắc học?

iMac và MacBook sắp có tính năng xác thực sinh trắc học?

Theo Pocket-lint, việc thiếu tính năng Face ID mỗi khi Apple trình làng một sản phẩm máy tính mới vẫn luôn gây ra nhiều thất vọng cho người hâm mộ. Nhưng điều đó có thể sắp thay đổi.
Chi tiết iPhone màn hình cuộn Apple ấp ủ “ra lò“

Chi tiết iPhone màn hình cuộn Apple ấp ủ “ra lò“

Apple đang thực hiện một dự án ẩn dưới dạng một chiếc iPhone màn hình cuộn tròn, được tiết lộ thông qua một sáng chế mới được công bố bởi Văn phòng Sáng chế và Nhãn hiệu Mỹ (USPTO).
Apple hứa hẹn iPhone tương lai có thể chống trầy xước siêu cấp

Apple hứa hẹn iPhone tương lai có thể chống trầy xước siêu cấp

Apple vừa được cấp bằng sáng chế cho vật liệu mới, kết hợp giữa kim loại và gốm có độ bền cao và khả năng chống xước tốt.
Những phát minh của phụ nữ đã góp phần thay đổi thế giới

Những phát minh của phụ nữ đã góp phần thay đổi thế giới

Trong suốt lịch sử, phụ nữ đã đấu tranh để đánh dấu tiếng nói của mình. Và không có gì ngạc nhiên khi một số lượng đáng kể các nhà khoa học nữ trong suốt lịch sử đã bị bỏ qua chỉ vì giới tính.
Điều ít biết về tiến sĩ gốc Việt “thay da đổi thịt” máy ATM

Điều ít biết về tiến sĩ gốc Việt “thay da đổi thịt” máy ATM

Trong hành trình tạo ra và hoàn thiện máy ATM, đưa thiết bị này trở thành một cuộc cách mạng trong ngành công nghiệp ngân hàng, có dấu ấn đậm nét thuộc về một tiến sĩ gốc Việt.
Tác giả văcxin Covid-19 không có bằng sáng chế được đề cử giải Nobel

Tác giả văcxin Covid-19 không có bằng sáng chế được đề cử giải Nobel

GS Maria Elena Bottazzi, nhà vi sinh vật học người Mỹ, Phó Hiệu trưởng Trường Y học Nhiệt đới Quốc gia tại Đại học Y Baylor cùng các đồng nghiệp sẵn sàng chuyển giao miễn phí công nghệ sản xuất loại văcxin Covid-19 giá rẻ, dễ bảo quản, hiệu quả 80%.
Toyota vô địch về số bằng sáng chế

Toyota vô địch về số bằng sáng chế

Hãng xe Nhật chính thức giành được nhiều bằng sáng chế nhất so với bất kỳ nhà sản xuất ôtô nào trong năm 2020.
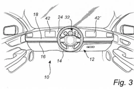
Volvo nộp bằng sáng chế cho loại vô lăng trượt, có thể lái ở cả 2 ghế

Volvo nộp bằng sáng chế cho loại vô lăng trượt, có thể lái ở cả 2 ghế

Nó sẽ cho phép cả cấu hình lái cả bên trái và bên phải, như cách gọi ở Việt Nam là vô lăng sẽ chuyển dịch từ bên lái sang bên phụ và ngược lại.
Điện thoại gập của ZTE được phát hiện trong bằng sáng chế mới

Điện thoại gập của ZTE được phát hiện trong bằng sáng chế mới

Bằng sáng chế mới của ZTE cho thấy hãng đang có ý định thiết kế một chiếc smartphone gập theo đường zic zắc.
13 phát minh của phụ nữ làm 'rung chuyển' văn minh thế giới

13 phát minh của phụ nữ làm 'rung chuyển' văn minh thế giới

Có những phát minh của phụ nữ làm thay đổi văn minh thế giới, tuy nhiên không phải ai cũng biết. Thậm chí phụ nữ còn phải đấu tranh vất vả để có được bản quyền sáng chế.
Hyundai vượt mặt Toyota về số lượng bằng sáng chế

Hyundai vượt mặt Toyota về số lượng bằng sáng chế

Hyundai là hãng có số lượng bằng sáng chế nhiều nhất trong 5 năm trở lại đây, và thuộc nhóm dẫn đầu trong tất cả các lĩnh vực.
Steve Jobs phải “đội mồ sống dậy” vì bằng sáng chế này

Steve Jobs phải “đội mồ sống dậy” vì bằng sáng chế này

(Kiến Thức) - Apple gần đây đã nộp đơn cấp bằng sáng chế cho cây bút stylus, một thứ mà Steve Jobs "ghét cay ghét đắng" lúc còn trên dương thế.
Báo Tri thức và Cuộc sống - TIN TỨC PHỔ BIẾN KIẾN THỨC 24H

Hotline: 096 523 77 56/091 181 1111 (Toà soạn Hà Nội)
/ 091 122 12 22 (VPĐD TPHCM)

baotrithuccuocsong@kienthuc.net.vn
tkts@kienthuc.net.vn

Facebook Rss
Trending Vusta - Trí thức KH&CN Nhà khoa học Kiến thức cần biết Thời sự 24h Khoa học & Công nghệ Đời sống & Giải trí Spotlight

CƠ QUAN CHỦ QUẢN: LIÊN HIỆP CÁC HỘI KHOA HỌC VÀ KỸ THUẬT VIỆT NAM

Giấy phép: Số 536/GP-BTTTT ngày 19/11/2020 do Bộ Thông tin và Truyền thông cấp.

Tổng Biên tập: Nhà báo Nguyễn Thị Mai Hương

Phó Tổng Biên tập: Nhà báo Nguyễn Danh Châu

Tòa soạn: Số 70 Trần Hưng Đạo, phường Cửa Nam, Hà Nội.

VPĐD tại TP.HCM: Số 54 Phạm Huy Thông, phường Hạnh Thông, Thành phố Hồ Chí Minh.

DMCA.com Protection Status