Không phải mọi thứ xuất hiện trên bằng sáng chế cũng sẽ xuất hiện ngoài đời thực, nhưng chúng tiết lộ cho chúng ta một số ý tưởng mà một công ty đang dự tính mang lên các sản phẩm trong tương lai.
Và một bằng sáng chế mới được công bố gần đây của Apple cho thấy cuối cùng hãng cũng nhận ra rằng hầu hết mọi người đều sử dụng iPad ở chế độ ngang khi quyết định chuyển cụm cảm biến Face ID và camera trước sang cạnh ngang của máy. Chỉ có một điểm không ai mong muốn ở đây: hình minh họa trong bằng sáng chế thể hiện các linh kiện này được đặt trong một…tai thỏ.
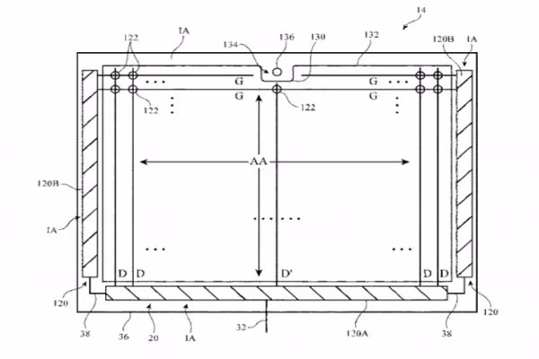
Bằng sáng chế nói trên đã được Apple đăng ký từ tháng 8/2016. Nó cho thấy Apple dự tính thêm một camera trước và các linh kiện khác vào viền ngang của iPad. Trong phần miêu tả, bằng sáng chế ghi rằng "khu vực không hoạt động có thể sẽ có một lớp mực đen dày hoặc một chất liệu che khác để ngăn mọi người nhìn thấy các linh kiện bên trong. Khu vực hoạt động có thể có một phần trống chứa một khu vực không hoạt động tách biệt, hoặc có thể chứa một tai thỏ hoặc một phần cắt mà một phần của khu vực không hoạt động sẽ ăn vào đó".
![]() |
Tai thỏ là một đặc điểm thiết kế gây nhiều tranh cãi. Một số người chẳng hề quan tâm và hoàn toàn bỏ qua nó. Số khác sẽ tranh cãi nảy lửa về sự cần thiết của nó. Vào năm 2018, người tiêu dùng đã nổi giận vì Apple giới thiệu tai thỏ với iPhone X. Tương tự, có vẻ như Apple đã cạn ý tưởng khi mang tai thỏ lên iPad. Có lẽ đó còn là một tín hiệu rằng Apple đã nhận ra việc đặt iPad mặc định ở chế độ đứng là điều ngớ ngẩn, khi mà hầu hết mọi người đều dùng nó như một thiết bị để tiêu thụ nội dung.
Sử dụng chế độ ngang làm mặc định cũng hoàn toàn phù hợp với ý định của Apple là biến iPad thành một thiết bị làm việc thứ hai của người dùng. Vài tuần trước, Apple đã công bố một chiếc iPad Pro mới với phụ kiện là bàn phím Magic Keyboard, vốn ưu tiên cho chế độ ngang hơn là chế độ đứng, để chiếc tablet này có thể hoạt động như một chiếc laptop. Nếu đây quả thực là tương lai của iPad, thì chẳng còn gì hợp lý hơn việc đưa camera và cảm biến Face ID vào cạnh ngang của máy.
Dẫu vậy, bằng sáng chế còn nói rằng sử dụng tai thỏ chứa camera chỉ là một trong nhiều giải pháp khả thi, do đó có lẽ Apple sẽ khôn ngoan và tránh rơi vào tình huống như họ từng gặp với iPhone X. Ngoài ra, iPad Pro hiện đã có camera trước và cảm biến Face ID mà chẳng cần tai thỏ, trong khi các viền của nó đều có bề ngang như nhau, thì tai thỏ là thứ khá thừa thãi. Chưa kể tránh xa tai thỏ còn giúp các nhà phát triển bớt đau đầu tìm cách tối ưu hóa các ứng dụng cho phù hợp với màn hình nữa.

