Apple Watch bỏ màn hình chữ nhật, chuyển sang màn hình tròn

Apple Watch mới sẽ có màn hình tròn? Đây là một bất ngờ bởi trước đó Apple luôn phát triển sản phẩm của mình theo một hướng đi riêng biệt.

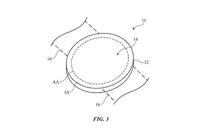
Apple vừa nhận được bằng sáng chế về một thiết bị đeo được có màn hình tròn. Bằng sáng chế số 9965995 được Hoa Kỳ cấp phép có tiêu đề "Thiết bị điện tử có màn hình cạnh cong".
 
Với những hình ảnh trong bằng sáng chế, chúng mô tả một thiết bị điện tử có màn hình dạng hình tròn. Điều này dẫn đến luận điểm cho rằng, Apple xin bằng sáng chế đồng nghĩa với việc hãng sẽ phát triển những chiếc smartwatch với thiết kế mới.
Về nội dung, bằng sáng chế đề cập đến một công nghệ nhằm khắc phục các nhược điểm của những thiết bị màn hình tròn. Chúng nói rằng các tấm nền với những điểm ảnh pixels không phù hợp để phát triển những thiết bị có màn hình tròn. Bằng sáng chế sau đó đã mô tả chi tiết giải pháp mà táo khuyết thực hiện nhằm khắc phục nhược điểm này.
 
Các sản phẩm được đề cập trong bằng sáng chế gồm đồng hồ đeo tay, mặt dây chuyền cùng những chiếc kính mắt. Những thiết bị tích hợp công nghệ AR chỉ có thể được Apple đưa ra thị trường sau khoảng vài năm nữa. Với đồng hồ thông minh, táo khuyết có thể tạo ra chúng ngay lúc này.

Đồng hồ Samsung Gear S3 Frontier bung ốc vít, Samsung nói gì?

Trong cuộc trao đổi, cả hai bên đều không giải thích được vì sao chiếc đồng hồ thông minh Samsung Gear S3 Frontier R760 lại bị rớt 02 ốc vít. 

Theo phản ánh của khách hàng, ngày 12/2/2018, ông Nguyễn Vĩnh Duy (ngụ quận 7, TP.HCM) mang chiếc đồng hồ thông minh Samsung Gear S3 Frontier R760 tới Trung tâm bảo hành Samsung - Công ty TNHH B2X Care Solution Vietnam (35-37 Nguyễn Thị Thập, P.Tân Hưng. Q.7, TP.HCM) để kiểm tra thì phát hiện chiếc đồng hồ bị bung 2 ốc vít mặt sau.
Theo biên bản tiếp nhận dịch vụ lập bởi Trung tâm bảo hành Samsung - Công ty TNHH B2X Care Solution Vietnam, chiếc đồng hồ thông minh Samsung Gear S3 Frontier R760 gặp tình trạng: Máy không lên nguồn (kiểm tra ngoại quan thấy máy bị rơi mất 2 ốc vít). Nhân viên Công ty TNHH B2X Care Solution Vietnam đánh giá "máy không đủ điều kiện bảo hành" nên đã từ chối bảo hành.

Đồng hồ thông minh và cái chết thầm lặng, nhưng đau đớn

3 năm sau đỉnh điểm của cơn sốt công nghệ đeo được (wearable tech) và đồng hồ thông minh, thị trường này còn lại những gì và sẽ đi về đâu?

Câu chuyện về cuộc cạnh tranh trong thiết bị công nghệ đeo được giữa Fitbit và Apple có chút gì đó tương tự như tác phẩm kinh điển Chuyện hai thành phố của văn hào Charles Dickens: Fitbit bán được 3,4 triệu thiết bị trong quý trước, giảm 5,7 triệu so với năm ngoái còn Apple thông báo doanh số Apple Watch của hãng này đã tăng 50% trong quý trước với 2,8 triệu chiếc được bán ra.

Những smartphone đầu tiên được lên đời Android P

Phiên bản mới nhất của hệ điều hành Andorid vừa được công bố ngày 8/5. Có tới 11 chiếc điện thoại nằm trong danh sách các máy đầu tiên được lên Android P.

Khác với mọi năm, những smartphone đầu tiên được nhận bản cập nhật Android P không còn giới hạn trong các dòng máy của Google. Cụ thể, bên cạnh 4 smartphone thuộc dòng Pixel của Google, còn tới 7 sản phẩm khác tới từ các hãng Sony, Nokia, Xiaomi, OnePlus… đã có thể nâng cấp lên Android P beta.
Với Android P, Google Pixel không còn “độc quyền” về tốc độ cập nhật phiên bản mới.
Với Android P, Google Pixel không còn “độc quyền” về tốc độ cập nhật phiên bản mới. 

Đọc nhiều nhất

Tin mới

Người mắc bệnh tuyến giáp kiêng ăn gì?

Người mắc bệnh tuyến giáp kiêng ăn gì?

Người bệnh tuyến giáp cần nắm rõ các loại thực phẩm cần tránh như đậu nành, đồ đóng hộp, nội tạng động vật để kiểm soát bệnh, nâng cao chất lượng cuộc sống.

Hiểu lầm phổ biến về 'detox' sau Tết

Hiểu lầm phổ biến về 'detox' sau Tết

Thay vì các phương pháp “detox” nguy hiểm, hãy duy trì thói quen uống đủ nước, ăn rau quả, ngủ đủ giấc và vận động nhẹ nhàng để giữ gìn sức khỏe lâu dài.