Trong khi Samsung, Huawei hay Motorola đang hướng đến tạo nên những chiếc smartphone màn hình gập độc đáo và vấp phải nhiều tranh cãi từ phía người dùng, gã khổng lồ công nghệ xứ Cupertino đang ấp ủ kế hoạch cho chiếc iPhone mới lạ nhất từ trước đến nay.
Theo Bussiness Insider, Apple vừa nộp đơn xin cấp bằng sáng chế mới cho một thiết bị điện tử có vỏ kính bao phủ, hỗ trợ cảm ứng và hiển thị hình ảnh ở mọi vị trí, mặt lưng và góc cạnh.
![]() |
| Apple sẽ ra mắt mẫu iPhone với các mặt được bao phủ hoàn toàn bằng kính? Ảnh: BI |
Cụ thể, bản đăng ký sáng chế mô tả, phiên bản điện thoại thông minh này có đến 6 màn hình: mặt trước, mặt lưng và bên cạnh làm bằng thủy tinh. TechRadar cho rằng có thể Apple sẽ sử dụng kính nguyên khối bo tròn cả các cạnh bên, tạo cho người dùng cảm giác như đang cầm một tấm kính chứ không phải một chiếc smartphone.
Với thiết kế đặc biệt, mẫu iPhone lạ này hứa hẹn sẽ được bổ sung hàng loạt tính năng mới, chưa từng có trên điện thoại thông thường. Ngoài màn hình chính ở phía trước, mặt lưng với thiết kế kính bao phủ có thể trở thành màn hình phụ hiển thị thông tin, hỗ trợ cảm ứng, tương tác với thiết bị khác,… Các mặt còn lại hỗ trợ điều khiển các tính năng như tăng giảm âm lượng, bật tắt mạng, cổng ra vào,…
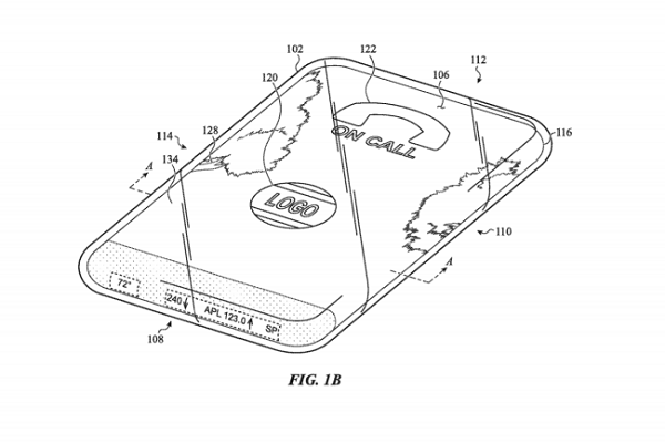
![]() |
| Thiết kế mặt lưng dự kiến. Ảnh: TechRadar |
Tuy nhiên, theo đánh giá của TechRadar, để chiếc điện thoại này trở nên hoàn hảo, Apple cần giải quyết được vấn đề từ chính thiết kế full mặt kính. Khi người dùng bỏ điện thoại vào túi, vô tình sẽ chạm nhầm vào các mặt cảm ứng xung quanh gây nhiều bất tiện – vấn đề đã từng xảy ra trên điện thoại cạnh cong của Samsung.
Đây không phải lần đầu Táo khuyết xin cấp bằng sáng chế mới cho một thiết bị iPhone độc lạ. Trước đó vào năm 2013, hãng này đã từng có ý tưởng về chiếc iPhone với màn hình bao quanh các mặt, nhưng hiện vẫn chưa hề xuất hiện.

