Nga khoe một loạt tên lửa mới, sẽ sớm có mặt tại Ukraine?

Nga khoe một loạt tên lửa mới, sẽ sớm có mặt tại Ukraine?

Tại triển lãm quốc phòng Army-2023 đang diễn ra ở thủ đô Moskva, tên lửa hành trình tấn công mặt đất “mang tính cách mạng” của Nga đã được giới thiệu; trước đó tên lửa hành trình Kh-50 cũng được Nga tuyên bố thực chiến thành công.

Theo RIA, tập đoàn tên lửa chiến thuật Nga (KTRV), đã công bố những vũ khí của họ, mới được phát triển tại diễn đàn Army-2023. Theo thông tin từ trung tâm báo chí của tập đoàn, lần đầu tiên công chúng sẽ được chiêm ngưỡng tên lửa hành trình hàng không thế hệ mới Kh-69 (tiếng Nga X-69).
Theo RIA, tập đoàn tên lửa chiến thuật Nga (KTRV), đã công bố những vũ khí của họ, mới được phát triển tại diễn đàn Army-2023. Theo thông tin từ trung tâm báo chí của tập đoàn, lần đầu tiên công chúng sẽ được chiêm ngưỡng tên lửa hành trình hàng không thế hệ mới Kh-69 (tiếng Nga X-69).
Mặc dù tính năng kỹ chiến thuật cụ thể của tên lửa vẫn đang được giữ bí mật, nhưng có thể thấy rằng tên lửa Kh-69 có hình dáng “na ná” tên lửa hành trình Storm Shadow của Anh (ảnh tên lửa Storm Shadow của Anh (trên) và Kh-69 (dưới) của Nga).
Mặc dù tính năng kỹ chiến thuật cụ thể của tên lửa vẫn đang được giữ bí mật, nhưng có thể thấy rằng tên lửa Kh-69 có hình dáng “na ná” tên lửa hành trình Storm Shadow của Anh (ảnh tên lửa Storm Shadow của Anh (trên) và Kh-69 (dưới) của Nga).
Nhưng theo tuyên bố của KTRV, Kh-69 sẽ là một bước đột phá quan trọng trong lĩnh vực vũ khí tên lửa chiến thuật và sẽ tăng khả năng tấn công mặt đất của Quân đội Nga trên chiến trường.
Nhưng theo tuyên bố của KTRV, Kh-69 sẽ là một bước đột phá quan trọng trong lĩnh vực vũ khí tên lửa chiến thuật và sẽ tăng khả năng tấn công mặt đất của Quân đội Nga trên chiến trường.
Đáng chú ý là trước đó đã xuất hiện thông tin không chính thức rằng, một tên lửa như loại Kh-69 đã được Quân đội Nga sử dụng, để tấn công vào mục tiêu trên chiến trường Ukraine; điều này có thể giúp chứng minh các đặc tính chiến đấu cao của nó.
Đáng chú ý là trước đó đã xuất hiện thông tin không chính thức rằng, một tên lửa như loại Kh-69 đã được Quân đội Nga sử dụng, để tấn công vào mục tiêu trên chiến trường Ukraine; điều này có thể giúp chứng minh các đặc tính chiến đấu cao của nó.
Còn theo trang “Bình luận quân sự “ của Nga, Bộ Tổng tham mưu quân đội Ukraine, mà đại diện là Phó Tổng cục trưởng Tổng cục Tác chiến, Chuẩn tướng Alexei Gromov đã đưa ra một tuyên bố “gây hoang mang” về việc Không Nga chuẩn bị sử dụng tên lửa chiến thuật tầm xa Kh-50 (Kh-SD), để tấn công các điểm nút chiến lược của quân đội Ukraine vào mùa thu này.
Còn theo trang “Bình luận quân sự “ của Nga, Bộ Tổng tham mưu quân đội Ukraine, mà đại diện là Phó Tổng cục trưởng Tổng cục Tác chiến, Chuẩn tướng Alexei Gromov đã đưa ra một tuyên bố “gây hoang mang” về việc Không Nga chuẩn bị sử dụng tên lửa chiến thuật tầm xa Kh-50 (Kh-SD), để tấn công các điểm nút chiến lược của quân đội Ukraine vào mùa thu này.
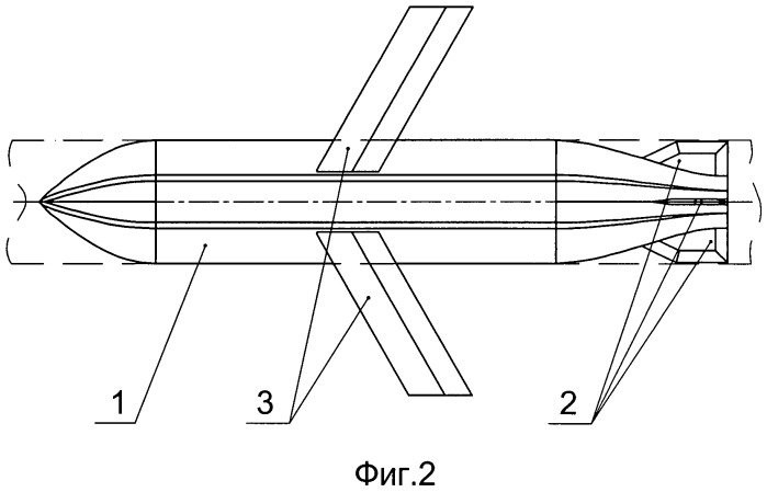
Tên lửa chiến thuật Kh-50 (mã Quân đội Nga “Izdeliye 715”), do Viện thiết kế tên lửa Raduga phát triển từ đầu thập niên 1990, có cấu trúc khí động học kiểu hình mũi tên, cánh có thể gấp lại, tương tự như cánh của tên lửa hành trình chiến lược Kh-101.
Tên lửa chiến thuật Kh-50 (mã Quân đội Nga “Izdeliye 715”), do Viện thiết kế tên lửa Raduga phát triển từ đầu thập niên 1990, có cấu trúc khí động học kiểu hình mũi tên, cánh có thể gấp lại, tương tự như cánh của tên lửa hành trình chiến lược Kh-101.
Không quân Nga sẽ sử dụng tên lửa Kh-50 để đột phá những “chiếc ô” phòng thủ tên lửa tiên tiến, dày đặc của Ukraine. Muốn vậy, đòi hỏi phải giảm đáng kể bề mặt tán xạ radar của thân tên lửa. Điều này đạt được nhờ sử dụng rộng rãi vật liệu composite hấp thụ sóng vô tuyến và các thân cấu trúc góc cạnh.
Không quân Nga sẽ sử dụng tên lửa Kh-50 để đột phá những “chiếc ô” phòng thủ tên lửa tiên tiến, dày đặc của Ukraine. Muốn vậy, đòi hỏi phải giảm đáng kể bề mặt tán xạ radar của thân tên lửa. Điều này đạt được nhờ sử dụng rộng rãi vật liệu composite hấp thụ sóng vô tuyến và các thân cấu trúc góc cạnh.
Theo các nguồn tin, bề mặt tán xạ hiệu dụng của tên lửa Kh-50 không vượt quá 0,07-0,01 m2, làm cho tầm phát hiện của chúng bằng radar trên các máy bay cảnh báo sớm (AWACS) chỉ còn từ 100-120 km và không thể theo dõi tên lửa Kh-50 trên bầu trời các tỉnh miền Trung Ukraine, từ không phận Ba Lan.
Theo các nguồn tin, bề mặt tán xạ hiệu dụng của tên lửa Kh-50 không vượt quá 0,07-0,01 m2, làm cho tầm phát hiện của chúng bằng radar trên các máy bay cảnh báo sớm (AWACS) chỉ còn từ 100-120 km và không thể theo dõi tên lửa Kh-50 trên bầu trời các tỉnh miền Trung Ukraine, từ không phận Ba Lan.
Để giảm khả năng bị đánh chặn bởi các hệ thống tên lửa phòng không mặt đất, tên lửa Kh-50 (cũng giống như Kh-101) áp dụng chế độ bay bám địa hình ở độ cao từ 30-50 m. Tính năng này đã hạn chế phạm vi phát hiện tên lửa bằng radar MPQ-64 Sentinel của hệ thống tên lửa phòng không NASAMS ở cự ly chỉ từ 25-30 km.
Để giảm khả năng bị đánh chặn bởi các hệ thống tên lửa phòng không mặt đất, tên lửa Kh-50 (cũng giống như Kh-101) áp dụng chế độ bay bám địa hình ở độ cao từ 30-50 m. Tính năng này đã hạn chế phạm vi phát hiện tên lửa bằng radar MPQ-64 Sentinel của hệ thống tên lửa phòng không NASAMS ở cự ly chỉ từ 25-30 km.
Để tăng độ chính xác tấn công, ngoài hiệu chỉnh theo tín hiệu GLONASS và dẫn đường quán tính, tên lửa Kh-50 trong giai đoạn tiếp cận mục tiêu, còn sử hệ thống quang điện tử Otblesk, để so sánh bề mặt địa hình thực ở gần mục tiêu với các hình ảnh vệ tinh mẫu được nạp sẵn. Để bay ở độ cao cực thấp, tên lửa sử dụng thiết bị đo cao vô tuyến (ảnh tên lửa hành trình Kh-101).
Để tăng độ chính xác tấn công, ngoài hiệu chỉnh theo tín hiệu GLONASS và dẫn đường quán tính, tên lửa Kh-50 trong giai đoạn tiếp cận mục tiêu, còn sử hệ thống quang điện tử Otblesk, để so sánh bề mặt địa hình thực ở gần mục tiêu với các hình ảnh vệ tinh mẫu được nạp sẵn. Để bay ở độ cao cực thấp, tên lửa sử dụng thiết bị đo cao vô tuyến (ảnh tên lửa hành trình Kh-101).
Giống như đàn anh Kh-101, tên lửa Kh-50 có thể đạt tầm bắn tới 1.500 km, vượt 15-20% so với đối thủ Mỹ là tên lửa JASSM-ER. Giống như các loại tên lửa hành trình tấn công mặt đất khác, tên lửa Kh-50 có tốc độ cận âm (0,8-0,9M).
Giống như đàn anh Kh-101, tên lửa Kh-50 có thể đạt tầm bắn tới 1.500 km, vượt 15-20% so với đối thủ Mỹ là tên lửa JASSM-ER. Giống như các loại tên lửa hành trình tấn công mặt đất khác, tên lửa Kh-50 có tốc độ cận âm (0,8-0,9M).
Nhưng một đặc điểm quan trọng của tên lửa Kh-50 là thiết kế cửa hút khí được đặt bên trong thân tên lửa. Trong khi trên Kh-101, cửa hút khí là kiểu thò ra, thiết kế này làm tăng độ bộc lộ hồng ngoại và tín hiệu radar của tên lửa. Cả hai loại tên lửa này đều sử dụng động cơ turbine phản lực cỡ nhỏ Izdeliye 37-04 (ảnh tên lửa Kh-101 trên bệ phóng máy bay ném bom Tu-95).
Nhưng một đặc điểm quan trọng của tên lửa Kh-50 là thiết kế cửa hút khí được đặt bên trong thân tên lửa. Trong khi trên Kh-101, cửa hút khí là kiểu thò ra, thiết kế này làm tăng độ bộc lộ hồng ngoại và tín hiệu radar của tên lửa. Cả hai loại tên lửa này đều sử dụng động cơ turbine phản lực cỡ nhỏ Izdeliye 37-04 (ảnh tên lửa Kh-101 trên bệ phóng máy bay ném bom Tu-95).
Đáng chú ý là cho đến nay, các mẫu sản xuất loạt của tên lửa Kh-50 đã đạt trạng thái sẵn sàng chiến đấu và sẵn sàng cho chiến đấu thử nghiệm, nằm trong thành phần vũ khí biên chế của các máy bay ném bom tầm xa Tu-22M3M, máy bay ném bom chiến lược Tu-160M và Tu-95MSM (ảnh nắp tên lửa Kh-101 lên máy bay Tu-160).
Đáng chú ý là cho đến nay, các mẫu sản xuất loạt của tên lửa Kh-50 đã đạt trạng thái sẵn sàng chiến đấu và sẵn sàng cho chiến đấu thử nghiệm, nằm trong thành phần vũ khí biên chế của các máy bay ném bom tầm xa Tu-22M3M, máy bay ném bom chiến lược Tu-160M và Tu-95MSM (ảnh nắp tên lửa Kh-101 lên máy bay Tu-160).
Một yếu tố đáng quan tâm là việc bộc lộ tín hiệu hồng ngoại của tên lửa Kh-50 sẽ thấp hơn khoảng 1,5-2 lần so với tên lửa Kh-101, các hệ thống trinh sát quang-điện tử đa phổ của các hệ thống tên lửa phòng không lục quân như AN/TWQ-1 (M1097) Avenger của Mỹ và Stormer HVM của Anh, chỉ có thể phát hiện các tên lửa này ở cự ly 3-5 km; trong khi Kh-101 và Kh-555 bị phát hiện ở cự ly 7-10 km.
Một yếu tố đáng quan tâm là việc bộc lộ tín hiệu hồng ngoại của tên lửa Kh-50 sẽ thấp hơn khoảng 1,5-2 lần so với tên lửa Kh-101, các hệ thống trinh sát quang-điện tử đa phổ của các hệ thống tên lửa phòng không lục quân như AN/TWQ-1 (M1097) Avenger của Mỹ và Stormer HVM của Anh, chỉ có thể phát hiện các tên lửa này ở cự ly 3-5 km; trong khi Kh-101 và Kh-555 bị phát hiện ở cự ly 7-10 km.
Do đó, một hệ thống tên lửa phòng không Avenger chỉ có thể đánh chặn từ 1-2 tên lửa Kh-50, thay vì 3-4 tên lửa đối với Kh-101. Cùng với đó thì hiệu quả tác chiến chống tên lửa hành trình Kh-50 của các hệ thống tên lửa phòng không NASAMS cũng như IRIS-T SLM cũng sẽ giảm đi.
Do đó, một hệ thống tên lửa phòng không Avenger chỉ có thể đánh chặn từ 1-2 tên lửa Kh-50, thay vì 3-4 tên lửa đối với Kh-101. Cùng với đó thì hiệu quả tác chiến chống tên lửa hành trình Kh-50 của các hệ thống tên lửa phòng không NASAMS cũng như IRIS-T SLM cũng sẽ giảm đi.
Lý do là tên lửa Kh-50 sẽ được lắp các trạm gây nhiễu chủ động tích hợp, do vậy việc theo dõi tên lửa Kh-50 đối với các radar AN/MPQ-64F1 của hệ thống NASAMS và TRML-4D của IRIS-T SLM sẽ khó khăn hơn nhiều, so với việc phát hiện và bám theo tên lửa hành trình Kalibr và Kh-101.
Lý do là tên lửa Kh-50 sẽ được lắp các trạm gây nhiễu chủ động tích hợp, do vậy việc theo dõi tên lửa Kh-50 đối với các radar AN/MPQ-64F1 của hệ thống NASAMS và TRML-4D của IRIS-T SLM sẽ khó khăn hơn nhiều, so với việc phát hiện và bám theo tên lửa hành trình Kalibr và Kh-101.
Hiện bề mặt tán xạ radar của tên lửa Kalibr và Kh-101 là khoảng 0,1 và 0,03 m2, thì ở Kh-50, độ tán xạ radar chỉ từ 0,01-0,015 m2. Mà điều này có nghĩa là việc nhận dạng một mục tiêu nhỏ như vậy trên nền nhiễu, sẽ khó khăn hơn nhiều.
Hiện bề mặt tán xạ radar của tên lửa Kalibr và Kh-101 là khoảng 0,1 và 0,03 m2, thì ở Kh-50, độ tán xạ radar chỉ từ 0,01-0,015 m2. Mà điều này có nghĩa là việc nhận dạng một mục tiêu nhỏ như vậy trên nền nhiễu, sẽ khó khăn hơn nhiều.
Rất có thể Nga sẽ sử dụng các tên lửa Kh-50 để phá hủy các trung tâm hậu cần, kho đạn, sở chỉ huy quan trọng trên hướng mặt trận Zaporozhie cùng với bom liệng có điều khiển UPAB-1500B. Việc này có thể làm phức tạp rất lớn cho việc triển khai đội hình và nỗ lực tiến công các đơn vị Ukraine trên các hướng chiến dịch Melitopol và Berdyansk.
Rất có thể Nga sẽ sử dụng các tên lửa Kh-50 để phá hủy các trung tâm hậu cần, kho đạn, sở chỉ huy quan trọng trên hướng mặt trận Zaporozhie cùng với bom liệng có điều khiển UPAB-1500B. Việc này có thể làm phức tạp rất lớn cho việc triển khai đội hình và nỗ lực tiến công các đơn vị Ukraine trên các hướng chiến dịch Melitopol và Berdyansk.
Một loại tên lửa chiến thuật nhỏ khác cũng được Quân đội Nga sử dụng trong thời gian tới, đó chính là tên lửa không đối đất chiến thuật đa năng Kh-BPLA; trang bị trên loại UAV trinh sát-chiến đấu như Orion, Sirius hoặc UAV chiến đấu tàng hình Okhotnik, hay các loại trực thăng vũ trang như Ka-52 Alligator.
Một loại tên lửa chiến thuật nhỏ khác cũng được Quân đội Nga sử dụng trong thời gian tới, đó chính là tên lửa không đối đất chiến thuật đa năng Kh-BPLA; trang bị trên loại UAV trinh sát-chiến đấu như Orion, Sirius hoặc UAV chiến đấu tàng hình Okhotnik, hay các loại trực thăng vũ trang như Ka-52 Alligator.
Tên lửa chiến thuật đa nhiệm Kh-BPLA là biến thể của họ tên lửa chống tăng có điều khiển 9M133FM-2/3 phóng từ trên không. Tầm bắn của tên lửa dòng Kh-BPLA ở các biến thể đầu là 8 và 10 km. Trong điều kiện khí tượng thuận lợi, bán kính tác chiến của các tên lửa này phóng từ giá treo của UAV Orion đạt 8-10 km.
Tên lửa chiến thuật đa nhiệm Kh-BPLA là biến thể của họ tên lửa chống tăng có điều khiển 9M133FM-2/3 phóng từ trên không. Tầm bắn của tên lửa dòng Kh-BPLA ở các biến thể đầu là 8 và 10 km. Trong điều kiện khí tượng thuận lợi, bán kính tác chiến của các tên lửa này phóng từ giá treo của UAV Orion đạt 8-10 km.
Theo trang tin Avia, vài ngày trước, một chiếc UAV Orion đã tiêu diệt thành công nơi tập trung vũ khí trang bị và sinh lực của quân đội Ukraine ở gần khu vực Avdeevka bằng các tên lửa không đối đất chiến thuật đa năng Kh-BPLA với đầu đạn nhiệt áp.
Theo trang tin Avia, vài ngày trước, một chiếc UAV Orion đã tiêu diệt thành công nơi tập trung vũ khí trang bị và sinh lực của quân đội Ukraine ở gần khu vực Avdeevka bằng các tên lửa không đối đất chiến thuật đa năng Kh-BPLA với đầu đạn nhiệt áp.

GALLERY MỚI NHẤT

Diễn viên Thương Tín qua đời ở tuổi 69

Diễn viên Thương Tín qua đời ở tuổi 69

Diễn viên Thương Tín qua đời vào ngày 8/12 tại nhà riêng ở Khánh Hòa. Ông ra đi ở tuổi 69. Ông để lại dấu ấn sâu đậm qua hàng trăm vai diễn trong lịch sử điện ảnh Việt Nam.