“Đại bàng đen”, siêu xe tăng chết yểu của Nga sắp “hồi sinh“?

“Đại bàng đen”, siêu xe tăng chết yểu của Nga sắp “hồi sinh“?

“Đại bàng đen” hay “Dự án 640”, được phát triển bởi Omsktransmash vào những năm 90, là một trong những dự án tốn nhiều giấy mực của báo chí Nga. Gần đây, truyền thông lại đồn đoán về khả năng hồi sinh dự án này.

Tuy nhiên, các chuyên gia quân sự của Topwar đã khẳng định rằng không có việc sản xuất hàng loạt xe tăng “Đại bàng đen”, và cũng không có đơn đặt hàng từ nhà nước cho việc sản xuất hay nghiên cứu phát triển nó, như Bộ Quốc phòng Nga đã tuyên bố vào năm 2009. Thực chất, các động thái liên quan đến “Đại bàng đen” vài năm gần đây chỉ là sáng kiến của Omsktransmash. (Ảnh: Một mẫu xe tăng "Đại bàng đen" đang chạy, được chế tạo trên khung gầm T-80U với sáu bánh xe trên xe năm 1997/Topwar).
Tuy nhiên, các chuyên gia quân sự của Topwar đã khẳng định rằng không có việc sản xuất hàng loạt xe tăng “Đại bàng đen”, và cũng không có đơn đặt hàng từ nhà nước cho việc sản xuất hay nghiên cứu phát triển nó, như Bộ Quốc phòng Nga đã tuyên bố vào năm 2009. Thực chất, các động thái liên quan đến “Đại bàng đen” vài năm gần đây chỉ là sáng kiến của Omsktransmash. (Ảnh: Một mẫu xe tăng "Đại bàng đen" đang chạy, được chế tạo trên khung gầm T-80U với sáu bánh xe trên xe năm 1997/Topwar).
Nhìn chung, tương lai của “Đại bàng đen” phụ thuộc vào việc áp dụng các phát triển từ dự án này vào sản xuất xe tăng T-80. Điểm nổi bật không nằm ở điện tử, hệ thống bảo vệ hay động cơ, mà là các cấu trúc cơ bản. Qua đó, các nhà thiết kế đã khắc phục được những nhược điểm lớn nhất của các xe chiến đấu hiện tại theo mẫu Liên Xô, đồng thời tăng cường đáng kể khả năng bảo vệ của xe. (Ảnh: Một nguyên mẫu của xe tăng Black Eagle được chế tạo trên khung gầm có bảy bánh xe trên xe năm 1999/ Topwar).
Nhìn chung, tương lai của “Đại bàng đen” phụ thuộc vào việc áp dụng các phát triển từ dự án này vào sản xuất xe tăng T-80. Điểm nổi bật không nằm ở điện tử, hệ thống bảo vệ hay động cơ, mà là các cấu trúc cơ bản. Qua đó, các nhà thiết kế đã khắc phục được những nhược điểm lớn nhất của các xe chiến đấu hiện tại theo mẫu Liên Xô, đồng thời tăng cường đáng kể khả năng bảo vệ của xe. (Ảnh: Một nguyên mẫu của xe tăng Black Eagle được chế tạo trên khung gầm có bảy bánh xe trên xe năm 1999/ Topwar).
Một vấn đề lớn của các xe tăng Liên Xô như T-64, T-72, T-80 là không tách biệt kho đạn và khoang điều khiển, gây nguy cơ cao cho kíp lái. “Đại bàng đen” giải quyết vấn đề này bằng cách đặt kho đạn trong mô-đun vận chuyển và nạp đạn ở phía sau tháp pháo, tách biệt hoàn toàn khỏi khoang chiến đấu. Mô-đun này có cơ chế nạp đạn tự động với băng chuyền chứa hơn 30 viên đạn. (Ảnh: Xe tăng T-80/ RIA Novosti).
Một vấn đề lớn của các xe tăng Liên Xô như T-64, T-72, T-80 là không tách biệt kho đạn và khoang điều khiển, gây nguy cơ cao cho kíp lái. “Đại bàng đen” giải quyết vấn đề này bằng cách đặt kho đạn trong mô-đun vận chuyển và nạp đạn ở phía sau tháp pháo, tách biệt hoàn toàn khỏi khoang chiến đấu. Mô-đun này có cơ chế nạp đạn tự động với băng chuyền chứa hơn 30 viên đạn. (Ảnh: Xe tăng T-80/ RIA Novosti).
Đạn được đặt theo hướng trục dọc của pháo và chỉ tiếp xúc với kíp lái qua một cửa bọc giáp mở ra khi nạp đạn. Mái của mô-đun có hai tấm văng để giảm áp suất và hướng sóng xung kích ra ngoài nếu đạn nổ. (Ảnh: Hình ảnh mô-đun vận chuyển và nạp đạn "Đại bàng đen" từ đuôi xe tăng/ Topwar).
Đạn được đặt theo hướng trục dọc của pháo và chỉ tiếp xúc với kíp lái qua một cửa bọc giáp mở ra khi nạp đạn. Mái của mô-đun có hai tấm văng để giảm áp suất và hướng sóng xung kích ra ngoài nếu đạn nổ. (Ảnh: Hình ảnh mô-đun vận chuyển và nạp đạn "Đại bàng đen" từ đuôi xe tăng/ Topwar).
Các mô-đun vận chuyển đạn của Omsktransmash, bao gồm trong dự án "Burlak" cho T-72 và T-80, giúp tăng khả năng sống sót của kíp lái và giảm thiệt hại xe tăng từ 5-7 lần. Những mô-đun này loại bỏ vấn đề giới hạn chiều dài đạn xuyên giáp. (Ảnh: Nhìn từ trên xuống: 1 - súng; 2 - tháp pháo; 4 - mái tháp pháo; 27 - cửa nạp bổ sung có nắp; 28 - hai cửa sập có nắp để định hướng sóng nổ trong vụ nổ khẩn cấp; 93 - vỏ bọc thép của xe cơ chế dẫn động nút chặn băng tải và mở băng đạn/ Topwar).
Các mô-đun vận chuyển đạn của Omsktransmash, bao gồm trong dự án "Burlak" cho T-72 và T-80, giúp tăng khả năng sống sót của kíp lái và giảm thiệt hại xe tăng từ 5-7 lần. Những mô-đun này loại bỏ vấn đề giới hạn chiều dài đạn xuyên giáp. (Ảnh: Nhìn từ trên xuống: 1 - súng; 2 - tháp pháo; 4 - mái tháp pháo; 27 - cửa nạp bổ sung có nắp; 28 - hai cửa sập có nắp để định hướng sóng nổ trong vụ nổ khẩn cấp; 93 - vỏ bọc thép của xe cơ chế dẫn động nút chặn băng tải và mở băng đạn/ Topwar).
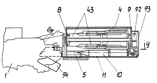
Vấn đề bình nhiên liệu trong xe tăng cũng là một mối nguy hiểm lớn. Ở "Đại bàng đen", vấn đề này được giảm thiểu bằng cách tách biệt hoàn toàn nhiên liệu khỏi kíp lái. Các bình nhiên liệu được đặt trong các khoang lớn ở hai bên người lái, ngăn cách bằng vách ngăn bọc giáp, tương tự như giải pháp trên xe tăng "Abrams" (Mỹ). (Ảnh: Nhìn mặt bên: 1 – súng; 4 – mái tháp pháo; 8 – thành trước của cấu trúc tháp pháo; 9 – thành sau của cấu trúc tháp pháo; 10 – phát đạn; 11 – thân khay nhận; 43 – khung băng đạn; 92 – tổ hợp cơ chế bắn; 93 – vỏ bọc thép của các cơ cấu truyền động của nút chặn băng tải và mở băng đạn; 94 – thanh dẫn hướng di chuyển được/Topwar).
Vấn đề bình nhiên liệu trong xe tăng cũng là một mối nguy hiểm lớn. Ở "Đại bàng đen", vấn đề này được giảm thiểu bằng cách tách biệt hoàn toàn nhiên liệu khỏi kíp lái. Các bình nhiên liệu được đặt trong các khoang lớn ở hai bên người lái, ngăn cách bằng vách ngăn bọc giáp, tương tự như giải pháp trên xe tăng "Abrams" (Mỹ). (Ảnh: Nhìn mặt bên: 1 – súng; 4 – mái tháp pháo; 8 – thành trước của cấu trúc tháp pháo; 9 – thành sau của cấu trúc tháp pháo; 10 – phát đạn; 11 – thân khay nhận; 43 – khung băng đạn; 92 – tổ hợp cơ chế bắn; 93 – vỏ bọc thép của các cơ cấu truyền động của nút chặn băng tải và mở băng đạn; 94 – thanh dẫn hướng di chuyển được/Topwar).
Cách này không chỉ tăng khả năng sống sót của kíp lái và xe tăng mà còn cung cấp thêm lớp bảo vệ bằng cách sử dụng nhiên liệu như một tấm chắn chống đạn xuyên giáp và các vách ngăn bọc giáp chống mảnh. (Ảnh: Xe tăng T-80/Topwar).
Cách này không chỉ tăng khả năng sống sót của kíp lái và xe tăng mà còn cung cấp thêm lớp bảo vệ bằng cách sử dụng nhiên liệu như một tấm chắn chống đạn xuyên giáp và các vách ngăn bọc giáp chống mảnh. (Ảnh: Xe tăng T-80/Topwar).
Tháp pháo của "Đại bàng đen" khác biệt hoàn toàn so với các xe tăng khác, được thiết kế để chống lại các vũ khí chống tăng và tên lửa tấn công từ trên cao. Tháp pháo này là phần của khoang chiến đấu cải tiến từ T-80, cho phép người lái và chỉ huy ngồi ở tháp pháo trong khi di chuyển và ở dưới tháp pháo khi chiến đấu nhờ ghế điều chỉnh độ cao. (Ảnh: Sơ đồ tháp pháo của xe tăng/Topwar).
Tháp pháo của "Đại bàng đen" khác biệt hoàn toàn so với các xe tăng khác, được thiết kế để chống lại các vũ khí chống tăng và tên lửa tấn công từ trên cao. Tháp pháo này là phần của khoang chiến đấu cải tiến từ T-80, cho phép người lái và chỉ huy ngồi ở tháp pháo trong khi di chuyển và ở dưới tháp pháo khi chiến đấu nhờ ghế điều chỉnh độ cao. (Ảnh: Sơ đồ tháp pháo của xe tăng/Topwar).
Thiết kế này giảm nguy cơ trúng đạn vào kíp lái, giảm chiều cao tháp pháo và tăng cường giáp bảo vệ. Tháp pháo có ba khoang riêng biệt: hai khoang cho người lái và chỉ huy, và khoang giữa chứa pháo chính, được làm kín để ngăn khí thuốc súng và tăng bảo vệ khi bị trúng đạn. (Ảnh: Mô phỏng xe tăng Dự án 640/Wikipedia).
Thiết kế này giảm nguy cơ trúng đạn vào kíp lái, giảm chiều cao tháp pháo và tăng cường giáp bảo vệ. Tháp pháo có ba khoang riêng biệt: hai khoang cho người lái và chỉ huy, và khoang giữa chứa pháo chính, được làm kín để ngăn khí thuốc súng và tăng bảo vệ khi bị trúng đạn. (Ảnh: Mô phỏng xe tăng Dự án 640/Wikipedia).
Bên ngoài và bên trong tháp pháo được bọc giáp bằng các tấm thép, sắp xếp theo các góc nghiêng 20-30 độ, tạo thành cấu trúc hình kim tự tháp cắt cụt để tăng khả năng chống đạn. Bên trong tháp pháo có gân gia cố để ngăn giáp bị cong và vỡ khi trúng đạn. Tháp pháo được trang bị giáp bảo vệ toàn diện, bao gồm cả nóc, giúp chống lại đạn tấn công từ trên cao. (Ảnh: Sơ đồ bên trong xe tăng Dự án 640/ Wikipedia).
Bên ngoài và bên trong tháp pháo được bọc giáp bằng các tấm thép, sắp xếp theo các góc nghiêng 20-30 độ, tạo thành cấu trúc hình kim tự tháp cắt cụt để tăng khả năng chống đạn. Bên trong tháp pháo có gân gia cố để ngăn giáp bị cong và vỡ khi trúng đạn. Tháp pháo được trang bị giáp bảo vệ toàn diện, bao gồm cả nóc, giúp chống lại đạn tấn công từ trên cao. (Ảnh: Sơ đồ bên trong xe tăng Dự án 640/ Wikipedia).
Thiết kế này tăng khả năng bảo vệ lên 1,7-2 lần với khối lượng tăng 20-30%, bảo vệ tốt ở góc bắn ±35-40 độ. Nó vẫn phù hợp với sự phát triển của các thiết bị bay không người lái và vũ khí chống tăng hiện đại. Tháp pháo thấp cũng có lợi thế hơn so với các mô-đun chiến đấu không có người lái, vì không phụ thuộc hoàn toàn vào điện tử và vẫn sử dụng được các thiết bị ngắm quang học. (Ảnh: Xe tăng "Đại bàng đen" tại Omsktransmash/ RIA Novosti).
Thiết kế này tăng khả năng bảo vệ lên 1,7-2 lần với khối lượng tăng 20-30%, bảo vệ tốt ở góc bắn ±35-40 độ. Nó vẫn phù hợp với sự phát triển của các thiết bị bay không người lái và vũ khí chống tăng hiện đại. Tháp pháo thấp cũng có lợi thế hơn so với các mô-đun chiến đấu không có người lái, vì không phụ thuộc hoàn toàn vào điện tử và vẫn sử dụng được các thiết bị ngắm quang học. (Ảnh: Xe tăng "Đại bàng đen" tại Omsktransmash/ RIA Novosti).
Topwar

GALLERY MỚI NHẤT

Hàng nghìn người hưởng ứng “Hành động Xanh - Chọn tương lai Xanh”

Hàng nghìn người hưởng ứng “Hành động Xanh - Chọn tương lai Xanh”

Sáng 4/4, hàng nghìn người dân và thanh niên trên khắp cả nước cùng tham gia hoạt động dọn dẹp vệ sinh khu phố và thu gom đồ dùng cũ, hưởng ứng lời kêu gọi “Hành động Xanh - Chọn tương lai Xanh” do Quỹ Vì Tương lai xanh do Tập đoàn Vingroup phát động. Đây là một trong những hoạt động tiêu biểu mở màn cho chuỗi chiến dịch “Thứ 4 Ngày Xanh” được Quỹ triển khai xuyên suốt năm 2026 với thông điệp “Hành động Xanh - Chọn tương lai Xanh”.