Chery OMODA 5 từ 699 triệu về Việt Nam có cửa "đấu" SUV hạng B

Chery OMODA 5 từ 699 triệu về Việt Nam có cửa "đấu" SUV hạng B

Với những trang bị tiện nghi, an toàn và động cơ nổi trội, OMODA 5 hứa hẹn sẽ làm sôi động động phân khúc SUV hạng B tại Việt Nam trong thời gian tới.

Hãng xe Chery của Trung Quốc từng xuất hiện tại Việt Nam vào năm 2009 với mẫu xe đô thị hạng A có tên gọi QQ3 được lắp ráp trong nước bởi Liên doanh Ô tô Hòa Bình (VMC) với giá bán chưa đến 200 triệu đồng.
Hãng xe Chery của Trung Quốc từng xuất hiện tại Việt Nam vào năm 2009 với mẫu xe đô thị hạng A có tên gọi QQ3 được lắp ráp trong nước bởi Liên doanh Ô tô Hòa Bình (VMC) với giá bán chưa đến 200 triệu đồng.
Ở những năm sau đó, hãng xe này có giới thiệu thêm một số sản phẩm tuy nhiên doanh số không mấy khả quan nên thương hiệu này dần biến mất khỏi nước ta vào năm 2013. Mới đây, Chery đã chính thức thông báo sẽ quay trở lại thị trường Việt Nam với thương hiệu con mới là OMODA.
Ở những năm sau đó, hãng xe này có giới thiệu thêm một số sản phẩm tuy nhiên doanh số không mấy khả quan nên thương hiệu này dần biến mất khỏi nước ta vào năm 2013. Mới đây, Chery đã chính thức thông báo sẽ quay trở lại thị trường Việt Nam với thương hiệu con mới là OMODA.
Khoảng tháng 3/2022, mẫu xe Trung Quốc - Chery OMODA 5 2022 mới đã bất ngờ được đăng ký bảo hộ kiểu dáng công nghiệp tại Việt Nam. Kể từ đó, nhiều người đã mong đợi thông tin về giá bán của mẫu SUV này. Theo một số nguồn tin , Chery OMODA 5 sẽ được phân phối tại Việt Nam với 3 phiên bản, giá bán dao động từ 699 - 799 triệu đồng.
Khoảng tháng 3/2022, mẫu xe Trung Quốc - Chery OMODA 5 2022 mới đã bất ngờ được đăng ký bảo hộ kiểu dáng công nghiệp tại Việt Nam. Kể từ đó, nhiều người đã mong đợi thông tin về giá bán của mẫu SUV này. Theo một số nguồn tin , Chery OMODA 5 sẽ được phân phối tại Việt Nam với 3 phiên bản, giá bán dao động từ 699 - 799 triệu đồng.
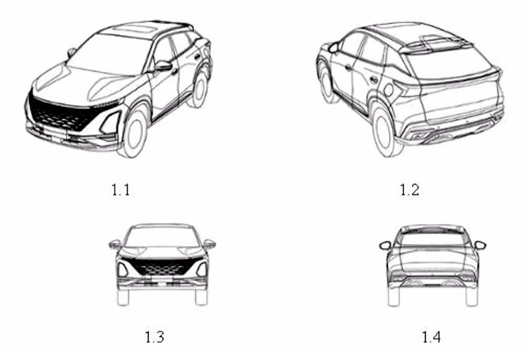
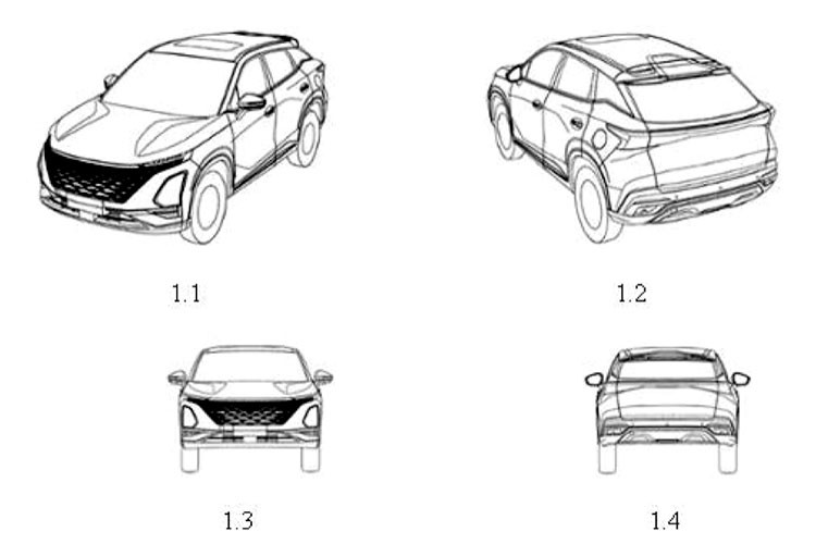
Mức giá xe Chery OMODA 5 đồn đoán này được cho là khá cạnh tranh so với những đối thủ cùng phân khúc như Kia Seltos, Hyundai Creta, Honda HR-V và Toyota Corolla Cross. Xe có số đo 3 vòng lần lượt dài x rộng x cao lần lượt là 4.400 x 1.830 x 1.588 mm, kích thước này có phần nhỉnh hơn các đối thủ cùng phân khúc.
Mức giá xe Chery OMODA 5 đồn đoán này được cho là khá cạnh tranh so với những đối thủ cùng phân khúc như Kia Seltos, Hyundai Creta, Honda HR-V và Toyota Corolla Cross. Xe có số đo 3 vòng lần lượt dài x rộng x cao lần lượt là 4.400 x 1.830 x 1.588 mm, kích thước này có phần nhỉnh hơn các đối thủ cùng phân khúc.
Bên cạnh kích thước vượt mặt các đối thủ, OMODA 5 còn sở hữu thiết kế ngoại thất đầy phong cách nhờ triết lý Art in Motion mới. Đây cũng là mẫu SUV đầu tiên của Chery được áp dụng triết lý thiết kế này. Nhờ đó, OMODA 5 mang trên mình những đường nét thiết kế mượt mà và khí động lực học.
Bên cạnh kích thước vượt mặt các đối thủ, OMODA 5 còn sở hữu thiết kế ngoại thất đầy phong cách nhờ triết lý Art in Motion mới. Đây cũng là mẫu SUV đầu tiên của Chery được áp dụng triết lý thiết kế này. Nhờ đó, OMODA 5 mang trên mình những đường nét thiết kế mượt mà và khí động lực học.
Xe có phần lưới tản nhiệt tràn viền cỡ lớn được thiết kế khá táo bạo cùng hệ thống đèn 2 tầng trên đầu xe. Bên cạnh đó là dải đèn LED định vị ban ngày hình chữ "T" có thiết kế hẹp. Thân xe được thiết kế dốc về phía sau, kính cửa sổ khá hẹp và bộ vành hợp kim 18 inch với 5 chấu kép sơn 2 màu tương phản.
Xe có phần lưới tản nhiệt tràn viền cỡ lớn được thiết kế khá táo bạo cùng hệ thống đèn 2 tầng trên đầu xe. Bên cạnh đó là dải đèn LED định vị ban ngày hình chữ "T" có thiết kế hẹp. Thân xe được thiết kế dốc về phía sau, kính cửa sổ khá hẹp và bộ vành hợp kim 18 inch với 5 chấu kép sơn 2 màu tương phản.
Phía đuôi xe là đèn hậu được thiết kế nằm vắt ngang đuôi xe và 2 đầu ống xả giả hình chữ nhật nằm khá cao. Về nội thất, bên trong khoang cabin của Chery OMODA 5 là không gian được thiết kế theo phong cách thể thao, thời thượng. Người dùng sẽ không khỏi bất ngờ trước những trang bị như 2 màn hình 10,25 inch đặt nổi trên mặt táp-lô theo phong cách của những chiếc xe hạng sang.
Phía đuôi xe là đèn hậu được thiết kế nằm vắt ngang đuôi xe và 2 đầu ống xả giả hình chữ nhật nằm khá cao. Về nội thất, bên trong khoang cabin của Chery OMODA 5 là không gian được thiết kế theo phong cách thể thao, thời thượng. Người dùng sẽ không khỏi bất ngờ trước những trang bị như 2 màn hình 10,25 inch đặt nổi trên mặt táp-lô theo phong cách của những chiếc xe hạng sang.
Không những thế, chiếc SUV này còn được trang bị vô lăng vát đáy khỏe khoắn và ghế thể thao ôm lấy thân người ngồi. Ghế có thể kết hợp nhiều màu sắc với nhau theo đúng tinh thần trẻ trung được áp dụng cho xe.
Không những thế, chiếc SUV này còn được trang bị vô lăng vát đáy khỏe khoắn và ghế thể thao ôm lấy thân người ngồi. Ghế có thể kết hợp nhiều màu sắc với nhau theo đúng tinh thần trẻ trung được áp dụng cho xe.
Theo một số nguồn tin, OMODA 5 tại Việt Nam sẽ có thêm những trang bị nổi bật như sạc điện thoại thông minh không dây, bảng đồng hồ kỹ thuật số và cửa sổ trời toàn cảnh Panorama hay hệ thống đèn viền 64 màu.
Theo một số nguồn tin, OMODA 5 tại Việt Nam sẽ có thêm những trang bị nổi bật như sạc điện thoại thông minh không dây, bảng đồng hồ kỹ thuật số và cửa sổ trời toàn cảnh Panorama hay hệ thống đèn viền 64 màu.
Bên cạnh sự tiện nghi và hiện đại, OMODA 5 còn có những trang bị an toàn như: hệ thống an toàn chủ động ADAS bao gồm hệ thống kiểm soát hành trình thích ứng, hỗ trợ lái xe khi tắc đường, camera 360 độ, hệ thống phát hiện, cảnh báo điểm mù
Bên cạnh sự tiện nghi và hiện đại, OMODA 5 còn có những trang bị an toàn như: hệ thống an toàn chủ động ADAS bao gồm hệ thống kiểm soát hành trình thích ứng, hỗ trợ lái xe khi tắc đường, camera 360 độ, hệ thống phát hiện, cảnh báo điểm mù
Ngoài ra, xe cũng có hệ thống ảnh báo phương tiện cắt ngang khi lùi, hỗ trợ chuyển làn đường, cảnh báo chệch làn đường, ngăn chệch làn đường và giữ làn đường khẩn cấp. So với các đối thủ cùng phân khúc, OMODA 5 rõ ràng có hệ thống an toàn đầy đủ hơn.
Ngoài ra, xe cũng có hệ thống ảnh báo phương tiện cắt ngang khi lùi, hỗ trợ chuyển làn đường, cảnh báo chệch làn đường, ngăn chệch làn đường và giữ làn đường khẩn cấp. So với các đối thủ cùng phân khúc, OMODA 5 rõ ràng có hệ thống an toàn đầy đủ hơn.
Omoda 5 là mẫu xe mà Chery giới thiệu lần đầu tại Triển lãm ôtô Quảng Châu 2021. Đây là sản phẩm được hãng định vị toàn cầu, dự kiến sẽ bán ở nhiều thị trường khác ngoài Trung Quốc như châu Âu, châu Úc, Đông Nam Á, Nam Mỹ, Nam Phi.
Omoda 5 là mẫu xe mà Chery giới thiệu lần đầu tại Triển lãm ôtô Quảng Châu 2021. Đây là sản phẩm được hãng định vị toàn cầu, dự kiến sẽ bán ở nhiều thị trường khác ngoài Trung Quốc như châu Âu, châu Úc, Đông Nam Á, Nam Mỹ, Nam Phi.
Video: Xem chi tiết xe SUV Chery OMODA 5 của Trung Quốc.

GALLERY MỚI NHẤT