Hyundai sắp biến sạc không dây cho xe ôtô điện thành hiện thực

Hyundai sắp biến sạc không dây cho xe ôtô điện thành hiện thực

Cách thức hoạt động của sạc không dây Hyundai dành cho xe điện gần giống với sạc không dây dành cho điện thoại, nhưng sẽ có cấu tạo phức tạp hơn.

Theo trang tin CarBuzz, hãng Hyundai đã nộp đơn xin cấp bằng sáng chế về sạc xe điện không dây lên Văn phòng Sở hữu trí tuệ Hàn Quốc (KIPO). Để đơn giản hoá cách thức hoạt động của sạc không dây ôtô của Hyundai, chúng ta hãy lấy chiếc smartphone của mình làm ví dụ.
Theo trang tin CarBuzz, hãng Hyundai đã nộp đơn xin cấp bằng sáng chế về sạc xe điện không dây lên Văn phòng Sở hữu trí tuệ Hàn Quốc (KIPO). Để đơn giản hoá cách thức hoạt động của sạc không dây ôtô của Hyundai, chúng ta hãy lấy chiếc smartphone của mình làm ví dụ.
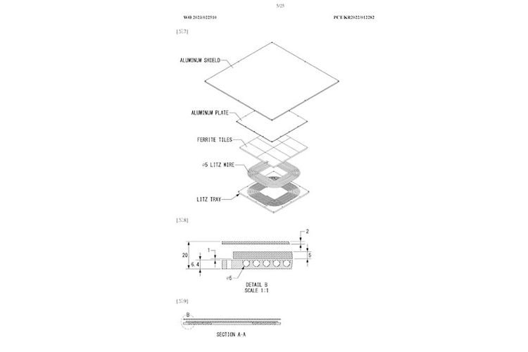
Sạc không dây sử dụng điện từ làm phương tiện truyền năng lượng giữa đế (đế sạc không dây) và bộ thu (điện thoại của bạn). Cả đế và đầu thu đều chứa một số lượng lớn cuộn dây quấn quanh các lõi ferit (lõi từ tính) riêng lẻ. Khi được kết nối với nguồn điện xoay chiều, nó sẽ tạo ra một từ trường xoay chiều nhanh ở đế sạc để từ đó điện thoại có thể thu được năng lượng.
Sạc không dây sử dụng điện từ làm phương tiện truyền năng lượng giữa đế (đế sạc không dây) và bộ thu (điện thoại của bạn). Cả đế và đầu thu đều chứa một số lượng lớn cuộn dây quấn quanh các lõi ferit (lõi từ tính) riêng lẻ. Khi được kết nối với nguồn điện xoay chiều, nó sẽ tạo ra một từ trường xoay chiều nhanh ở đế sạc để từ đó điện thoại có thể thu được năng lượng.
Hãng xe ôtô Hyundai tin rằng công nghệ này đáng để phát triển, mặc dù nó sẽ có nhiều vấn đề trong việc biến đổi từ phiên bản dành cho điện thoại lên ô tô. Để hiện thực hoá, hãng phải sử dụng một số phương pháp công nghệ cao. Cải tiến đầu tiên là sử dụng dây dẹt. Hầu hết các thiết bị sạc không dây hiện nay đều sử dụng dây đồng "Litz" cách điện trong cuộn dây của chúng.
Hãng xe ôtô Hyundai tin rằng công nghệ này đáng để phát triển, mặc dù nó sẽ có nhiều vấn đề trong việc biến đổi từ phiên bản dành cho điện thoại lên ô tô. Để hiện thực hoá, hãng phải sử dụng một số phương pháp công nghệ cao. Cải tiến đầu tiên là sử dụng dây dẹt. Hầu hết các thiết bị sạc không dây hiện nay đều sử dụng dây đồng "Litz" cách điện trong cuộn dây của chúng.
Loại dây này cực mỏng và quấn rất chặt để tiết kiệm không gian. Dây Litz phù hợp với các thiết bị sử dụng ít năng lượng như smartphone. Còn với ô tô sử dụng nhiều năng lượng sẽ cần lượng dây đồng lớn hơn và đòi hỏi kỹ thuật phức tạp, dẫn đến chi phí cực kỳ đắt đỏ.
Loại dây này cực mỏng và quấn rất chặt để tiết kiệm không gian. Dây Litz phù hợp với các thiết bị sử dụng ít năng lượng như smartphone. Còn với ô tô sử dụng nhiều năng lượng sẽ cần lượng dây đồng lớn hơn và đòi hỏi kỹ thuật phức tạp, dẫn đến chi phí cực kỳ đắt đỏ.
Bằng sáng chế của Hyundai đã loại bỏ dây Litz và thay thế nó bằng dây phẳng cách điện, có thể bám sát lõi ferit vuông vắn hơn. Phương pháp này cho phép cuộn nhiều dây hơn vào một thể tích nhỏ hơn mà lại bớt phức tạp hơn. Loại dây này có thể bám sát các góc vuông được bo tròn của lõi ferit, giúp cải thiện cường độ của từ trường và giảm tổn thất từ thông.
Bằng sáng chế của Hyundai đã loại bỏ dây Litz và thay thế nó bằng dây phẳng cách điện, có thể bám sát lõi ferit vuông vắn hơn. Phương pháp này cho phép cuộn nhiều dây hơn vào một thể tích nhỏ hơn mà lại bớt phức tạp hơn. Loại dây này có thể bám sát các góc vuông được bo tròn của lõi ferit, giúp cải thiện cường độ của từ trường và giảm tổn thất từ thông.
Những cải tiến này giúp giảm chi phí, nâng cao hiệu quả truyền tải điện năng và cho phép tạo ra từ trường mạnh hơn kéo dài từ đế. Và, nhờ thiết kế cuộn dây bình phương, từ trường có thể được nhắm chính xác hơn về phía phương tiện tiếp nhận mà không gây ra tổn thất từ thông thông thường.
Những cải tiến này giúp giảm chi phí, nâng cao hiệu quả truyền tải điện năng và cho phép tạo ra từ trường mạnh hơn kéo dài từ đế. Và, nhờ thiết kế cuộn dây bình phương, từ trường có thể được nhắm chính xác hơn về phía phương tiện tiếp nhận mà không gây ra tổn thất từ thông thông thường.
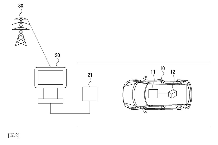
Theo đó, ôtô điện chỉ cần đi vào không gian “đế sạc”, chờ xe được sạc đầy mà không cần phải “cắm” trực tiếp vào “đế” như điện thoại. Công nghệ mới của Hyundai có thể cung cấp các miếng sạc dưới mặt đất, được lắp đặt tại garage nhà hay bãi đậu xe công cộng, cho phép xe sạc ngay khi bạn đỗ vào vị trí sạc.
Theo đó, ôtô điện chỉ cần đi vào không gian “đế sạc”, chờ xe được sạc đầy mà không cần phải “cắm” trực tiếp vào “đế” như điện thoại. Công nghệ mới của Hyundai có thể cung cấp các miếng sạc dưới mặt đất, được lắp đặt tại garage nhà hay bãi đậu xe công cộng, cho phép xe sạc ngay khi bạn đỗ vào vị trí sạc.
Thực tế, những công nghệ này đã từng được thử nghiệm trước đây, nhưng vẫn có sai sót. Và nếu công nghệ sạc của ôtô Hyundai thành hiện thực thì sẽ tác động không nhỏ đến thị phần của xe điện trên thị trường.
Thực tế, những công nghệ này đã từng được thử nghiệm trước đây, nhưng vẫn có sai sót. Và nếu công nghệ sạc của ôtô Hyundai thành hiện thực thì sẽ tác động không nhỏ đến thị phần của xe điện trên thị trường.
Video: Đánh giá ôtô điện Hyundai Ioniq 5 tại Việt Nam.

GALLERY MỚI NHẤT