“Em út” iPhone gập vượt mặt Samsung nhờ màn hình tự lành

“Em út” iPhone gập vượt mặt Samsung nhờ màn hình tự lành

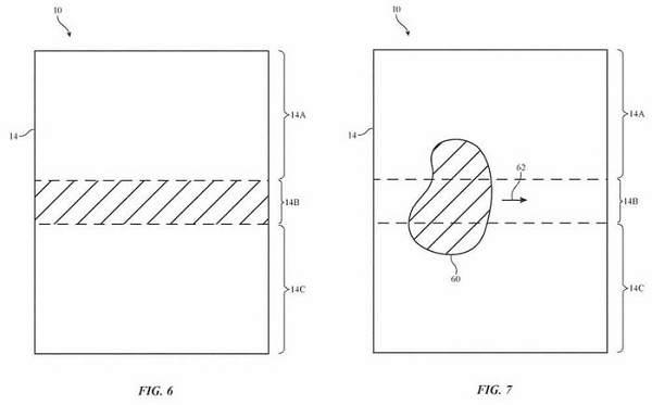
Smartphone màn hình gập đều gặp một vấn đề chung, đó là xuất hiện nếp nhăn ngay phần bản lề. Giải pháp mà Apple phát triển cho iPhone là làm nóng màn hình, giúp không để lại vết nhăn khi gập.

Bằng sáng chế do Văn phòng Thương hiệu và Sáng chế Hoa Kỳ cấp cho Apple mới đây đã đề cập đến phương pháp tăng nhiệt độ cho màn hình khi bị nếp nhăn.
Bằng sáng chế do Văn phòng Thương hiệu và Sáng chế Hoa Kỳ cấp cho Apple mới đây đã đề cập đến phương pháp tăng nhiệt độ cho màn hình khi bị nếp nhăn.
Smartphone màn hình gập đều gặp một vấn đề chung là xuất hiện nếp nhăn ngay phần bản lề. Giải pháp của Apple trong trường hợp này là làm nóng màn hình để chúng không để lại vết nhăn khi gập.
Smartphone màn hình gập đều gặp một vấn đề chung là xuất hiện nếp nhăn ngay phần bản lề. Giải pháp của Apple trong trường hợp này là làm nóng màn hình để chúng không để lại vết nhăn khi gập.
Việc làm nóng màn hình được làm từ nhựa có thể cho phép màn hình linh hoạt hơn và dễ uốn hơn. Tuy nhiên, nhiệt độ cao có thể gây ảnh hưởng xấu. Khi được thực hiện nhiều lần, màn hình có thể cứng và dễ nứt hơn.
Việc làm nóng màn hình được làm từ nhựa có thể cho phép màn hình linh hoạt hơn và dễ uốn hơn. Tuy nhiên, nhiệt độ cao có thể gây ảnh hưởng xấu. Khi được thực hiện nhiều lần, màn hình có thể cứng và dễ nứt hơn.
Theo bằng sáng chế, để khắc phục nhược điểm này, Apple sẽ sử dụng một cảm biến nhiệt độ trên bo mạch để phát hiện nhiệt độ của thiết bị, xác định xem việc làm nóng màn hình có an toàn hay không.
Theo bằng sáng chế, để khắc phục nhược điểm này, Apple sẽ sử dụng một cảm biến nhiệt độ trên bo mạch để phát hiện nhiệt độ của thiết bị, xác định xem việc làm nóng màn hình có an toàn hay không.
Nếu việc uốn cong màn hình là an toàn, các cảm biến sẽ xác định khu vực nào cần được làm nóng. Sau đó, các điểm ảnh của những khu vực đó sẽ sáng đến mức tối đa để tạo ra nhiệt độ và màn hình sẽ "tự chữa lành".
Nếu việc uốn cong màn hình là an toàn, các cảm biến sẽ xác định khu vực nào cần được làm nóng. Sau đó, các điểm ảnh của những khu vực đó sẽ sáng đến mức tối đa để tạo ra nhiệt độ và màn hình sẽ "tự chữa lành".
Một phương pháp khác được đưa ra là màn hình gập lại sẽ sử dụng lớp bảo vệ màn hình để làm nóng màn hình.
Một phương pháp khác được đưa ra là màn hình gập lại sẽ sử dụng lớp bảo vệ màn hình để làm nóng màn hình.
Một thông tin trước đây cũng cho biết Apple đang thử nghiệm một phiên bản màn hình có thể gập lại khác có thể giải quyết vấn đề nếp gấp. Công nghệ này sẽ hoạt động bằng cách phát triển một ‘khoảng trống’ giữa bản lề, màn hình sẽ nằm yên.
Một thông tin trước đây cũng cho biết Apple đang thử nghiệm một phiên bản màn hình có thể gập lại khác có thể giải quyết vấn đề nếp gấp. Công nghệ này sẽ hoạt động bằng cách phát triển một ‘khoảng trống’ giữa bản lề, màn hình sẽ nằm yên.
Tin đồn về việc Apple đang phát triển iPhone màn hình gập đã xuất hiện từ lâu, và gần đây còn có thông tin khẳng định rằng LG đang phát triển màn hình linh hoạt cho Apple.
Tin đồn về việc Apple đang phát triển iPhone màn hình gập đã xuất hiện từ lâu, và gần đây còn có thông tin khẳng định rằng LG đang phát triển màn hình linh hoạt cho Apple.
Chuyên gia phân tích Ming-Chi Kuo cho biết iPhone màn hình gập có thể sẽ được ra mắt vào năm 2023, với kích thước màn hình 7,5 - 8 inch.
Chuyên gia phân tích Ming-Chi Kuo cho biết iPhone màn hình gập có thể sẽ được ra mắt vào năm 2023, với kích thước màn hình 7,5 - 8 inch.
Theo ông Kuo thì hiện tại vẫn chưa phải là thời điểm thích hợp để Apple cho ra mắt một chiếc iPhone màn hình gập. Thiết kế màn hình gập hiện tại vẫn chưa được thống nhất, có vẻ như Apple muốn chờ đợi thêm để tìm ra được một thiết kế hoàn thiện nhất.
Theo ông Kuo thì hiện tại vẫn chưa phải là thời điểm thích hợp để Apple cho ra mắt một chiếc iPhone màn hình gập. Thiết kế màn hình gập hiện tại vẫn chưa được thống nhất, có vẻ như Apple muốn chờ đợi thêm để tìm ra được một thiết kế hoàn thiện nhất.
Theo đánh giá của chuyên gia phân tích này, iPhone màn hình gập sẽ mở rộng sẽ có kích thước tương đương với iPad mini. Do đó, Apple có thể sẽ tiếp cận phân khúc mới mẻ này với một chiếc smartphone có kích thước thông thường.
Theo đánh giá của chuyên gia phân tích này, iPhone màn hình gập sẽ mở rộng sẽ có kích thước tương đương với iPad mini. Do đó, Apple có thể sẽ tiếp cận phân khúc mới mẻ này với một chiếc smartphone có kích thước thông thường.
Và smartphone này sẽ mở rộng ra theo chiều ngang thay vì thiết kế gập theo chiều dọc như Motorola Razr.
Và smartphone này sẽ mở rộng ra theo chiều ngang thay vì thiết kế gập theo chiều dọc như Motorola Razr.

GALLERY MỚI NHẤT

Hàng nghìn người hưởng ứng “Hành động Xanh - Chọn tương lai Xanh”

Hàng nghìn người hưởng ứng “Hành động Xanh - Chọn tương lai Xanh”

Sáng 4/4, hàng nghìn người dân và thanh niên trên khắp cả nước cùng tham gia hoạt động dọn dẹp vệ sinh khu phố và thu gom đồ dùng cũ, hưởng ứng lời kêu gọi “Hành động Xanh - Chọn tương lai Xanh” do Quỹ Vì Tương lai xanh do Tập đoàn Vingroup phát động. Đây là một trong những hoạt động tiêu biểu mở màn cho chuỗi chiến dịch “Thứ 4 Ngày Xanh” được Quỹ triển khai xuyên suốt năm 2026 với thông điệp “Hành động Xanh - Chọn tương lai Xanh”.