BYD Destroyer 05 và Cruiser 05 "giá mềm" sắp bán tại Việt Nam

BYD Destroyer 05 và Cruiser 05 "giá mềm" sắp bán tại Việt Nam

Sau 1 năm, cặp đôi xe plug-in hybrid của BYD là Destroyer 05 và Cruiser 05 lại tiếp tục được đăng ký bảo hộ kiểu dáng công nghiệp tại Việt Nam.

Vào hồi tháng 5/2022, thương hiệu ôtô Trung Quốc BYD đã bất ngờ đăng ký bảo hộ kiểu dáng công nghiệp cho 2 mẫu xe có tên BYD Destroyer 05 và Cruiser 05 ở Việt Nam. Sau 1 năm, 2 mẫu xe này một lần nữa được đăng ký bảo hộ kiểu dáng công nghiệp tại Việt Nam. Rất có thể đây là 2 mẫu xe mà BYD sẽ bán ở Việt Nam trong tương lai.
Vào hồi tháng 5/2022, thương hiệu ôtô Trung Quốc BYD đã bất ngờ đăng ký bảo hộ kiểu dáng công nghiệp cho 2 mẫu xe có tên BYD Destroyer 05 và Cruiser 05 ở Việt Nam. Sau 1 năm, 2 mẫu xe này một lần nữa được đăng ký bảo hộ kiểu dáng công nghiệp tại Việt Nam. Rất có thể đây là 2 mẫu xe mà BYD sẽ bán ở Việt Nam trong tương lai.
Vào hồi đầu tháng 5/2023 vừa qua, BYD đã xác nhận sẽ xây dựng nhà máy lắp ráp ôtô ở Việt Nam để phục vụ thị trường trong nước và xuất khẩu sang khu vực Đông Nam Á. Tuy nhiên, phát ngôn viên của BYD vẫn chưa cung cấp thông tin về những mẫu xe mà BYD sẽ lắp ráp và phân phối ở Việt Nam.
Vào hồi đầu tháng 5/2023 vừa qua, BYD đã xác nhận sẽ xây dựng nhà máy lắp ráp ôtô ở Việt Nam để phục vụ thị trường trong nước và xuất khẩu sang khu vực Đông Nam Á. Tuy nhiên, phát ngôn viên của BYD vẫn chưa cung cấp thông tin về những mẫu xe mà BYD sẽ lắp ráp và phân phối ở Việt Nam.
Thuộc dòng sản phẩm Warship, lấy cảm hứng từ các loại chiến hạm, của BYD, Destroyer 05 hiện đã được bán ra ở thị trường Trung Quốc. Ra mắt trong triển lãm Ô tô Quảng Châu 2021, BYD Destroyer 05 là sedan hạng C với chiều dài 4.780 mm, chiều rộng 1.837 mm, chiều cao 1.495 mm và chiều dài cơ sở 2.718 mm.
Thuộc dòng sản phẩm Warship, lấy cảm hứng từ các loại chiến hạm, của BYD, Destroyer 05 hiện đã được bán ra ở thị trường Trung Quốc. Ra mắt trong triển lãm Ô tô Quảng Châu 2021, BYD Destroyer 05 là sedan hạng C với chiều dài 4.780 mm, chiều rộng 1.837 mm, chiều cao 1.495 mm và chiều dài cơ sở 2.718 mm.
Trên đầu xe, BYD Destroyer 05 sở hữu lưới tản nhiệt không viền cỡ lớn với những nan nằm ngang và cụm đèn pha LED mượt mà, tích hợp dải đèn LED định vị ban ngày. Ở hai góc đầu xe còn có khe gió nằm dọc trong khi hốc gió trung tâm có thiết kế hẹp.
Trên đầu xe, BYD Destroyer 05 sở hữu lưới tản nhiệt không viền cỡ lớn với những nan nằm ngang và cụm đèn pha LED mượt mà, tích hợp dải đèn LED định vị ban ngày. Ở hai góc đầu xe còn có khe gió nằm dọc trong khi hốc gió trung tâm có thiết kế hẹp.
Bên sườn, mẫu sedan hạng C này sở hữu nóc dốc về phía sau theo phong cách xe fastback, tương tự đối thủ Honda Civic, và vành hợp kim đa chấu phối 2 màu. Phía sau xe xuất hiện đèn hậu có thiết kế xuyên suốt, nằm vắt ngang bên dưới cánh gió nhỏ tích hợp vào nắp cốp. Thêm vào đó là khe gió giả ở hai góc cản sau và cụm đèn nằm hai bên giá lắp biển số xe.
Bên sườn, mẫu sedan hạng C này sở hữu nóc dốc về phía sau theo phong cách xe fastback, tương tự đối thủ Honda Civic, và vành hợp kim đa chấu phối 2 màu. Phía sau xe xuất hiện đèn hậu có thiết kế xuyên suốt, nằm vắt ngang bên dưới cánh gió nhỏ tích hợp vào nắp cốp. Thêm vào đó là khe gió giả ở hai góc cản sau và cụm đèn nằm hai bên giá lắp biển số xe.
Với chiều dài cơ sở khá lớn, BYD Destroyer 05 mang đến không gian nội thất rộng rãi cho hành khách. Nội thất của xe được bọc da phối màu tương phản đồng thời có những điểm nhấn như viền ghế, viền cửa gió điều hòa hay chỉ khâu trên bệ tì tay trung tâm và tapi cửa.
Với chiều dài cơ sở khá lớn, BYD Destroyer 05 mang đến không gian nội thất rộng rãi cho hành khách. Nội thất của xe được bọc da phối màu tương phản đồng thời có những điểm nhấn như viền ghế, viền cửa gió điều hòa hay chỉ khâu trên bệ tì tay trung tâm và tapi cửa.
Trước mặt người lái xuất hiện vô lăng 3 chấu vát đáy, tích hợp phím chức năng, bảng đồng hồ kỹ thuật số 8,8 inch và màn hình cảm ứng trung tâm 15,6 inch đặt nổi có thể xoay ngang hoặc dọc. Bên cạnh đó là núm xoay chuyển số, phanh tay điện tử, khởi động nút bấm, điều hòa tự động, cửa sổ trời và đèn viền LED.
Trước mặt người lái xuất hiện vô lăng 3 chấu vát đáy, tích hợp phím chức năng, bảng đồng hồ kỹ thuật số 8,8 inch và màn hình cảm ứng trung tâm 15,6 inch đặt nổi có thể xoay ngang hoặc dọc. Bên cạnh đó là núm xoay chuyển số, phanh tay điện tử, khởi động nút bấm, điều hòa tự động, cửa sổ trời và đèn viền LED.
"Trái tim" của Destroyer 05 là hệ truyền động plug-in hybrid DM-i của BYD, bao gồm máy xăng 4 xi-lanh, dung tích 1.5L, sản sinh công suất tối đa 109 mã lực và mô-men xoắn cực đại 135 Nm. Động cơ này đi kèm với 1 hoặc 2 mô-tơ điện, cho tổng công suất lần lượt là 180 mã lực và 197 mã lực.
"Trái tim" của Destroyer 05 là hệ truyền động plug-in hybrid DM-i của BYD, bao gồm máy xăng 4 xi-lanh, dung tích 1.5L, sản sinh công suất tối đa 109 mã lực và mô-men xoắn cực đại 135 Nm. Động cơ này đi kèm với 1 hoặc 2 mô-tơ điện, cho tổng công suất lần lượt là 180 mã lực và 197 mã lực.
Ngoài ra, xe còn có các loại pin khác nhau, mang đến quãng đường di chuyển từ 55 - 120 km mà không cần dùng đến động cơ xăng. Nhờ đó, BYD Destroyer 05 sở hữu lượng xăng tiêu thụ trung bình chỉ 3,8 lít/100 km.
Ngoài ra, xe còn có các loại pin khác nhau, mang đến quãng đường di chuyển từ 55 - 120 km mà không cần dùng đến động cơ xăng. Nhờ đó, BYD Destroyer 05 sở hữu lượng xăng tiêu thụ trung bình chỉ 3,8 lít/100 km.
Tại thị trường Trung Quốc, BYD Destroyer 05 hiện có giá từ 101.800 - 157.800 Nhân dân tệ (khoảng 336 - 521 triệu đồng). Trái ngược với Destroyer 05, BYD Cruiser 05 hiện vẫn chưa ra mắt ở thị trường Trung Quốc. Thay vào đó, mẫu xe này mới được đăng ký bảo hộ kiểu dáng công nghiệp và chạy thử tại Trung Quốc.
Tại thị trường Trung Quốc, BYD Destroyer 05 hiện có giá từ 101.800 - 157.800 Nhân dân tệ (khoảng 336 - 521 triệu đồng). Trái ngược với Destroyer 05, BYD Cruiser 05 hiện vẫn chưa ra mắt ở thị trường Trung Quốc. Thay vào đó, mẫu xe này mới được đăng ký bảo hộ kiểu dáng công nghiệp và chạy thử tại Trung Quốc.
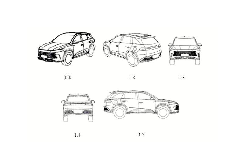
Theo một số nguồn tin, BYD Cruiser 05 sẽ sở hữu chiều dài cơ sở khoảng 2.900 mm và được định vị trong phân khúc SUV hạng trung. Tuy thuộc thuộc dòng sản phẩm Ocean lấy cảm hứng từ đại dương nhưng mẫu SUV này lại sở hữu phong cách thiết kế khá giống với BYD Destroyer 05. Có thể thấy rõ điều này qua thiết kế lưới tản nhiệt, đèn pha, cản trước, đèn hậu và cản sau của xe...
Theo một số nguồn tin, BYD Cruiser 05 sẽ sở hữu chiều dài cơ sở khoảng 2.900 mm và được định vị trong phân khúc SUV hạng trung. Tuy thuộc thuộc dòng sản phẩm Ocean lấy cảm hứng từ đại dương nhưng mẫu SUV này lại sở hữu phong cách thiết kế khá giống với BYD Destroyer 05. Có thể thấy rõ điều này qua thiết kế lưới tản nhiệt, đèn pha, cản trước, đèn hậu và cản sau của xe...
Bên trong BYD Cruiser 05 sẽ là không gian nội thất 3 hàng ghế với 7 chỗ ngồi. Ảnh chụp trên đường phố Trung Quốc cho thấy xe sở hữu không gian nội thất cũng giống với BYD Destroyer 5. Từ vô lăng, bảng đồng hồ kỹ thuật số, màn hình cảm ứng trung tâm đến cửa gió điều hòa, tất cả đều gợi liên tưởng đến BYD Destroyer 5.
Bên trong BYD Cruiser 05 sẽ là không gian nội thất 3 hàng ghế với 7 chỗ ngồi. Ảnh chụp trên đường phố Trung Quốc cho thấy xe sở hữu không gian nội thất cũng giống với BYD Destroyer 5. Từ vô lăng, bảng đồng hồ kỹ thuật số, màn hình cảm ứng trung tâm đến cửa gió điều hòa, tất cả đều gợi liên tưởng đến BYD Destroyer 5.
Tuy nhiên, khác với mẫu sedan hạng C kể trên, mẫu xe SUV BYD Cruiser 05 có thêm cần số ngắn trên cụm điều khiển trung tâm. Ghế của BYD Cruiser 05 được thiết kế theo phong cách thể thao và đi kèm đường gân màu vàng làm điểm nhấn. BYD Cruiser 05 chưa được bán ra thị trường nên giá vẫn còn là ẩn số.
Tuy nhiên, khác với mẫu sedan hạng C kể trên, mẫu xe SUV BYD Cruiser 05 có thêm cần số ngắn trên cụm điều khiển trung tâm. Ghế của BYD Cruiser 05 được thiết kế theo phong cách thể thao và đi kèm đường gân màu vàng làm điểm nhấn. BYD Cruiser 05 chưa được bán ra thị trường nên giá vẫn còn là ẩn số.
Video: Chi tiết mẫu xe sedan BYD Destroyer 05 tại Trung Quốc.

GALLERY MỚI NHẤT