Với sự kết hợp của thiết kế tiện dụng, tính năng thông minh và hiệu suất ấn tượng, máy chiếu di động Freestyle Gen 2 là một lựa chọn lý tưởng cho những ai yêu thích giải trí di động.
Với sự kết hợp của thiết kế tiện dụng, tính năng thông minh và hiệu suất ấn tượng, máy chiếu di động Freestyle Gen 2 là một lựa chọn lý tưởng cho những ai yêu thích giải trí di động.
Máy chiếu mini hiện nay được nhiều khách hàng lựa chọn, bởi những tiện ích như kích thước nhỏ gọn, giá thành rẻ. Tuy nhiên, không phải sản phẩm nào cũng có chất lượng tốt.
Máy chiếu Xming Q3 Neo sử dụng hệ thống chiếu LCD tiên tiến có tên Photon X, giúp cải thiện chất lượng hình ảnh và ngăn ngừa các vấn đề như rò rỉ ánh sáng và tích tụ bụi.
Mới đây, Xiaomi nhà sản xuất nổi tiếng trong lĩnh vực điện thoại thông minh và thiết bị thông minh, vừa cho ra mắt một sản phẩm máy chiếu mới đầy hấp dẫn, được gọi là Máy chiếu Projector Youth Edition 2S.
Máy chiếu mini là một thiết bị phổ biến trong thời đại hiện nay nhờ vào tính tiện dụng và tính di động của nó. Dưới đây sẽ là danh sách 3 máy chiếu mini chính hãng giá dưới tốt, bạn có thể tham khảo.
(Vietnamdaily) - Máy chiếu mini là một trong những thiết bị công nghệ phổ biến, được bán rộng rãi trên thị trường. Tuy nhiên, không phải sản phẩm nào cũng có chất lượng tốt.
Trên thị trường có rất nhiều thương hiệu máy chiếu mini cũng như về mẫu mã. Nhưng bạn cũng cần lưu ý một số tiêu chí sau đây để tìm cho mình một chiếc máy chiếu mini phù hợp nhất theo nhu cầu sử dụng.
Máy chiếu văn phòng là trợ thủ đắc lực giúp các cuộc họp diễn ra suôn sẻ, những bài thuyết trình thu hút hơn. Bỏ túi ngay những tiêu chí chọn mua máy chiếu văn phòng sau sẽ giúp bạn vừa tiết kiệm chi phí vừa đỡ tốn thời gian tìm hiểu.
Mùa nghỉ hè 2023, nhiều người thay vì đi du lịch thì lại chọn nghỉ ngơi tại nhà vì sợ chen lấn, lo ngại dịch bệnh. Có rất nhiều món đồ giải trí tại nhà cho gia đình, nhóm bạn, dưới đây là một số gợi ý để bạn tham khảo.
0h, nhiều hàng ăn, quán nhậu tại Hà Nội còn sáng đèn khi người hâm mộ bóng đá tập trung theo dõi trận khai mạc World Cup 2022 giữa hai đội Qatar và Ecuador.
(Kiến Thức) - Sử dụng công nghệ hiển thị HUD, Navdy là thiết bị chiếu thông tin lên kính chắn gió của xe, cho phép người lái gọi điện, nhắn tin rảnh tay.
(Kiến Thức) - Cô gái sống xa nhà, vì quá nhớ nhung những kỉ niệm ở quê hương đã quyết định dùng máy chiếu và nhiều hình ảnh trên Facebook để “tìm lại ký ức”.
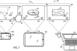
(Kiến Thức) - Văn phòng Bản quyền thương hiệu Mỹ (USPTO) vừa tiết lộ một bản quyền mà Apple đã đăng ký, qua đó cho thấy các dòng iPhone và iPad trong tương lai sẽ được tích hợp máy chiếu thu nhỏ trực tiếp bên trong.