Báo Tri thức và Cuộc sống - TIN TỨC PHỔ BIẾN KIẾN THỨC 24H
Hà Nội

KHDS VNDAILY DoiSong TamNhin
  • Trang chủ
  • Trending
  • Vusta - Tri thức KH&CN
  • Nhà khoa học
  • Kiến thức cần biết
  • Thời sự 24h
    Chính trị Xã hội Thế giới Kinh doanh Bất động sản Sống xanh Bạn đọc Doanh nghiệp
  • Khoa học & Công nghệ
    Nhà khoa học Kho tri thức Giải mã Quân sự Số hóa Xe Sống đạo
  • Đời sống & Giải trí
    Sống Khỏe Đời sống Giải trí Thể thao Du lịch Cộng đồng trẻ Sốt mạng
  • Spotlight
    Gallery Video Podcast e-Magazine
  • Xem thêm
Trending Vusta & Trí thức KH&CN Nhìn thẳng - Nói thật Kiến thức cần biết Cải chính Đọc Báo in KH&ĐS
Thời sự 24h Chính trị Xã hội Thế giới Kinh doanh Bất động sản Sống xanh Bạn đọc Doanh nghiệp
Khoa học & Công nghệ Nhà khoa học Kho tri thức Giải mã Quân sự Số hóa Xe Sống đạo
Đời sống & Giải trí Sống Khỏe Đời sống Giải trí Thể thao Du lịch Cộng đồng trẻ Sốt mạng
Spotlight Gallery Video Podcast e-Magazine

Từ khóa: bút cảm ứng

Lần đầu tiên làm tablet, Nubia lên ngay cấu hình khủng

Lần đầu tiên làm tablet, Nubia lên ngay cấu hình khủng

Hãng nubia vừa công bố tablet cao cấp Pad Pro tại Việt Nam, đánh dấu lần đầu tham gia thị trường flagship tablet với chip Snapdragon 8 gen 3 nhưng giá lại mềm.

Apple gây sốt với bút cảm ứng có thể vẽ trên không khí

Apple gây sốt với bút cảm ứng có thể vẽ trên không khí

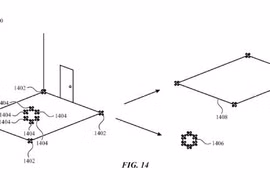
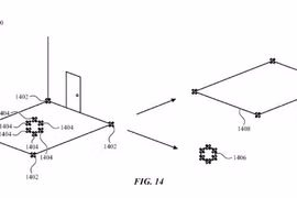
Mới đây, Apple đã đệ trình một bằng sáng chế mới, đó là bút cảm ứng có thể sử dụng trên bất kỳ mặt phẳng nào và thậm chí là cả trong không khí. Sáng chế này đang nhận được nhiều sự quan tâm của các chuyên gia.
Apple gây sốt với bút cảm ứng có thể vẽ trên không khí

Apple gây sốt với bút cảm ứng có thể vẽ trên không khí

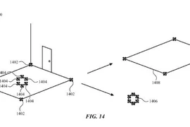
Mới đây, Apple đã đệ trình một bằng sáng chế mới, đó là bút cảm ứng có thể sử dụng trên bất kỳ mặt phẳng nào và thậm chí là cả trong không khí. Sáng chế này đang nhận được nhiều sự quan tâm của các chuyên gia.
Báo Tri thức và Cuộc sống - TIN TỨC PHỔ BIẾN KIẾN THỨC 24H

Hotline: 096 523 77 56/091 181 1111 (Toà soạn Hà Nội)
/ 091 122 12 22 (VPĐD TPHCM)

baotrithuccuocsong@kienthuc.net.vn
tkts@kienthuc.net.vn

Facebook Rss
Trending Vusta - Trí thức KH&CN Nhà khoa học Kiến thức cần biết Thời sự 24h Khoa học & Công nghệ Đời sống & Giải trí Spotlight

CƠ QUAN CHỦ QUẢN: LIÊN HIỆP CÁC HỘI KHOA HỌC VÀ KỸ THUẬT VIỆT NAM

Giấy phép: Số 536/GP-BTTTT ngày 19/11/2020 do Bộ Thông tin và Truyền thông cấp.

Tổng Biên tập: Nhà báo Nguyễn Thị Mai Hương

Phó Tổng Biên tập: Nhà báo Nguyễn Danh Châu

Tòa soạn: Số 70 Trần Hưng Đạo, phường Cửa Nam, Hà Nội.

VPĐD tại TP.HCM: Số 54 Phạm Huy Thông, phường Hạnh Thông, Thành phố Hồ Chí Minh.

DMCA.com Protection Status